YTO LX604/LX654/LX704/LX754/LX804/LX904 Tractor Parts Catalogue 08
|
序号 No. |
零件名称 Part |
零件代号 DrawingNo. |
数量 Qty. |
序号 No. |
零件名称 Part |
零件代号 DrawingNo. |
数量 Qty. |
|
差速器总成 半轴齿轮止推垫圈
半轴齿轮止推垫圈
半轴齿轮止推垫圈
半轴齿轮止推垫圈 1.4mm 半轴齿轮止推垫圈 1.8mm 行星齿轮止推垫圈差速器行星齿轮 差速器行星齿轮轴差速器右半轴齿轮差速器左半轴齿轮 轴承 32013E(2007113) |
SZ804.38.010 |
1 |
8 |
行星齿轮轴销钉差速器壳体 轴承 30211E(7211E) 行星齿轮衬套
垫片 0.5mm 垫片 0.2mm 垫片 0.15mm差速器轴承座 螺钉 M10×1.25×30 O 形密封圈 15.54×2.62 差速锁拔叉轴 差速锁拔叉弹簧差速锁合件 差速锁拔叉 卷簧销 6×40 |
4991719/1.32.428 |
1 |
|
|
1 |
497235/1.32.424 |
2 |
9 |
884997231/1.32.404 |
1 |
||
|
10 |
GB 297 |
1 |
|||||
|
497236/1.32.424 |
11 |
COB010 |
2 |
||||
|
(32×28×25×30) |
|||||||
|
5138267/1.32.424 |
12 |
4991682/1.32.022 |
按需 |
||||
|
4991683/1.32.022 |
按需 |
||||||
|
5144801/1.32.424 |
4991684/1.32.022 |
按需 |
|||||
|
13 |
4991470SZ/1.32.003 |
2 |
|||||
|
5144802/1.32.424 |
14 |
14233624/10357 |
12 |
||||
|
15 |
14457280/14618 |
1 |
|||||
|
2 |
4991658/1.32.425 |
2 |
|||||
|
3 |
SZ804.38.415 |
2 |
16 |
5123685/1.32.628 |
1 |
||
|
4 |
8A4991652SZ-2/1.32.416 |
1 |
17 |
5114581/1.32.629 |
1 |
||
|
5 |
885149551SZ/1.32.413 |
1 |
18 |
5117245/1.32.608A |
1 |
||
|
6 |
884997230SZ/1.32.414 |
1 |
19 |
5113659/1.32.625 |
1 |
||
|
7 |
GB297 |
1 |
20 |
13910670/12215 |
1 |

|
序号 No. |
零件名称 Part |
零件代号 DrawingNo. |
数量 Qty. |
序号 No. |
零件名称 Part |
零件代号 DrawingNo. |
数量 Qty. |
|
1 |
前销轴 差速锁操纵连接叉合件差速锁操纵连接叉 垫圈 10-140 HV-Zn 销 3.2×22 差速锁踏板销轴销 3.2×32 垫圈 14-140 HV 踏板销轴隔套差速锁踏板 卷簧销 4×24 差速锁踏板臂合件 销轴 10×32 后连接叉 内六角圆柱头螺钉 M10×1.25×30 |
5110601/1.32.731 |
1 |
15 |
垫圈 10-Zn 差速锁分离机构调整垫片 螺母 M10×1.25 差速锁操纵连接杆
差速锁分离机构 差速锁液压分离机构支 座 挡圈 16 分离机构衬套 差速锁操纵摇臂差速锁操纵销轴 差速锁摇臂回位弹簧 |
GB/T93-1987 |
3 |
|
2 |
5127346/1.32.724A |
1 |
16 |
5123691/1.32.739 |
按需 |
||
|
5127347/1.32.724A① |
1 |
||||||
|
3 |
GB/T848-2002 |
2 |
17 |
GB/T6173-2000 |
1 |
||
|
4 |
GB/T91-2000 |
2 |
18 |
5125950/1.32.724 |
|||
|
5 |
5125952/1.32.729 |
1 |
SZ804.38.101① |
1 |
|||
|
6 |
GB/T91-2000 |
2 |
19 |
1.32.745/5123692-1SZ |
1 |
||
|
7 |
GB/T848-2002 |
3 |
19.1 |
5123689SZ/1.32.735 |
1 |
||
|
8 |
5125953/1.32.730 |
2 |
|||||
|
9 |
885111800SZ/1.32.727 |
1 |
19.2 |
GB/T894.1-1986 |
2 |
||
|
10 |
13938070/12216 |
1 |
19.3 |
5123694/1.32.747 |
1 |
||
|
11 |
5125948SZ/1.32.721 |
1 |
19.4 |
885125123/1.32.722 |
1 |
||
|
12 |
GB882-86 |
1 |
19.5 |
5123690/1.32.737 |
1 |
||
|
13 |
5112921/1.82.226 |
1 |
19.6 |
5125755/1.32.753 |
1 |
||
|
14 |
GB/T70.1-2000 |
3 |
注:①配强压入土及三片阀时用。

|
序号 No. |
零件名称 Part |
零件代号 DrawingNo. |
数量 Qty. |
序号 No. |
零件名称 Part |
零件代号 DrawingNo. |
数量 Qty. |
|
1 |
行星轮轴挡圈行星架
内齿圈
右太阳轮轴
左太阳轮轴
行星轮轴承挡环行星齿轮
行星齿轮滚针轴承 35.7×49.7×21 滚钉轴承隔圈行星轮轴 |
4998883/1.48.173 |
2 |
10 |
驱动轮轴合件 |
SZ804.39.010 |
2 |
|
2 |
4998879/1.48.170 |
2 |
904.1.48.010①③ |
2 |
|||
|
904.1.48.170①③ |
2 |
SZ704.39C.010② |
2 |
||||
|
3 |
885125064/1.48.105 |
2 |
11 |
驱动轮轴辐板螺栓 |
44011089/1.49.512 |
16 |
|
|
904.1.48.105①③ |
2 |
12 |
直头黄油嘴 M10×1 |
GB 1152-79 |
2 |
||
|
4 |
5125062SZ/1.48.102 |
1 |
13 |
驱动轮轴密封垫圈 |
5123054/1.48.151 |
2 |
|
|
904.148.102①③ |
1 |
(装水田型时不用) |
|||||
|
LX954.39.102③ |
1 |
14 |
驱动轮轴油封 |
SZ804.39.501 |
2 |
||
|
5125063SZ/1.48.103 |
1 |
SZ704.39C.011② |
2 |
||||
|
904.1.48.103①③ |
1 |
15 |
轴承 6215E(215) |
GB/T276 |
2 |
||
|
LX954.39.101③ |
1 |
16 |
轴承 6212E(212) |
GB/T276 |
2 |
||
|
5 |
4997200/1.48.152 |
12 |
轴承 6214E(214) |
GB/T276①③ |
2 |
||
|
6 |
5125065SZ/1.48.106 |
6 |
17 |
调整垫片 4.5mm-5.8mm |
4997186/1.48.138~ |
按需 |
|
|
904.1.48.106①③ |
6 |
4997199/1.48.138 |
|||||
|
7 |
5101688/1.48.172 |
6 |
18 |
螺钉 M16×1.5×45 |
14258034/10357/04 |
2 |
|
|
6 |
19 |
驱动轮轴锁片 |
4997202/1.48.163 |
2 |
|||
|
8 |
4997217/1.48.175 |
6 |
20 |
驱动轮轴垫片 |
4997201/1.48.162 |
2 |
|
|
904.1.48.175①③ |
6 |
904.1.48.162①③ |
|||||
|
9 |
4997203SZ/1.48.171 |
6 |
21 |
最终传动壳体 |
5125857SZ/1.48.004 |
2 |
|
|
904.1.48.171①③ |
6 |
904.1.48.004①③ |
2 |
||||
|
22 |
螺母 M14×1.5-Zn.D |
GB/T6171-2000 |
20 |
||||
|
23 |
螺柱 M14×28×155 |
SZ804.39.101 |
20 |
注:①为 LX904 用 ②为LX704/LX754 水田型用③为 LX954 用

|
序号 No. |
零件名称 Part |
零件代号 DrawingNo. |
数量 Qty. |
序号 No. |
零件名称 Part |
零件代号 DrawingNo. |
数量 Qty. |
|
1 |
右太阳轮轴 |
5125062SZ/1.48.102 |
1 |
19 |
轴承盖 |
SZ804H.39.102 |
22 |
|
左太阳轮轴 |
5125063SZ/1.48.103 |
1 |
20 |
垫圈 6 |
GB/T93-1987 |
12 |
|
|
2 |
内齿圈 |
885125064/1.48.105 |
2 |
21 |
螺钉 M6×20 |
GB/T5783-2000 |
12 |
|
3 |
行星架 |
4998879/1.48.170 |
2 |
22 |
最终传动壳体 |
SZ804H.39.101 |
2 |
|
4 |
行星轮轴承挡环 |
4997200/1.48.152 |
12 |
23 |
平键 |
SZ804H.34.105 |
2 |
|
5 |
行星齿轮 |
5125065SZ/1.48.106 |
6 |
24 |
连接螺栓 |
SZ804H.34.107 |
8 |
|
6 |
滚针Φ7×21 |
5116736/1.48.172 |
228 |
25 |
垫片 20 |
GB/T849-1998 |
8 |
|
7 |
滚针轴承隔圈 |
4997217/1.48.175 |
6 |
26 |
辐板螺栓 |
SZ804H.34.106 |
16 |
|
8 |
行星轮轴 |
4997203SZ/1.48.171 |
6 |
27 |
轮毂 |
SZ804H.34.101A |
2 |
|
9 |
行星轮轴挡圈 |
4998883/1.48.173 |
2 |
28 |
轮毂上盖 |
SZ804H.34.102 |
2 |
|
10 |
垫片 4.5~5.8mm |
4997186~199/1.48.138 |
2 |
29 |
螺母 M14×1.5-Zn.D |
GB/T6171-2000 |
20 |
|
11 |
轴承 6212E(212) |
GB276 |
2 |
30 |
螺柱 M14×28×155 |
SZ804.39.101 |
20 |
|
12 |
驱动轮轴锁片 |
4997202/1.48.163 |
2 |
||||
|
13 |
螺钉 M16×1.5×45 |
14258034/10357/04 |
2 |
||||
|
14 |
驱动轮轴垫片 |
4997201/1.48/162 |
2 |
||||
|
15 |
驱动轮轴 |
SZ804H.39.103 |
2 |
||||
|
16 |
轴承 6215E(215) |
GB/T276 |
2 |
||||
|
17 |
O 型圈 118×5.3G |
GB/T3452.1-1992 |
2 |
||||
|
18 |
驱动轮轴油封 |
GB/T9877.1-1988 |
2 |
||||
|
85×110×12 |

|
序号 No. |
零件名称 Part |
零件代号 DrawingNo. |
数量 Qty. |
序号 No. |
零件名称 Part |
零件代号 DrawingNo. |
数量 Qty. |
|
1 |
右太阳轮轴 |
904.1.48.102 |
1 |
19 |
轴承盖 |
SZ804H.39.102 |
22 |
|
左太阳轮轴 |
904.1.48.103 |
1 |
20 |
垫圈 6 |
GB/T93-1987 |
12 |
|
|
2 |
内齿圈 |
904.1.48.105 |
2 |
21 |
螺钉 M6×20 |
GB/T5783-2000 |
12 |
|
3 |
行星架 |
904.1.48.170 |
2 |
22 |
最终传动壳体 |
SZ904H.39.501 |
2 |
|
4 |
行星轮轴承挡环 |
4997200/1.48.152 |
12 |
23 |
轴端卡环 |
LG1304.39.116 |
2 |
|
5 |
行星齿轮 |
904.1.48.106 |
6 |
24 |
轮毂 |
LG1304.34.101 |
2 |
|
6 |
滚针Φ7×21 |
5116736/1.48.172 |
228 |
25 |
下轴瓦合件 |
LG1304.34.011 |
2 |
|
7 |
滚针轴承隔圈 |
904.1.48.175 |
6 |
25.1 |
导向键 |
1604.34.114-1 |
2 |
|
8 |
行星轮轴 |
904.1.48.171 |
6 |
25.2 |
下轴瓦 |
LG1304.34.103-1 |
2 |
|
9 |
行星轮轴挡圈 |
4998883/1.48.173 |
2 |
26 |
螺栓 M18×70-10.9 |
GB/T5782-2000 |
12 |
|
10 |
垫片 4.5~5.8mm |
4997186~199/1.48.138 |
2 |
27 |
垫圈 18 |
1.49.540/44011091 |
12 |
|
11 |
轴承 6214E(214) |
GB276 |
2 |
28 |
上轴瓦 |
LG1304.34.102 |
2 |
|
12 |
驱动轮轴锁片 |
4997202/1.48.163 |
2 |
29 |
螺母 M14×1.5-Zn.D |
GB/T6171-2000 |
20 |
|
13 |
螺钉 M16×1.5×45 |
14258034/10357/04 |
2 |
30 |
螺柱 AM14×28×170 |
GB/T900-2000 |
20 |
|
14 |
驱动轮轴垫片 |
904.1.48/162 |
2 |
||||
|
15 |
驱动轮轴 |
SZ904H.39.502 |
2 |
||||
|
16 |
轴承 6215E(215) |
GB/T276-1994 |
2 |
||||
|
17 |
O 型圈 118×5.3G |
GB/T3452.1-1992 |
2 |
||||
|
18 |
驱动轮轴油封 |
GB/T9877.1-1988 |
2 |
||||
|
85×110×12 |

|
序号 No. |
零件名称 Part |
零件代号 DrawingNo. |
数量 Qty. |
序号 No. |
零件名称 Part |
零件代号 DrawingNo. |
数量 Qty. |
|
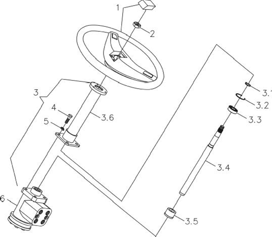
1 |
方向盘总成 |
SZ804.40.013A |
1 |
||||
|
2 |
螺母 M16×1.5 |
GB 6176-86 |
1 |
||||
|
3 |
转向立柱总成 |
SZ804.40.012A |
1 |
||||
|
3.1 |
挡圈 37 |
GB/T893.1-1986 |
1 |
||||
|
3.2 |
挡圈 20 |
GB/T894.1-1986 |
1 |
||||
|
3.3 |
轴承 1080904 |
GB 278-89 |
1 |
||||
|
3.4 |
转向轴 |
SZ804.40.101-1 |
1 |
||||
|
3.5 |
转向轴上轴承 |
SZ804.40.102 |
1 |
||||
|
3.6 |
转向立柱焊合件 |
SZ804.40.015B |
1 |
||||
|
4 |
螺栓 M10×30-Zn.D |
GB/T5783-2000 |
4 |
||||
|
5 |
垫圈 10-Zn.D |
GB/T93-1987 |
4 |
||||
|
6 |
液压转向器 |
SZ804.40.014 |
1 |


|
序号 No. |
零件名称 Part |
零件代号 DrawingNo. |
数量 Qty. |
序号 No. |
零件名称 Part |
零件代号 DrawingNo. |
数量 Qty. |
|
1 |
转向机总成 |
5124907SZ/1.62.0 |
1 |
8 |
垫圈 10 |
GB/T93-1987 |
4 |
|
5124907/1.62.0① |
1 |
9 |
垫圈 10 |
GB/T848-2002 |
4 |
||
|
1.1 |
挡圈 25 |
GB/T894.1-1986 |
1 |
10 |
垫块合件 |
5119125/1.87.038 |
4 |
|
1.2 |
挡圈 47 |
GB/T893.1-1986 |
1 |
11 |
液压转向器衬套 |
5124936/1.62.0 |
4 |
|
1.3 |
轴承 80105 |
GB 278-82 |
1 |
12 |
上 罩 |
5124923/1.62.0 |
1 |
|
1.4 |
套管合件 |
5124908/1.62.0 |
1 |
13 |
上罩密封圈 |
5130351/1.62.0 |
1 |
|
1.5 |
立柱锁紧螺管 |
5139283/1.62.0 |
1 |
14 |
方向盘固定螺母 |
SZ904.40.160 |
1 |
|
1.6 |
锥 套 |
5124917/1.62.0 |
1 |
15 |
方向盘总成 |
SZ904.40.014 |
1 |
|
1.7 |
固定支座 |
5124918/1.62.0 |
1 |
R400-3402000① |
1 |
||
|
1.8 |
转向立柱合件 |
8B885124910SZ /1.62.0 |
1 |
30 |
转向柱锁定手柄合件 |
5124925/1.62.0 |
1 |
|
8B885124910/1.62.0① |
1 |
31 |
外套管 |
5124934/1.62.0 |
1 |
||
|
1.9 |
减摩套 |
5124913/1.62.0 |
1 |
32 |
垫圈 15×45×2 |
5129834/1.62.0 |
2 |
|
1.10 |
挡圈 34 |
GB/T893.1-1986 |
1 |
33 |
磨擦片 |
5128972/1.62.0 |
4 |
|
1.11 |
转向花键轴 |
5124912/1.62.0 |
1 |
34 |
垫 圈 |
5129835/1.62.0 |
2 |
|
1.12 |
螺母 M8-Zn.D |
GB/T6814-2000 |
1 |
35 |
内套管 |
5124935/1.62.0 |
1 |
|
1.13 |
万向节 |
5146310/1.62.0 |
1 |
36 |
弹性圆柱销 5X30 |
BZ/JHX-SZ |
2 |
|
1.14 |
螺栓 M8×35-Zn.D |
GB/T5782-2000 |
1 |
37 |
方向盘定位轴 |
5124933/1.62.0 |
1 |
|
2 |
螺栓 M8×30-Zn.D |
GB/T5783-2000 |
4 |
38 |
支架销 |
5110738/1.62.061 |
2 |
|
3 |
垫圈 8-Zn.D |
GB/T7244-1987 |
4 |
39 |
垫圈 8-Zn.D |
GB/T848-2002 |
2 |
|
4 |
垫 片 |
5127283/1.62.0 |
按需 |
40 |
支架垫圈 |
5111199/1.62.058 |
4 |
|
5 |
垫 片 |
5127284/1.62.0 |
按需 |
41 |
液压转向器 |
885140382/1.63.101 |
1 |
|
6 |
液压转向器衬板 |
5124937/1.62.0 |
1 |
42 |
转向柱支架总成 |
5124930/1.62.0 |
1 |
|
7 |
螺栓 M10×30-Zn.D |
GB/T5783-2000 |
4 |
①LF80-90 4WD 老款机型用。
