YTO LX604/LX654/LX704/LX754/LX804/LX904 Tractor Parts Catalogue 07

|
序号 No. |
零件名称 |
零件代号 DrawingNo. |
数量 Qty. |
序号 No. |
零件名称 |
零件代号 DrawingNo. |
数量 Qty. |
|
1 |
弹性圆柱销 8×40 |
GB/T879.1-2000 |
2 |
13 |
自攻螺钉 ST6.3×22- C-H-Zn.D 主变速杆手柄 螺母 M10-Zn.D主变速杆合件 主变速下操纵杆主变速下操纵杆操纵杆回位弹簧传动杆弹簧隔环主变速杠杆头 螺栓 M8×16- Zn.D 垫圈 8 垫圈 8 主变速杆套 |
GB/T845-1985 |
6 |
|
2 |
弹性圆柱销 5×40 |
GB/T879.1-2000 |
2 |
||||
|
3 |
螺旋弹性销 5×30 |
13907670/12215 |
1 |
14 |
SZ804.37.109A |
1 |
|
|
4 |
主变速传动杆 |
5132479/1.29.147 |
1 |
15 |
GB/T6175-86 |
1 |
|
|
5 |
主变速外传动拨头 |
5127964/1.29.167 |
1 |
16 |
SZ804.37.050 |
1 |
|
|
6 |
支座合件 |
5127961/1.29.014 |
1 |
17 |
SZ804.37.201 |
1 |
|
|
6.1 |
主变速杆支座 |
5127960/1.29.104 |
1 |
SZ804.37.301① |
1 |
||
|
6.2 |
限位销 |
5125535/1.21.067 |
2 |
18 |
5127962/1.29.106 |
1 |
|
|
7 |
螺栓 M8×22-Zn |
GB/T5783-2000 |
3 |
19 |
5132334/1.32.293 |
1 |
|
|
20 |
5127965/1.29.168 |
1 |
|||||
|
8 |
主操纵杆密封 |
884984223/1.29.195 |
1 |
21 |
GB/T5783-2000 |
1 |
|
|
9 |
挡圈 40 |
11059976/12246 |
1 |
22 |
GB/T93-1987 |
4 |
|
|
10 |
变速杆罩垫片 |
5133521/1.29.121 |
1 |
23 |
GB/T96-85 |
1 |
|
|
11 |
变速杆罩固定圈 |
5132547SZ/1.29.120 |
1 |
24 |
5129575/1.29.119A |
1 |
|
|
12 |
主变速杆罩 |
5132031/1.29.119B |
1 |
注:①加高驾驶室用,大减速器壳体用


|
序号 No. |
零件名称 |
零件代号 DrawingNo. |
数量 Qty. |
序号 No. |
零件名称 |
零件代号 DrawingNo. |
数量 Qty. |
|
1
2 3 4
5
6
7
8 9 10 11 12 13 14 15 |
主动轴合件
中倒挡滑动齿轮主动轴止推隔环中挡主动齿轮
滚针轴承 42×47×27滚针轴承 K42×50×20轴承 6212E(212) 轴承 NJ212E(42212) 止推环 挡圈 50 挡圈 110 轴承 6205E(205) 倒挡轴垫片垫圈 10 挡圈 52倒挡惰轮倒挡轴 螺纹锁销 |
5125361SZ/1.32.110 LX954.37.021④ 885145164SZ/1.32.106 5109683/1.32.135 885125013SZ/1.32.105 SZ904.37.109③ 5109747/1.32.150 GBT5846-86③ GB/T276 GB/T283③ 5117076/1.32.134 GB/T895.1-86③ GB/T893.1-86 GB/T276① 880803205/1.32.112① GB/T93-1987① GB/T893.1-86① 5145166SZ/1.32.113① 8A5153087/1.32.112① 885152965/1.32.124 |
1 1 1 1 1 1 1 2 2 1 1 1 1 1 2 1 1 1 1 1 |
15.1 16 17 18 19 20
21 21.1
21.2
22 23 24
25 26 |
开槽螺塞 高低挡啮合套啮合套齿座 低档从动齿轮倒挡从动齿轮 小锥齿轮轴后轴承 45×100×38.25 锥齿轮副 小锥齿轮轴 大锥齿轮挡圈 42 倒挡从动齿轮半圆环 小锥齿轮轴锁紧螺母 M45×1.5 锥齿轮轴螺母垫圈中挡从动齿轮 |
880803204/1.32 5125010SZ/1.32.188 5125009SZ/1.32.169 5125007/1.32.117514 5165SZ/1.32.118 5138664/1.32.139
5138663SZ/1.32.130 5138661SZ/1.32.103 LX954.38.101④ 5138662SZ/1.32.108 LX954.38.102④ 1068976/12245 5127762/1.32.173 885117744/1.32.148
5119261/1.32.146 5125005SZ/1.32.111 SZ904.37.110③ |
1 1 1 1 1 1
1 1 1 1 1 1 1 1
1 1 1 |
注:①装逆行器时不用该零件。②装逆行器时用零件③LX904、LX954 其它选装高速时用。④LX954 用。
|
序号 No. |
零件名称 |
零件代号 DrawingNo. |
数量 Qty. |
序号 No. |
零件名称 |
零件代号 DrawingNo. |
数量 Qty. |
|
27
28 |
小锥齿轮轴前轴承 45×100×20.75 锥齿轮调整垫片 1.90mm锥齿轮调整垫片 1.95mm锥齿轮调整垫片 2.00mm锥齿轮调整垫片 2.05mm锥齿轮调整垫片 2.10mm锥齿轮调整垫片 2.15mm锥齿轮调整垫片 2.20mm锥齿轮调整垫片 2.25mm锥齿轮调整垫片 2.30mm锥齿轮调整垫片 2.35mm锥齿轮调整垫片 2.40mm锥齿轮调整垫片 2.45mm锥齿轮调整垫片 2.50mm锥齿轮调整垫片 1.85mm锥齿轮调整垫片 2.55mm锥齿轮调整垫片 2.60mm锥齿轮调整垫片 2.65mm锥齿轮调整垫片 2.70mm |
5130990/1.32.138B
5111859/1.28.139 5111860/1.28.139 5111861/1.28.139 5111862/1.28.139 5111863/1.28.139 5111864/1.28.139 5111865/1.28.139 5111866/1.28.139 5111867/1.28.139 5111868/1.28.139 5111869/1.28.139 5111870/1.28.139 5111871/1.28.139 5125098/1.28.139 5125099/1.28.139 5125100/1.28.139 5125101/1.28.139 5125102/1.28.139 |
1
1 |
29 30 31 32 33 34 |
螺栓 M12×1.25×30 螺钉M10×1.25×16 副变速主动轴止推环滑动齿套 从动齿轮隔套 倒档轴合件 |
14274534/10357/04 14359920/10356① SZ904.37.111③ 88512580/1.32.116② 5128016/1.32.161② SZ804.37.052① |
12 1 1 1 1 1 |
注:①装逆行器时不用该零件。②逆行器用。③LX904、LX954 其它选装高速时用。④LX954 用。


|
序号 No. |
零件名称 |
零件代号 DrawingNo. |
数量 Qty. |
序号 No. |
零件名称 |
零件代号 DrawingNo. |
数量 Qty. |
|
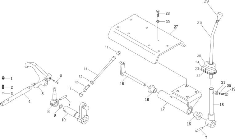
1 |
弹性圆柱销 8×40 |
GB/T879.1-2000 |
2 |
14 |
操纵杆回位弹簧 |
5127962/1.29.106 |
1 |
|
2 |
弹性圆柱销 5×40 |
GB/T879.1-2000 |
2 |
15 |
弹簧隔环 |
5132334/1.32.293 |
1 |
|
3 |
操纵传动杆 |
5127969/1.32.220 |
1 |
16 |
螺旋弹性销 5×30 |
13907670/12215 |
1 |
|
4 |
操纵杆支座合件 |
5127968/1.32.217 |
17 |
操纵拨头 |
5127970/1.32.222 |
1 |
|
|
4.1 |
操纵杆支座 |
5127967/1.32.217 |
1 |
18 |
换挡拨头 |
8A5129522/1.29.004 |
2 |
|
4.2 |
限位销 |
5125535/1.21.067 |
2 |
19 |
螺旋弹性销 5×32 |
13907770/12215 |
4 |
|
5 |
主操纵杆密封 |
884984223/1.29.195 |
1 |
20 |
弹 簧 |
884994342/1.29.031 |
2 |
|
6 |
挡圈 40 |
11059976/12245 |
1 |
21 |
钢球 11/32in |
GB/T308-84 |
2 |
|
7 |
主变速杆套 |
5129575/1.29.119A |
1 |
22 |
中倒挡滑杆 |
5127897/1.32.211 |
1 |
|
8 |
螺栓 M8×22-Zn |
GB/T5783-2000 |
3 |
23 |
互锁销 |
5110264/1.29.041 |
1 |
|
9 |
副变速手柄 |
SZ804.37.112B |
1 |
24 |
中倒挡拨叉 |
5125822/1.32.216 |
1 |
|
SZ804.37.112C(英文) |
1 |
25 |
高低挡拨叉 |
5125823/1.32.215 |
1 |
||
|
26 |
开槽螺塞 M12×1.25 |
10152314/14548 |
1 |
||||
|
10 |
螺母 M10-Zn.D |
GB/T6175-86 |
1 |
27 |
高低档滑杆 |
5127898/1.32.212 |
1 |
|
11 |
副变速杆合件 |
SZ804.37.051 |
1 |
28 |
螺栓 M8×16-Zn.D |
GB/T5783-2000 |
1 |
|
12 |
副变速下操纵杆 |
SZ804.37.202 |
1 |
29 |
垫圈 8-Zn.D |
GB/T93-1987 |
1 |
|
SZ804.37.302① |
1 |
30 |
平垫圈 8 |
SZ804.37.513 |
1 |
||
|
13 |
外操纵传动拨头 |
5127971/1.32.229 |
1 |
注:①加高驾驶室用,装大减速器壳体时用。

|
序号 No. |
零件名称 |
零件代号 DrawingNo. |
数量 Qty. |
序号 No. |
零件名称 |
零件代号 DrawingNo. |
数量 Qty. |
|
1 |
带高档的主离合器轴 |
SZ804.37A.012③ |
1 |
11 |
从动齿轮轴 |
885117557/1.32.322 |
1 |
|
合件 |
12 |
从动齿轮前隔环 |
5117563/1.32.339 |
1 |
|||
|
带附加减速器的主离 |
5125579/1.32.308A④ |
1 |
13 |
O 形圈 2.62×26.64 |
14618/14457980 |
1 |
|
|
合器轴合件 |
14 |
从动齿轮轴止动垫片 |
5117561/1.32.338 |
1 |
|||
|
2 |
挡 圈 65 |
GB/T894.1-1986 |
4 |
15 |
螺 栓 M12×1.25×25 |
GB/T/T5786-2000 |
1 |
|
3 |
高速档主动齿轮 |
LF804.37.101③ |
4 |
16 |
锁片垫圈 |
5117562/1.32.338A |
1 |
|
4 |
换向从动齿轮 |
885121042/1.34.115⑤ |
1 |
17 |
垫圈 12 |
GB/T 854-1988 |
1 |
|
滑动齿轮 |
885121041/1.32.321② |
1 |
18 |
O 形密封圈 |
14457980/14618① |
1 |
|
|
5 |
附加减速器主动轴 |
885121039/1.28.101B |
4 |
2.62×26.64 |
|||
|
6 |
从动轴轴承盖 |
5117552/1.28.127 |
4 |
19 |
从动齿轮后隔环 |
5117560/1.32.336① |
1 |
|
7 |
从动齿轮后隔圈 |
5117560/1.32.336 |
4 |
20 |
轴承 K323826 |
GB/T5946-1986① |
1 |
|
8 |
滚针轴承 K323826 |
JB/T7918-97 |
2 |
21 |
换向惰轮轴 |
5117567/1.34.104① |
1 |
|
9 |
高速档从动齿轮 |
LF804.37.102③ |
1 |
22 |
换向惰轮 |
885117569/1.34.117① |
1 |
|
换向双联齿轮 |
885139362/1.34.120① |
1 |
23 |
惰轮隔环 |
5117570/1.34.127① |
1 |
|
|
从动齿轮 |
885139361/1.32.320② |
1 |
24 |
挡圈 32 |
GB/T894.1-86① |
1 |
|
|
10 |
滚针轴承挡圈 |
5137228/1.32.379 |
2 |
注:①逆行器专用。②爬行档专用③增速器器专用④逆行器、爬行档用⑤逆行器、增速器用。

|
序号 No. |
零件名称 |
零件代号 DrawingNo. |
数量 Qty. |
序号 No. |
零件名称 |
零件代号 DrawingNo. |
数量 Qty. |
|
1 |
内六角螺钉 |
SZ804.37B.509 |
1 |
16 |
右制动器踏板轴衬套 |
5110545/1.68.011A |
2 |
|
M10×1.25×15 |
17 |
铰支架合件 |
5126304/1.32.372 |
1 |
|||
|
2 |
弹 簧 |
884994342/1.29.031 |
1 |
18 |
变速杆下接杆合件 |
5139366/1.32.374A① |
1 |
|
3 |
钢球 8.7312 G100b |
GB/T 308-2002 |
1 |
SZ804.37B.050② |
1 |
||
|
4 |
附加减速器滑杆 |
5121674/1.32.342 |
1 |
19 |
螺栓 M8×40-Zn.D |
GB/T5783-2000 |
1 |
|
5 |
附加减速器拨叉 |
885121675/1.32.343 |
1 |
20 |
垫圈 8 |
GB/T93-1987 |
9 |
|
6 |
弹性圆柱销 D=5×35 |
GB/T 879.1-2000 |
1 |
21 |
螺母 M8-Zn.D |
GB/T6175-2000 |
1 |
|
7 |
弹性圆柱销 D=8×35 |
GB/T 879.1-2000 |
2 |
22 |
自攻螺钉 |
GB/T845-1985 |
4 |
|
8 |
拨 头 |
5139275/1.32.345 |
1 |
ST6.3×22-C-H |
|||
|
9 |
O 形密封圈 |
14457280/14618 |
1 |
23 |
防尘罩固定板垫圈 |
8808087101/1.87.5 |
1 |
|
2.62×15.54 |
24 |
防尘罩固定板 |
5130833/1.87.5 |
1 |
|||
|
10 |
操纵摆轴合件 |
5139196 /1.32.362A |
1 |
25 |
换向器操纵杆防尘罩 |
885132032/1.87.5 |
1 |
|
11 |
夹头 15 |
10125674-13130/03 |
2 |
26 |
换向器操纵杆焊合件 |
885130083-1/ |
1 |
|
12 |
球头连接盖 15 |
10124610-13130/01 |
2 |
1.34.261C |
|||
|
13 |
螺母 M10×1.25 |
GB/T6173-86 |
2 |
27 |
侧面操纵机构横架 |
5129404/1.32.370 |
1 |
|
14 |
连接杆合件 |
5129408/1.32.385A |
1 |
28 |
螺栓 M8×20 |
GB/T5783-2000 |
8 |
|
15 |
小轴焊合件 |
5139367/1.32.386A |
1 |
29 |
换向器操纵手柄 |
SZ804.37B.503③ |
1 |
|
爬行档手柄 |
SZ804.37F.501④ |
1 |
|||||
|
高速车手柄 |
SZ804.37J.501⑤ |
1 |
注:①低驾驶室用②加高驾驶室用,装大减速器壳体时用。③逆行器用。④爬行档用⑤增速器用。

