YTO 800/804/900/904 Tractor Parts Catalogue 07

|
No. |
Parts name |
Drawing No. |
Qty. |
No. |
Parts name |
Drawing No. |
Qty. |
|
1 2 |
O seal ring 15.54×2.62 Shift fork shaft,differential lock |
14457280/14618 5123685/1.32.628 |
1 1 |
4 5 6 |
Differential lock assembly Shift fork,differential lock Coil spring pin 6×40 |
5117245/1.32.608A 5113659/1.32.625 13910670/12215 |
1 1 1 |
|
3 |
Shift fork |
5114581/1.32.629 |
1 |
||||
|
spring,differential lock |

|
No. |
Parts name |
Drawing No. |
Qty. |
No. |
Parts name |
Drawing No. |
Qty. |
|
1 |
Retaining ring 16 Control rocker arm, differential lock Return spring,differential lock rocker arm Bushing,release mechanism Hydraulic release mechanism support,differential lock Control pin shaft,differential lock Bushing,differential lock release mechanism |
GB 894.1-86 |
2 |
8 |
Bayonet lock |
5128094/1.32.748 |
1 |
|
2 |
88512123/1.32.722 |
1 |
9 |
Needle roller 2×11.8Ⅰ |
GB 309-77 |
1 |
|
|
10 |
Oil cylinder case,releasee mechanism |
5127340/1.32.752 |
1 |
||||
|
3 |
5125755/1.32.753 |
1 |
11 |
Washer 8-Zn.D |
GB 93-87 |
2 |
|
|
12 |
Bolt M8×20-Zn.D |
GB 70-85 |
2 |
||||
|
4 |
5123694/1.32.747 |
1 |
13 |
Intermediate piston |
5115124/1.32.852 |
1 |
|
|
5 |
5123689SZ/1.32.735 |
1 |
14 |
O ring 12.37×2.62 |
14457081/14618 |
2 |
|
|
15 |
O ring 4.47×1.78 |
14452581/14618 |
2 |
||||
|
6 |
5123690/1.32.737 |
1 |
16 |
Oil cylinder piston |
5115125/1.32.853 |
1 |
|
|
17 |
Spring, oil cylinder piston |
5118126/1.32.854 |
1 |
||||
|
7 |
5123693/1.32.746 |
1 |
18 |
Square section seal washer |
10263460/14607 |
1 |
|
|
22×28×1.5 |
|||||||
|
19 |
Oil cylinder screw plug |
885115127/1.32.855 |
1 |

|
No. |
Parts name Part |
Drawing No. |
Qty. |
No. |
Parts name Part |
Drawing No. |
Qty. |
|
1 2 3 |
Final transmitsion case Nut M14×1.5- Zn.D螺柱 M14×28×155 |
5125857SZ/1.48.004 GB 6171-86 SZ804.39.101 |
2 20 20 |
4 4.1 4.2 |
Brake case assy Brake case Dowel pin 10×19.5 |
5153477SZ/1.48.015 5153476SZ/1.48.015 5110094/1.48.050 |
2 2 4 |


|
No. |
Parts name Part |
Drawing No. |
Qty. |
No. |
Parts name Part |
Drawing No. |
Qty. |
|
1 |
Retaining ring,planet gear |
4998883/1.48.173 |
2 |
11 |
Bolt,disk spoke |
44011089/1.49.512 |
16 |
|
shaft |
12 |
Grease nipple M10×1 |
GB 1152-79 |
2 |
|||
|
2 |
Planet gear carrier |
4998879/1.48.170 |
2 |
13 |
Seal ring,driving wheel shaft |
5123054/1.48.151 |
2 |
|
904.1.48.170 |
2 |
14 |
Oil seal,driving wheel shaft |
SZ804.39.501 |
2 |
||
|
3 |
Ring gear |
885125064/1.48.105 |
2 |
15 |
Bearing 215 |
GB 276-1994 |
2 |
|
904.1.48.105① |
2 |
16 |
Bearing 212 |
GB 276-1994 |
2 |
||
|
4 |
Sun gear shaft,right hand |
5125062SZ/1.48.102 |
1 |
Bearing 214 |
GB 276-1994① |
2 |
|
|
904.148.102① |
1 |
17 |
Adjusting washer 4.5mm-5.8mm |
4997186/1.48.138~ |
As needed |
||
|
Sun gear shaft,left hand |
5125063SZ/1.48.103 |
1 |
4997199/1.48.138 |
||||
|
904.1.48.103① |
1 |
18 |
Screw M16×1.5×45 |
14258034/10357/04 |
2 |
||
|
5 |
Snap ring,planet gear bearing |
4997200/1.48.152 |
12 |
19 |
Lock shim,driving wheel shaft |
4997202/1.48.163 |
2 |
|
6 |
Planet gear |
5125065SZ/1.48.106 |
6 |
20 |
Shim,driving wheel shaft |
4997201/1.48.162 |
2 |
|
904.1.48.106① |
6 |
904.1.48.162① |
|||||
|
7 |
Needle bearing(35.7×49.7×21 |
5101688/1.48.172 |
6 |
||||
|
)planet gear |
|||||||
|
8 |
Spacer ring,needle bearing |
4997217/1.48.175 |
6 |
||||
|
904.1.48.175① |
6 |
||||||
|
9 |
Shaft,planet gear |
4997203SZ/1.48.171 |
6 |
||||
|
904.1.48.171① |
6 |
||||||
|
10 |
Driving wheel shaft assy |
SZ804.39.010 |
2 |
||||
|
904.1.48.010① |
2 |
Note:①ForX904

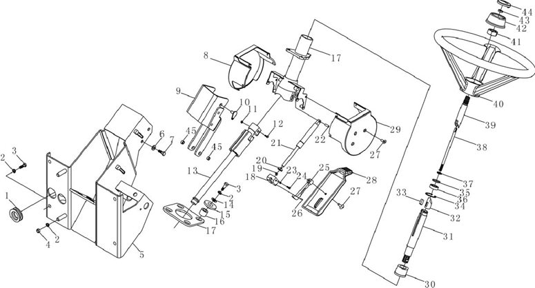
|
No. |
Parts name |
Drawing No. |
Qty. |
No. |
Parts name |
Drawing No. |
Qty. |
|
1 |
Outlet joint seal,brake pipe line |
804C.40.137 |
2 |
22 |
Pin 8m6×35 |
GB/T119.1-2000 |
1 |
|
2 |
Washer 10 |
GB/T93-1987 |
10 |
23 |
Sleeve |
804C.40.130 |
2 |
|
3 |
Bolt M10×30-Zn.D |
GB/T5783-2000 |
8 |
24 |
Bolt M8×16-Zn.D |
GB/T5783-2000 |
2 |
|
4 5 6 |
Nut M10-Zn.D Bracket weldment,steering column Washer 10 |
GB/T6170-2000 804C.40.018 GB/T97.1-2002 |
2 1 10 |
25 26 27 28 |
Handle bracket Pin 3×32 Screw M6×12-Zn.D Adjusting handle,air spring |
804C.40.117 GB/T879.1-20001 GB/T820-2000 804C.40.116 |
1 1 7 1 |
|
7 |
Bolt M10×20-Zn.D |
GB/T5783-2000 |
4 |
29 |
Protecting cover |
804C.40.127 |
1 |
|
8 |
Cover,right half |
LA2004.58.139 |
1 |
30 |
Bearing,steering shaft |
SZ804.40.102 |
1 |
|
9 |
Upper bracket assy,pneumatic spring |
804C.40.019 |
1 |
31 |
Inner sleeve assy |
804C.40.014 |
1 |
|
10 |
Joint pin assy |
804C.40.021 |
2 |
32 |
Locking block |
804C.40.131 |
1 |
|
11 |
Nut M8-Zn.D |
GB/T6184-2000 |
1 |
33 |
Key |
804C.40.138 |
1 |
|
12 |
Bolt M8×35-Zn.D |
GB/T5782-2000 |
1 |
34 |
Retaining ring 37 |
GB/T893.1-1986 |
1 |
|
13 14 15 |
Universal joint Washer 10 Cushion block assy |
804C.40.017 GB/T97.1-2002 5119125/1.87.038 |
1 10 4 |
35 36 37 38 |
Bearing 61805-2RZ Spacer sleeve Retaining ring 25 Locking shaft |
GB/T276-1994 804C.40.129 GB/T894.1-1986 804C.40.108 |
1 1 1 1 |
|
16 |
Sleeve,hydraulic steering device |
5124936/1.62.0 |
4 |
39 |
Steering shaft |
804C.40.107 |
1 |
|
17 |
Plate,hydraulic steering device |
5124937/1.62.0 |
1 |
40 |
Steering wheel assy |
804C.40.016 |
1 |
|
18 |
Check block,air spring |
804C.40.115 |
1 |
41 |
Nut M16×1.5-Zn.D |
GB/T6173-2000 |
1 |
|
19 |
Valve return spring,air spring |
804C.40.118 |
1 |
42 |
Knob,steering wheel |
804C.40.111 |
1 |
|
20 |
Nut M10×1-Zn.D |
GB/T6173–2000 |
1 |
43 |
Nut M8×1 |
GB/T6171-2000 |
1 |
|
21 |
Air spring |
804C.40.015 |
1 |
44 45 |
Cover,knob Sleeve |
804C.40.112 804C.40.130 |
1 2 |

