YTO 800/804/900/904 Tractor Parts Catalogue 08
|
No. |
Parts name |
Drawing No. |
Qty. |
No. |
Parts name |
Drawing No. |
Qty. |
|
1 |
Steering wheel assy |
804C.40.011 |
1 |
20 |
Oil outlet pipe assy,steering |
804C-2.40.011 |
1 |
|
2 |
Hydraulic steering |
885140382/1.63.101 |
1 |
pump |
|||
|
(SZ804.40.060)E-Mark |
1 |
21 |
Oil outlet pipe assyⅠ,steering |
804C-2.40.013 |
1 |
||
|
Certification |
pump |
||||||
|
3 |
Pipe jointer |
1204-1.40.113 |
3 |
22 |
Oil outlet pipe assyⅡ,steering |
804C-2.40.014 |
1 |
|
4 |
Rectangular section seal 21.2×26×2 |
44019496/1.63.898 |
3 |
pump |
|||
|
5 |
Hydraulic oil return pipe joint |
885126687/1.63 |
1 |
23 |
Oil pipe to steering oil tank |
804C-2.40.016 |
2 |
|
assy,steering device |
24 |
Bracket plateⅠ,oil pipe |
804C-2.40.108 |
1 |
|||
|
6 |
Double steel wire hoop 24 |
JB/T36161-1984 |
4 |
25 |
Bracket plate Ⅱ,oil pipe |
804C-2.40.109 |
1 |
|
7 |
Hydraulic steering hose |
5126673/1.63.884 |
3 |
26 |
Clip,oil pipe |
804C-2.40.110 |
2 |
|
8 |
Hydraulic oil return hose,steering device |
804C-2.40.112 |
1 |
||||
|
9 |
Hydraulic oil outlet hose,steering oil pipe |
804C-2.40.111 |
1 |
||||
|
10 |
Oil tank assy,steering device |
5126670SZ/1.63.804A |
1 |
||||
|
11 |
Washer 10 |
GB/T93-1987 |
2 |
||||
|
12 |
Bolt M10×20 |
GB/T5782-2000 |
2 |
||||
|
13 |
Oil inlet asy,steering oil pump |
804C-2.40.012 |
1 |
||||
|
14 |
Bolt M8×28 |
GB/T5782-2000 |
2 |
||||
|
15 |
Washer 8 |
GB/T93-197 |
2 |
||||
|
16 |
Steering pump |
HLCB-D16/12 |
1 |
||||
|
17 |
O seal ring 26×2.4 |
GB/T1235-1976 |
1 |
||||
|
18 |
Washer 18 |
JB/T982-1977 |
2 |
||||
|
19 |
Hollow bolt |
885105699/1.63 |
1 |


|
No. |
Parts name |
Drawing No. |
Qty. |
No. |
Parts name |
Drawing No. |
Qty. |
|
1 |
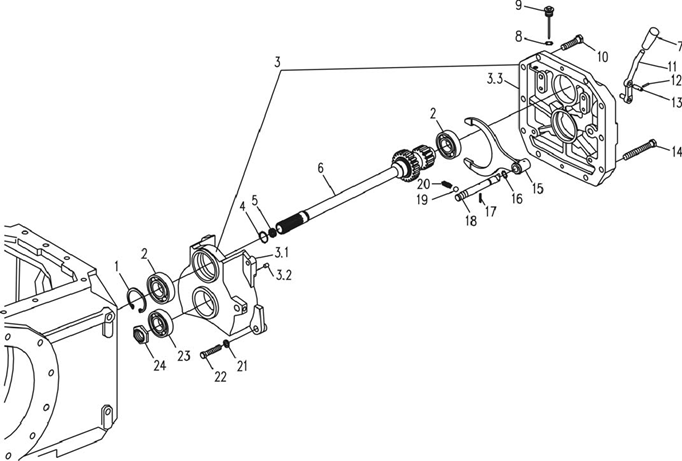
Retaining ring 90 Bearing 6308 Housing assy,PTO Front bearing support,PTO Dowel pin φ10 Housing,PTO Retaining ring 35 Bushing,PTO shaft 1000/540 r/min PTO drive shaft Dual speed handle Rectangular section seal 22×28×1.5 Dipstick assy Bolt M16×1.5×90 -8.8-Zn·D |
11062476/12246 |
1 |
11 |
Control lever with handle |
8A5128718/1.80.157A |
1 |
|
2 |
GB 276-89 |
2 |
12 |
Pin 4×24 |
GB 879-86 |
1 |
|
|
3 |
SZ904.41.011A |
1 |
13 |
Control lever pin |
885117036/1.80.153 |
1 |
|
|
3.1 |
8A0808052/1.80 |
1 |
14 |
Bolt M16×1.5×45-8.8-Zn·D |
GB 5786-86 |
4 |
|
|
3.2 |
10839710/12507 |
2 |
15 |
Gear shift |
8A5109744/1.80.155 |
1 |
|
|
3.3 |
SZ904.41.101A |
1 |
16 |
O ring12.5×2.65 |
GB 3452.1-82 |
1 |
|
|
4 |
GB 894.1-86 |
1 |
17 |
Coil spring pin 5×32 |
13907770/12215 |
1 |
|
|
5 |
880808057/1.80 |
1 |
18 |
Sliding lever,gear shift fork |
8B0808053/1.80 |
1 |
|
|
6 |
880808060SZ/1.80 |
1 |
19 |
Steel ball 11/32G106 |
GB 308-84 |
1 |
|
|
7 |
802.53.109 |
1 |
20 |
Spring |
884994342/1.29.031 |
1 |
|
|
8 |
10263460/14607 |
1 |
21 |
Washer 12-Zn·D |
GB 93-87 |
4 |
|
|
22 |
Bolt M12×1.5×40-8.8 |
GB 5786-86 |
4 |
||||
|
9 |
5134687/1.80.185A |
1 |
23 |
Bearing 6307 |
GB 276-89 |
1 |
|
|
10 |
GB 5785-86 |
6 |
24 |
Nut,driven gear shaft |
5122985/1.28.149 |
1 |
|
|
25 |
1000r/min gear retaining ring |
880808056/1.80 |
1 |
||||
|
26 |
Inner bushing,driven gear |
5101537/1.28.132 |
2 |
||||
|
27 |
1000r/min,driven gear |
880808061A/1.80 |
1 |
|
No. |
Parts name |
Drawing No. |
Qty. |
No. |
Parts name |
Drawing No. |
Qty. |
|
28 |
Engagement sleeve seat,PTO Engagement sleeve,PTO 540r/min,driven gear 540r/min gear retaining ring Oil seal 68×90×11.5 Driven shaft,PTO Nut M12×1.25-Zn·D 540r/min PTO head(6 keys) 1000r/min PTO head(8 keys) |
885129512SZ/1.80.116 |
1 |
37 |
Protecting sleeve,PTO shaft
Bolt M8×20-8.8-Zn·D Washer 8-Zn·D Protecting shield assy,PTO shaft Oil seal protecting plate ,PTO Dual speed nameplate
Bearing 6309 Retaining ring 100 Bolt,PTO shaft |
5102349/1.80.126 |
1 |
|
29 |
8A5129513SZ/1.80.117 |
1 |
|||||
|
30 |
880808062A/1.80 |
1 |
38 |
GB 5783-86 |
4 |
||
|
31 |
SZ904.41.104 |
1 |
39 |
GB 7244-87 |
4 |
||
|
32 |
SZ904.41.106 |
1 |
40 |
5104469/1.80.150 |
1 |
||
|
33 |
SZ904.41.105 |
1 |
|||||
|
34 |
GB 889-86 |
3 |
41 |
4994659/1.80.151A |
1 |
||
|
35 |
4983660/1.80.107A |
1 |
42 |
885122570/1.98.031 |
1 |
||
|
36 |
5140119/1.80.107B |
1 |
|||||
|
43 |
Bearing 6309 |
1 |
|||||
|
44 |
11062975/12246 |
1 |
|||||
|
45 |
44012300/1.80.133 |
3 |
41 PTO control mechanicsm

|
No. |
Parts name |
Drawing No. |
Qty. |
No. |
Parts name |
Drawing No. |
Qty. |
|
1 |
Washer 10-Zn.D |
GB/T97.1-2002 |
1 |
10 |
Handle assy |
5136799/1.80.266 |
1 |
|
2 |
Pin 2×20 |
GB/T91-2000 |
1 |
11 |
Spring |
580548/1.39.227 |
1 |
|
3 |
Outer lever and bushing assy |
5129486/1.80.257 |
2 |
12 |
Helical elastic pin 6×36 |
13910570/12215 |
1 |
|
3.1 |
Bushing,outer lever |
5129442/1.80.268 |
1 |
13 |
Screw M6×14-Zn.D |
GB/T818-2000 |
1 |
|
3.2 |
Control outer lever,PTO |
5128426/1.80.257 |
1 |
14 |
Seat,ball bushing |
4998311/1.80.255 |
1 |
|
4 |
Dowel pin |
5150839/1.80.260 |
1 |
15 |
Ball bushing |
5109058/1.80.254 |
1 |
|
5 |
Spring |
5128251/1.32.230 |
1 |
16 |
Washer 6-Zn.D |
GB/T7244-87 |
2 |
|
6 |
O seal ring 2.42×1.78 |
14453180/14618 |
1 |
17 |
Nut M6-6-Zn.D |
GB/T6170-2000 |
2 |
|
7 |
Control inner lever assy,PTO |
5129848/1.80.236A |
1 |
18 |
Control lever,PTO |
804C.41.011 |
1 |
|
8 |
Shift dog |
884984096/1.80.237 |
1 |
19 |
Pin shaft,PTO control lever |
885134243/1.80.271 |
1 |
|
9 |
Self tapping screw ST4.2 |
GB/T845-2000 |
1 |
20 |
Washer 10-Zn.D |
GB/T93-1987 |
1 |
|
×2.5-F-H |
21 |
Nut M10×1.25-Zn.D |
GB/T6173-2000 |
1 |

|
No. |
Parts name |
Drawing No. |
Qty. |
No. |
Parts name |
Drawing No. |
Qty. |
|
1 |
Bolt M12×1.25×110 |
GB 5786-86 |
1 |
||||
|
2 |
Transfer unint case |
5129778SZ/1.33.002 |
1 |
||||
|
3 |
Rectangular section ring |
10298460/14607 |
3 |
||||
|
12×18×1.5 |
|||||||
|
4 |
Pin B12×18 |
GB 119-86 |
2 |
||||
|
5 |
Bolt M12×1.25×55 |
GB 5786-86 |
1 |
||||
|
6 |
Integral sealing washer 22 |
GB 982-77 |
1 |
||||
|
7 |
Hexagon head screw plug |
10305174/14530 |
1 |
||||
|
M22×1.5 |
|||||||
|
8 |
Bolt M12×1.25×35 |
GB 5786-86 |
4 |

|
No. |
Parts name |
Drawing No. |
Qty. |
No. |
Parts name |
Drawing No. |
Qty. |
|
1 |
Retaining ring 29 |
GB 894.1-86 |
1 |
10 |
Driven gear,transferr unit |
5125012SZ/1.33.132 |
1 |
|
2 |
Retaining disk,oil seal |
5109919/1.33.136 |
1 |
SZ904.42.102① |
|||
|
3 |
Oil seal 30×72×10 |
5119206/1.33.135 |
1 |
11 |
Idle gear,transferr unit |
5125011SZ/1.33.110 |
1 |
|
4 |
Retaining ring 72 |
GB 893.1-86 |
1 |
SZ904.42.101① |
|||
|
5 |
Bearing 30×72×19 |
GB 276-82 |
2 |
12 |
Spacer,idle gear bearing |
5123389/1.33.123 |
1 |
|
6 |
Oil retaining disk |
584132/1.80.348 |
1 |
13 |
Needle bearing φ7×41 |
5116735/1.48.172 |
15 |
|
7 |
Driven shaft,transferr unit |
5123391SZ/1.33.133 |
1 |
14 |
Idle gear shaft,transferr unit |
5123387SZ/1.33.112 |
1 |
|
8 |
Sliding engageing sleeve |
5123388SZ/1.33.116 |
1 |
15 |
Thrust washer,idle gear |
5115930/1.33.122 |
2 |
|
9 |
Retaining ring,driven gear |
5124122/1.33.115 |
1 |
16 |
Helical elastic pin 6×50 |
13943070/12216 |
1 |
Note: ①For X904

