LOVOL TL2A354-001K Tractor Parts Catalogue 24
FT250.62.001 SAFETY BELT INSTALLATION ASSEMBLY
|
No. |
Part No. |
Description |
Version |
QTY. |
Remark |
|
1 |
FT250.62.001 |
SAFETY BELT INSTALLATION ASSEMBLY |
1 |
TE254.742 FRONT BALLAST ASSEMBLY

TE254.742 FRONT BALLAST ASSEMBLY
|
No. |
Part No. |
Description |
Version |
QTY. |
Remark |
|
1 |
TE254.742-04 |
TOWING BOLT |
2 |
||
|
2 |
GBT97.1-20-A0P |
FLAT WASHER |
2 |
||
|
3 |
TB400.74A.2 |
TOWING PIN AND LOCK PIN ASSEMBLY |
1 |
||
|
4 |
TE254.742-02 |
TOWING LUG |
1 |
||
|
5 |
FT650.74.108 |
TOWING NUT |
2 |
||
|
6 |
TE254.742.2 |
FRONT BALLAST SMALL ASSEMBLY |
1 |
||
|
6.1 |
TE254.742-01 |
BALLAST BLOCK |
8 |
||
|
6.2 |
GBT6170-M16-8-A3L |
HEXAGON NUT, TYPE-1 |
1 |
||
|
6.3 |
GBT93-16-A0P |
STANDARD SPRING WASHER |
1 |
||
|
6.4 |
GBT97.1-16-A0P |
FLAT WASHER |
1 |
||
|
6.5 |
TE254.742-03 |
CONNECTING BOLT |
1 |
||
|
7 |
TE254.742.3 |
BASE PLATE |
2 |
||
|
8 |
GBT93-10-A0P |
STANDARD SPRING WASHER |
2 |
||
|
9 |
GBT5783-M10X45-8.8-A3L |
HEXAGON BOLT |
2 |
TE254.801 BRAKE VALVE ASSEMBLY

TE254.801 BRAKE VALVE ASSEMBLY
|
No. |
Part No. |
Description |
Version |
QTY. |
Remark |
|
1 |
FT354.40E.172 |
HOLLOW BOLT |
1 |
||
|
2 |
JBT982-14 |
COMBINED SEAL GASKET |
2 |
||
|
3 |
TE254.803.4 |
TRAILER CONNECTING PIPE WELDMENT |
1 |
||
|
4 |
TE254.801.1 |
BRAKE VALVE |
1 |
||
|
5 |
GBT93-10-A0P |
STANDARD SPRING WASHER |
2 |
||
|
6 |
GBT5783-M10X25-8.8-A3L |
HEXAGON BOLT |
2 |
||
|
7 |
GBT97.1-8-A0P |
FLAT WASHER |
1 |
||
|
8 |
TE254.801-01 |
BRAKE VALVE CONNECTING ROD |
1 |
||
|
9 |
GBT6170-M10-8-A3L |
HEXAGON NUT, TYPE-1 |
1 |
||
|
10 |
GBT882-B10X30 |
PIN SHAFT |
1 |
||
|
11 |
FT300.80.105 |
ADJUSTING FORK |
1 |
||
|
12 |
GBT91-2.5X25-A0P |
SPLIT PIN |
1 |
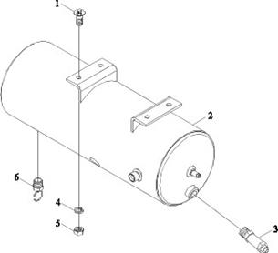
TE254.802 AIR CYLINDER ASSEMBLY

TE254.802 AIR CYLINDER ASSEMBLY
|
No. |
Part No. |
Description |
Version |
QTY. |
Remark |
|
TE254.802 |
AIR CYLINDER ASSEMBLY |
1 |
|||
|
1 |
GBT819.1-M8X20-4.8-A2L |
SCREW |
4 |
||
|
2 |
TE254.802.1 |
AIR CYLINDER WELDMENT |
1 |
||
|
3 |
FT300.80.034 |
SAFETY VALVE ASSEMBLY |
1 |
||
|
4 |
GBT93-8-A0P |
STANDARD SPRING WASHER |
4 |
||
|
5 |
GBT6170-M8-8-A2L |
HEXAGON NUT, TYPE-1 |
4 |
||
|
6 |
FT300.80.033 |
DRAIN VALVE ASSEMBLY |
1 |
TE354.803 AIR CONVEYING PIPELINE ASSEMBLY

TE354.803 AIR CONVEYING PIPELINE ASSEMBLY
|
No. |
Part No. |
Description |
Version |
QTY. |
Remark |
|
1 |
TE354.803.1 |
AIR MACHINE OUTLET PIPE WELDMENT |
1 |
||
|
2 |
FT250.80.142 |
PIPE CLAMP 1 |
3 |
||
|
3 |
TE254.803.2 |
AIR CYLINDER INLET PIPE WELDMENT |
1 |
||
|
4 |
TE254.803.3 |
AIR CYLINDER OUTLET PIPE WELDMENT |
1 |
TE250.81 HEATER INSTALLATION ASSEMBLY
