LOVOL TL2A354-001K Tractor Parts Catalogue 22
TE354.56 SUSPENSION ASSEMBLY-1

TE354.56 SUSPENSION ASSEMBLY-1
|
No. |
Part No. |
Description |
Version |
QTY. |
Remark |
|
1 |
GBT91-5X32-A0P |
PIN |
2 |
||
|
2 |
GBT97.1-18-A0P |
WASHER |
2 |
||
|
3 |
TE300.56.3a |
LIMIT ROD ASSEMBLY |
2 |
||
|
4 |
GBT882-B18X55 |
PIN SHAFT |
2 |
||
|
5 |
GBT91-3.2X36-A0P |
PIN |
6 |
||
|
6 |
GBT97.1-20-A0P |
WASHER |
8 |
||
|
7 |
FT300.56A.103 |
BUSH |
4 |
||
|
8 |
TE300.56.4a |
RIGHT LIMITING ROD BRACKET WELDMENT |
1 |
||
|
9 |
GBT16674.1-M14X30-10.9-A3L |
HEXAGON FLANGE NUT |
8 |
||
|
10 |
GBT6172.1-M12-04-A3L |
HEXAGON THIN NUT |
1 |
||
|
11 |
TE300.56-07 |
LIMITING ROD CONNECTING PIN |
2 |
||
|
12 |
FT300.56A.101 |
LIFTING ROD UPPER CONNECTING PIN |
2 |
||
|
13 |
TE300.56.5a |
LEFT LIMITING ROD BRACKET WELDMENT |
1 |
||
|
14 |
TE300.56-03 |
LIFTING ROD LOWER CONNECTING PIN |
2 |
||
|
15 |
TE354.56.1 |
LIFTING ROD ASSEMBLY |
2 |
||
|
16 |
GBT91-4X40-A0P |
PIN |
2 |
||
|
17 |
GBT6178-M20-8 |
HEXAGON SLOTTED NUT, STYLE 1 |
2 |
||
|
18 |
TE300.56-01 |
LIMITING ROD REAR CONNECTING PIN |
2 |
||
|
19 |
TE300.56.1 |
LOWER PULL ROD ASSEMBLY |
2 |
||
|
20 |
TE300.56-02 |
CIRCULAR PLATE |
2 |
||
|
21 |
GBT6178-M16-8 |
HEXAGON SLOTTED NUT, STYLE 1 |
2 |
||
|
22 |
GBT91-4X36-A0P |
PIN |
2 |
TE354.56 SUSPENSION ASSEMBLY-1 (cont’d.)
|
No. |
Part No. |
Description |
Version |
QTY. |
Remark |
|
23 24 |
TE300.56-04 FT250.56.125 |
LOWER PULL ROD FIXING SHAFT THRUST SCREW |
1 1 |
TE354.56 SUSPENSION ASSEMBLY-2

TE354.56 SUSPENSION ASSEMBLY-2
|
No. |
Part No. |
Description |
Version |
QTY. |
Remark |
|
1 |
GBT5783-M8X16-8.8-A2L |
HEXAGON BOLT |
1 |
||
|
2 |
GBT93-8-A0P |
SPRING WASHER |
1 |
||
|
3 |
TE300.56.6 |
UPPER PULL ROD FIXED CLIP COMBINATION |
1 |
||
|
3.1 |
TE300.56.6-02 |
UPPER PULL ROD FIXING CLIP |
1 |
||
|
3.2 |
TE300.56.6-01 |
FIXING SEAT |
1 |
||
|
3.3 |
TE300.56.6-03 |
NYLON BUSH |
1 |
||
|
3.4 |
GBT96.1-6-A0P |
BIG WASHER |
1 |
||
|
3.5 |
GBT91-2X14-A0P |
SPLIT PIN |
1 |
||
|
4 |
GBT6170-M8-8-A2L |
HEXAGON NUT, TYPE-1 |
1 |
||
|
5 |
FT250.56.012a |
UPPER PULL ROD ASSEMBLY |
1 |
||
|
5.1 |
FT250.56.017 |
UPPER PULL ROD FRONT ADJUSTING ROD ASSEMBLY |
1 |
||
|
5.2 |
GBT6171-M22X1.5-8-A3L |
HEXAGON NUT, TYPE-1 |
1 |
||
|
5.3 |
FT250.56.031 |
ADJUSTING SCREW WELDMENT |
1 |
||
|
5.4 |
GBT6171-M22X1.5-LH-8-A3L |
HEXAGON NUT, TYPE-1 |
1 |
||
|
5.5 |
FT250.56.019 |
UPPER PULL ROD REAR ADJUSTING ROD ASSEMBLY |
1 |
||
|
5.6 |
FT300.56A.113 |
LOCKING PIN CHAIN ASSEMBLY |
1 |
||
|
6 |
TE354.56.1(2) |
LIFTING ROD ASSEMBLY |
1 |
||
|
6.1 |
TE354.56.1-01 |
LIFTING ROD UPPER CONNECTING FORK |
1 |
||
|
6.2 |
TE300.56.2-03 |
NUT |
1 |
||
|
6.3 |
TE300.56.2.1a |
LIFTING SOLENOID WELDMENT |
1 |
||
|
6.4 |
TE300.56.2-04 |
NUT |
1 |
||
|
6.5 |
TE300.56.2-01a |
LIFTING ROD LOWER CONNECTING FORK |
1 |
||
|
7 |
TE300.56.3a(2) |
LIMIT ROD ASSEMBLY |
1 |
TE354.56 SUSPENSION ASSEMBLY-2 (cont’d.)
|
No. |
Part No. |
Description |
Version |
QTY. |
Remark |
|
7.1 |
TE300.56.3A.1 |
EXTENSIBLE ROD BALL ASSEMBLY |
1 |
||
|
7.2 |
FT300.56A.023(J) |
LIMITING ROD LOCK PIN ASSEMBLY |
1 |
||
|
7.3 |
TE300.56.3A-01 |
EXTENSIBLE GUIDE PIPE |
1 |
||
|
7.4 |
GBT6170-M22-8-A9L |
HEXAGON NUT, TYPE-1 |
1 |
||
|
7.5 |
TE300.56.3A-02 |
LIMITING ROD ADJUSTING SCREW |
1 |
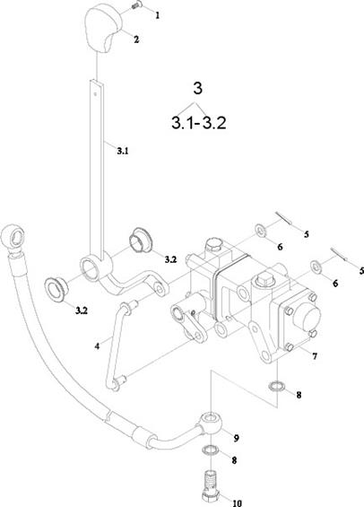
TE354.57 DISTRIBUTOR AND CONTROL MECHANISM ASSEMBLY-1

TE354.57 DISTRIBUTOR AND CONTROL MECHANISM ASSEMBLY-1
|
No. |
Part No. |
Description |
Version |
QTY. |
Remark |
|
1 |
GBT68-M4X10-4.8-A2L |
SLOTTED SCREW |
1 |
||
|
2 |
TB504.552-04 |
HANDLE HEAD |
1 |
||
|
3 |
TE354.57.1 |
CONTROL ARM ASSEMBLY |
1 |
||
|
3.1 |
TE354.57.1.1 |
CONTROL ARM WELDMENT |
1 |
||
|
3.2 |
TE250.57.2-01 |
NYLON BUSH |
2 |
||
|
4 |
TE250.57.3 |
PULL ROD WELDMENT |
1 |
||
|
5 |
GBT91-2X18-A0P |
SPLIT PIN |
2 |
||
|
6 |
GBT97.1-8-A0P |
FLAT WASHER |
2 |
||
|
7 |
TE250.57.1 |
DISTRIBUTOR ASSEMBLY |
1 |
||
|
8 |
JBT982-18 |
COMBINED SEAL GASKET |
2 |
||
|
9 |
TE354.57.2 |
DISTRIBUTOR OIL INLET PIPE ASSEMBLY |
1 |
||
|
10 |
FT654.58.112 |
HOLLOW BOLT -3 |
1 |
TE354.57 DISTRIBUTOR AND CONTROL MECHANISM ASSEMBLY-2

TE354.57 DISTRIBUTOR AND CONTROL MECHANISM ASSEMBLY-2
|
No. |
Part No. |
Description |
Version |
QTY. |
Remark |
|
TE250.57.1(2) |
DISTRIBUTOR ASSEMBLY |
1 |
|||
|
1 |
FT250.57.010 |
SLIDING VALVE ASSEMBLY |
1 |
||
|
1.1 |
GBT894.1-15 |
RETAINER RING |
1 |
||
|
1.2 |
FT250.57.115 |
SPRING RETAINER PIECE |
2 |
||
|
1.3 |
FT250.57.114 |
SLIDING VALVE RETURN SPRING |
1 |
||
|
1.4 |
FT250.57.113 |
SLIDING VALVE |
1 |
||
|
2 |
FT250.57.128 |
PRESSURE PLUG |
1 |
||
|
3 |
FT250.57.110 |
ADJUSTING WASHER |
1 |
||
|
4 |
FT250.57.111 |
ADJUSTING WASHER |
1 |
||
|
5 |
FT250.57.112 |
ADJUSTING WASHER |
1 |
||
|
6 |
FT250.57.129 |
SAFETY VALVE SPRING |
1 |
||
|
7 |
FT250.57.131 |
SAFETY VALVE CORE |
1 |
||
|
8 |
FT250.57.101 |
SAFETY VALVE SEAT |
1 |
||
|
9 |
GBT3452.1-15.0X2.65G |
RUBBER O-SEAL RING |
1 |
||
|
10 |
GBT3452.1-13.2X2.65G |
RUBBER O-SEAL RING |
1 |
||
|
11 |
GBT3452.1-19.0X2.65G |
RUBBER O-SEAL RING |
1 |
||
|
12 |
FT250.57.104 |
DISTRIBUTOR HOUSING |
1 |
||
|
13 |
FT250.57.103 |
FRONT COVER PAPER GASKET |
1 |
||
|
14 |
FT250.57.102 |
FRONT COVER |
1 |
||
|
15 |
GBT93-5-A0P |
STANDARD SPRING WASHER |
4 |
||
|
16 |
GBT5781-M5X16-4.8-A2L |
HEXAGON BOLT |
4 |
||
|
17 |
FT250.57.123 |
SCREW PLUG |
1 |
||
|
18 |
FT250.57.124 |
WASHER |
1 |
TE354.57 DISTRIBUTOR AND CONTROL MECHANISM ASSEMBLY-2 (cont’d.)
|
No. |
Part No. |
Description |
Version |
QTY. |
Remark |
|
19 |
FT250.57.122 |
LOCATING SPRING |
1 |
||
|
20 |
FT250.57.121 |
LOCATING SPRING SEAT |
1 |
||
|
21 |
GBT308-5-G100-B |
STEEL BALL |
1 |
||
|
22 |
GBT5780-M6X55-4.8-A1L |
HEXAGON BOLT |
4 |
||
|
23 |
GBT93-6-A0P |
STANDARD SPRING WASHER |
4 |
||
|
24 |
FT250.57.108 |
REAR COVER |
1 |
||
|
25 |
FT250.57.107 |
REAR COVER PAPER GASKET |
1 |
||
|
26 |
FT250.57.106 |
RETAINER PLATE |
1 |
||
|
27 |
FT250.57.105 |
RETAINER PLATE PAPER GASKET |
1 |
||
|
28 |
FT250.57.119 |
LOCATING BLOCK |
1 |
||
|
29 |
GBT896-4 |
SPLIT RETAINER RING |
1 |
||
|
30 |
FT250.57.120 |
DIAL PIN |
1 |
||
|
31 |
TE250.57.1-01 |
HANDLE SHAFT |
1 |
||
|
32 |
GBT3452.1-9.50X2.65A |
RUBBER O-SEAL RING |
1 |
||
|
33 |
TE250.57.1-02 |
CONTROL ROCKER 1 |
1 |
||
|
34 |
GBT879.1-6X22 |
SPRING COLUMN PIN |
1 |
||
|
35 |
GBT879.1-4X22 |
SPRING COLUMN PIN |
1 |
