LOVOL TL2A354-001K Tractor Parts Catalogue 19

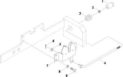
TE250.477 BONNET LOCK INSTALLATION ASSEMBLY
|
No. |
Part No. |
Description |
Version |
QTY. |
Remark |
|
TE250.477 |
BONNET LOCK INSTALLATION ASSEMBLY |
1 |
|||
|
1 |
TE250.477.3 |
HANDLE ASSEMBLY |
1 |
||
|
2 |
GBT6170-M5-8-A2L |
HEXAGON NUT, TYPE-1 |
1 |
||
|
3 |
TE250.477-01 |
RUBBER RING |
1 |
||
|
4 |
TE250.477.2 |
PULL ROD WELDMENT |
1 |
||
|
5 |
GBT97.1-6-A0P |
FLAT WASHER |
1 |
||
|
6 |
GBT91-2X16-A0P |
SPLIT PIN |
1 |
||
|
7 |
TE250.477.1 |
BONNET LOCK |
1 |
||
|
8 |
GBT93-5-A0P |
STANDARD SPRING WASHER |
3 |
||
|
9 |
GBT5783-M5X10-8.8-A2L |
HEXAGON BOLT |
3 |
TE354.481 ENGINE HARNESS INSTALLATION ASSEMBLY

TE354.481 ENGINE HARNESS INSTALLATION ASSEMBLY
|
No. |
Part No. |
Description |
Version |
QTY. |
Remark |
|
1 |
FT304.48L.203 |
HARNESS TIGHTEN CLIP |
1 |
||
|
2 |
FT300.48.105 |
WIRE HARNESS CLIP(3) |
2 |
||
|
3 |
FT300.48.074 |
RPM SENSOR |
1 |
||
|
4 |
FT250.48.036 |
OIL PRESSURE ALARM |
1 |
||
|
5 |
TE354.481.1 |
ENGINE HARNESS ASSEMBLY |
1 |
||
|
6 |
TE250.481.2 |
WATER TEMPERATURE SENSOR |
1 |
||
|
7 |
Q67405100 |
PLASTIC FASTENING STRIP |
1 |
TE354.482 BODY HARNESS INSTALLATION ASSEMBLY

TE354.482 BODY HARNESS INSTALLATION ASSEMBLY
|
No. |
Part No. |
Description |
Version |
QTY. |
Remark |
|
1 |
TE354.482.1a |
BODY HARNESS ASSEMBLY |
1 |
||
|
2 |
FT300.48.033 |
BRAKE LIGHT SWITCH |
2 |
||
|
3 |
FT300.48.055 |
STARTING RELAY |
1 |
||
|
4 |
GBT6170-M6-8-A2L |
HEXAGON NUT, TYPE-1 |
8 |
||
|
5 |
GBT93-6-A0P |
STANDARD SPRING WASHER |
10 |
||
|
6 |
GBT97.1-6-A0P |
FLAT WASHER |
10 |
||
|
7 |
TE250.482A.3 |
VOLTAGE ADJUSTER |
1 |
||
|
8 |
GBT818-M6X20-4.8-A2L |
CROSS SCREW |
10 |
||
|
9 |
TH354.482.4 |
LEFT PADDLE SWITCH |
1 |
||
|
10 |
FT300.48.064 |
IGNITION LOCK |
1 |
||
|
11 |
TH354.482.5 |
RIGHT BUTTON SWITCH |
1 |
||
|
12 |
FT250.48F.043 |
FUSE BOX ASSEMBLY |
1 |
||
|
13 |
TE250.482A-02 |
RELAY BOX COVER |
1 |
||
|
14 |
TE250.482A.2 |
RELAY BOX ASSEMBLY |
1 |
||
|
15 |
FT65.48.055 |
LIGHT RELAY |
1 |
||
|
16 |
TE250.482Y-01 |
RELAY BRACKET |
1 |
TE250.483 FRONT LAMP HARNESS INSTALLATION ASSEMBLY

TE250.483 FRONT LAMP HARNESS INSTALLATION ASSEMBLY
|
No. |
Part No. |
Description |
Version |
QTY. |
Remark |
|
1 |
3724D01-201 |
RELEASABLE TIE |
1 |
||
|
2 |
TE250.483.1a |
FRONT LAMP HARNESS ASSEMBLY |
1 |
||
|
3 |
FT65.48.340 |
HORN ASSEMBLY |
1 |
||
|
4 |
GBT97.1-8-A0P |
WASHER |
2 |
||
|
5 |
GBT93-8-A0P |
WASHER |
2 |
||
|
6 |
GBT818-M8X16-4.8-A2L |
SCREW |
2 |
||
|
7 |
GBT6170-M6-8-A2L |
NUT |
2 |
||
|
8 |
GBT93-6-A0P |
WASHER |
2 |
||
|
9 |
TE250.483-01 |
PAD BOARD |
2 |
||
|
10 |
TE250.483.2 |
FRONT LAMP COMBINATION ASSEMBLY |
1 |
||
|
11 |
3203505D9-L |
TIE |
5 |
TE250.484M REAR LAMP HARNESS INSTALLATION ASSEMBLY

TE250.484M REAR LAMP HARNESS INSTALLATION ASSEMBLY
|
No. |
Part No. |
Description |
Version |
QTY. |
Remark |
|
TE250.484M |
REAR LAMP HARNESS INSTALLATION ASSEMBLY |
1 |
|||
|
1 |
TD800.484B.7 |
AIR PRESSURE ALARM |
1 |
||
|
2 |
TB450.484E.6 |
RIGHT REFLECTOR |
1 |
||
|
3 |
GBT97.1-5-A0P |
WASHER |
4 |
||
|
4 |
GBT93-5-A0P |
WASHER |
4 |
||
|
5 |
GBT6170-M5-8-A2L |
NUT |
4 |
||
|
6 |
GBT818-M4X10-4.8-A2L |
SCREW |
5 |
||
|
7 |
GBT93-4-A0P |
WASHER |
5 |
||
|
8 |
TE250.484H.2 |
OIL QUANTITY SENSOR |
1 |
||
|
9 |
FT800A.48L.101 |
RUBBER RING |
4 |
||
|
10 |
TD900.484.2 |
REAR TRAILER SOCKET |
1 |
||
|
11 |
GBT818-M5X35-4.8-A1L |
SCREW |
3 |
||
|
12 |
3724D01-201 |
RELEASABLE TIE |
5 |
||
|
13 |
TB404.484.3 |
TAIL LAMP ASSEMBLY |
2 |
||
|
14 |
TE250.484L.1 |
REAR LAMP HARNESS ASSEMBLY |
1 |
||
|
15 |
TB450.484E.5 |
LEFT REFLECTOR |
1 |
||
|
16 |
TE250.484M.2 |
AIR PRESSURE ALARM WIRE ASSEMBLY |
1 |
||
|
17 |
TE250.484-01 |
AIR PRESSURE ALARM JOINT |
1 |
