YTO 800/804/900/904 Tractor Parts Catalogue 15

|
No. |
Parts name |
Drawing No. |
Qty. |
No. |
Parts name |
Drawing No. |
Qty. |
|
1 |
Washer 8 |
GB 7244-87 |
8 |
19 |
Self-lock nut M10×1.25 |
12575614/10125 |
1 |
|
2 |
Nut M8 |
GB 6170-86 |
3 |
20 |
O-seal ring21.89×2.62 |
14457681/14618 |
1 |
|
3 |
Stud |
13544324/10219 |
3 |
21 |
Control shaft,automatic |
5129388/1.82.550 |
|
|
4 |
Spacer,sector |
5117204/1.85.515 |
3 |
force control |
1 |
||
|
5 |
Spring cover,sector |
5129672/1.82.519 |
1 |
22 |
Key 4×14 |
GB 1096-76 |
1 |
|
6 |
Spring |
4973370/1.82.513 |
1 |
23 |
Retaining ring 8 |
GB 894.1-86 |
3 |
|
7 |
Spring |
4952761/1.82.511 |
1 |
24 |
Roller |
5111028/1.82.562 |
3 |
|
8 |
Friction disc |
5153008/1.82.508A |
2 |
25 |
Pin |
5011775/1.82.532 |
1 |
|
9 |
Friction disc |
5153007/1.82.508 |
1 |
26 |
Spring,lever arm |
5148884/1.82.588 |
1 |
|
10 |
Bolt M8×25 |
GB 5783-86 |
3 |
27 |
Pull rod control lever |
5120281/1.82.586 |
1 |
|
11 |
Support,control lever |
5129377SZ/1.82.517 |
1 |
28 |
Ball bolt |
5120282/1.82.587 |
1 |
|
12 |
Helical elastic pin 4×24 |
13938070/12216 |
1 |
29 |
Nut M10×1.25 |
GB 6173-86 |
1 |
|
13 |
O-seal ring10.82×1.78 |
14453081/14618 |
2 |
30 |
Spring clip 8 |
11064076/12252 |
3 |
|
14 |
Plug |
5129399/1.82.544 |
31 |
Pin |
5117161/1.82.557 |
1 |
|
|
15 |
Square section seal |
10263460/14607 |
1 |
32 |
Pin |
5117136/1.82.561 |
1 |
|
ring22×28×1.5 |
1 |
33 |
Lever arm assy |
5117135/1.82.541 |
1 |
||
|
16 |
Lifting-neutral-lowering |
5129393/1.82.542 |
34 |
Control lever |
5120291/1.82.541 |
1 |
|
|
control lever |
1 |
35 |
Needle bearing 14×20×12 |
5109160/1.82.536 |
4 |
||
|
17 |
Hub assembly,automatic |
5129376/1.82.502 |
1 |
36 |
Bushing,automatic force |
5116251/1.82.543 |
1 |
|
force control lever |
control lever |
||||||
|
18 |
Hub assembly,automatic |
5129374/1.82.518A |
1 |
37 |
Key 5×10 |
GB 1096-79 |
1 |
|
position control lever |
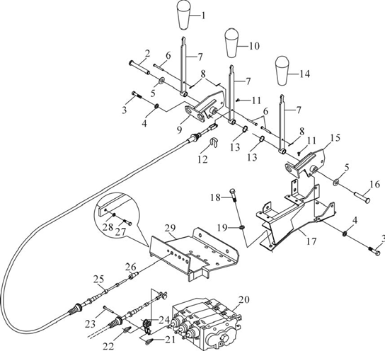
57 Distributor control mechanism
|
No. |
Parts name |
Drawing No. |
Qty. |
No. |
Parts name |
Drawing No. |
Qty. |
|
38 |
Crank shaft |
5129386/1.82.506 |
1 |
52 |
O-seal ring15.54×2.62 |
14457281/14618 |
1 |
|
39 |
Support,lever |
5129400/1.82.531 |
1 |
53 |
Inner lever shaft |
5135221/1.82.533 |
|
|
40 |
Spring |
4959139/1.63.807 |
1 |
54 |
Bushing,automaticforcecontrollever |
5135219/1.82.546 |
1 |
|
41 |
Dowel adjusting bolt |
5121522/1.82.540 |
1 |
55 |
Inner lever assy |
5117151/1.82.535 |
1 |
|
M8×1.25×55 |
56 |
Rear control lever,automatic |
885136355/1.82.54 |
1 |
|||
|
42 |
Dowel adjusting screw |
5121523/1.82.540A |
1 |
force control |
8A |
1 |
|
|
tub M8×1.25×20 |
57 |
Pull rod fork,automatic force |
885136356/1.82.54 |
1 |
|||
|
43 |
Front check block |
885120284/1.82.539A |
1 |
control |
8 |
1 |
|
|
44 |
Retaining ring 12 |
13397576/12248 |
1 |
58 |
Spring clip |
11064176/12252 |
1 |
|
45 |
Pin |
5117156/1.82.530 |
1 |
59 |
Cam,automatic position control |
5117143/1.82.522 |
1 |
|
46 |
Lifting-neutral-lowering cam |
5129396/1.82.527 |
1 |
60 |
Check rod |
5120285/1.82.538 |
1 |
|
47 |
Cam,automatic force control |
5122497/1.82.524 |
1 |
61 |
Spring |
4973650/1.82.563 |
1 |
|
48 |
Screw M8×12 |
GB 71-85 |
1 |
62 |
Cylindrical pin 4×20 |
14163970/12213 |
1 |
|
49 |
Bolt M10×1.25×18 |
GB 5786-86 |
1 |
63 |
Cylindrical pin 3×22 |
14162070/12213 |
2 |
|
50 |
Gasket 10 |
14198800/10182 |
1 |
64 |
Needle bearing 12×16×10 |
5117138/1.82.537 |
1 |
|
51 |
Clip,automatic force |
5135220/1.82.515A |
1 |
65 |
Lever assy,main control valve |
5126220/1.82.512 |
2 |
|
control inner lever |
66 |
Bolt M8×20 |
GB 30-76 |
58 Hydraulic lifter pipelines

58 Hydraulic lifter pipelines

58 Hydraulic lifter pipelines
|
No. |
Parts name |
Drawing No. |
Qty. |
No. |
Parts name |
Drawing No. |
Qty. |
|
1 |
Bolt M8×35 |
GB/T5783-2000 |
2 |
18 |
Bolt M12×1.25×25 |
GB/T5786-2000 |
2 |
|
2 |
Washer 8 |
GB/T7244-1987 |
6 |
20 |
Washer 10 |
GB/T93-1987 |
2 |
|
3 |
Retaining ring |
44015841/1.82.181 |
2 |
21 |
Bolt M10×25 |
GB/T5783-2000 |
2 |
|
4 |
O-seal ring 2.62×17.12 |
14457381/14618 |
2 |
22 |
Bolt M10×1.25×25 |
GB/T70.1-2000 |
1 |
|
5 |
Gear oil pump |
CBN-G320 |
23 |
Bolt M10×1.25×65 |
GB/T70.1-2000 |
1 |
|
|
6 |
O-seal ring 2.62×20.29 |
14457581/14618 |
1 |
24 |
Washer 10 |
GB/T93-1987 |
2 |
|
7 |
Bolt M8×55 |
GB/T5783-2000 |
1 |
25 |
Connecting cap,hydraulic lifter |
1204.58.016B |
1 |
|
8 |
Bolt M8×45 |
GB/T70.1-2000 |
1 |
26 |
Dowel pipe,lifter oil level |
1.82.190/5122987 |
1 |
|
9 |
Front outlet oil pipe assy |
SZ804.58E.011 |
2 |
27 |
Oil pan,with seal strip |
1.82.185/5122968 |
1 |
|
11 |
O-seal ring31.34×3.53 |
14463681/14618 |
4 |
27.1 |
Oil pan,lifter |
1.82.185/5121806 |
1 |
|
13 |
Hoop Φ35-51 |
JK-2A |
1 |
27.2 |
Seal strip,lifter oil pan |
1.82.186/5122962 |
1 |
|
14 |
Connecting sleeve,filter |
8A5109879/1.82.184 |
2 |
28 |
Oil return pipe assy |
1.82.187/5121804 |
1 |
|
oil suction pipe |
29 |
Bolt M8X14-Zn.D |
GB/T 5783-2000 |
1 |
|||
|
16 |
Washer 12 |
GB/T93-1987 |
2 |
30 |
Washer 8-140HV-Zn.D |
GB/T 97.1-2002 |
1 |
|
17 |
Bolt M12×1.25×45 |
GB/T5785-2000 |
1 |
35 |
Cleaner assy |
SZ804.58.023 |
1 |
|
3 |
36 |
Support,cleaner |
SZ804.58.010-1 |
1 |
|||
|
1 |
37 |
Front oil suction pipe assy |
Sz804.58E.010-1 |
1 |
|||
|
38 |
Rear oil suction pipe assy |
8A5149038-SZ-1/1.82.148 |
1 |
||||
|
39 |
Oil hose,to auxiliary cylinder |
5126672/1.63.566 |
2 |
||||
|
40 |
Connecting pipe |
SZ804.58E.012 |
1 |
||||
|
assy,pump oil outlet |
58 Hydraulic lifter pipelines
|
No. |
Parts name |
Drawing No. |
Qty. |
No. |
Parts name |
Drawing No. |
Qty. |
|
28 |
Rectangular sealing ring |
10263460/14607 |
1 |
33 |
Washer 10 |
GB 93-87 |
2 |
|
22×28×1.5 |
34 |
Connecting cover,hydraulic lifter |
5129166/1.82.159A |
1 |
|||
|
29 |
Rectangular sealing ring |
10257060/14607 |
2 |
35 |
Cleaner assy |
8A5113297-SZ-2/1.82.175 |
1 |
|
30 |
Spherical joint Plug 12 |
10184414SZ/14256 |
1 |
36 |
Cleaner support |
SZ804.58.010-1 |
1 |
|
31 |
Bolt M10×1.25×25 |
GB 70-85 |
1 |
37 |
Front oil suction pipe assy |
8B5149060-SZ-1/1.82.150 |
1 |
|
32 |
Bolt M10×1.25×65 |
GB 70-85 |
1 |
38 |
Rear oil suction pipe assy |
8A5149038-SZ-1/1.82.148 |
1 |
61 Three-plate multi-way valve control assy

61 Three-plate multi-way valve control assy
|
No. |
Parts name |
Drawing No. |
Qty. |
No. |
Parts name |
Drawing No. |
Qty. |
|
1 |
Control lever dog,multi-way |
804C.61.129 |
1 |
19 |
Washer 8 |
GB/T93-1987 |
4 |
|
valve |
20 |
Triple valve assy with 2 pieces |
1.82.880008260 |
1 |
|||
|
2 |
Pivot shaft |
804C.61.103 |
1 |
single/double action valve and a |
|||
|
3 |
Bolt M6×16 |
GB/T5783-2000 |
4 |
float action |
|||
|
4 |
Washer 6 |
GB/T93-1987 |
4 |
21 |
Retaining plate |
885116898-1 |
3 |
|
5 |
Washer 12 |
GB/T955-1987 |
2 |
22 |
Retaining plate |
885116898-2 |
3 |
|
6 |
Pin shaft 6×20 |
GB/T882-1986 |
3 |
Retaining plate assy |
885116898 |
3 |
|
|
7 |
Control lever assy |
804C.61.013 |
3 |
23 |
Pin shaft 6×22 |
GB/T882-1986 |
3 |
|
8 |
Pin 2×12 |
GB/T91-2000 |
6 |
24 |
Connecting fork assy |
804C.61.018 |
3 |
|
9 |
Bracket weldment |
804C.61.014 |
1 |
25 |
Pull-push flexible shaft assy |
804C.61.015 |
3 |
|
10 |
Control lever dog,multi-way |
804C.61.128 |
1 |
26 |
Flexible shaft joint |
804C.61.104 |
3 |
|
valve |
27 |
Bolt M10×1.25×25 |
GB/T5785-2000 |
4 |
|||
|
11 |
Screw M5×12 |
GB/T78-1985 |
2 |
28 |
Washer 10 |
GB/T93-1987 |
4 |
|
12 |
Retaining plate |
804C.61.102 |
6 |
29 |
Multi-way valve weldment |
804C.61.017 |
1 |
|
13 |
Retaining ring 12 |
GB/T894.2-1986 |
2 |
||||
|
14 |
Control lever dog,multi-way |
804C.61.117 |
1 |
||||
|
valve |
|||||||
|
15 |
Bracket weldment 1 |
804C.61.012 |
1 |
||||
|
16 |
Pivot shaft 1 |
804C.61.101 |
1 |
||||
|
17 |
Control bracket weldment |
804C.61.011 |
1 |
||||
|
18 |
Bolt M8×16 |
GB/T5783-2000 |
4 |
74 Front ballast,front ballast rack assy
74 Front ballast, front ballast rack assy
|
No. |
Parts name |
Drawing No. |
Qty. |
No. |
Parts name |
Drawing No. |
Qty. |
|
1 |
Ballast support |
SZ904.74.021 |
1 |
||||
|
2 |
Washer 16 |
GB93-1997 |
8 |
||||
|
3 |
Washer 16 |
GB97.1-2000 |
8 |
||||
|
4 |
Bolt |
GB5786-2000 |
8 |
||||
|
M16×1.5×45-10.9-Zn.D |
|||||||
|
5 |
Front support |
804C-2.30.101 |
1 |
||||
|
6 |
Front ballast,tab screw assy |
SZ804.30.022 |
1 |
||||
|
(optional front 10 big) |
|||||||
|
7 |
Front ballast(optional) |
SZ804.74A.501 |
10 |
||||
|
8 |
Nut M16×1.5 |
10112/10790524 |
1 |
||||
|
9 |
Washer |
44018768/1.21.595 |
4 |
||||
|
10 |
Split pin |
44007661/1.82.945 |
1 |
||||
|
11 |
Draw pin assy |
5118742/1.21.573 |
1 |
74 Rear ballast (rear 6)

74 Rear ballast (rear 6)
