LOVOL TL2A354-001K Tractor Parts Catalogue 13

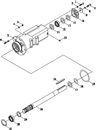
TE300.391 LEFT HALF SHAFT ASSEMBLY
|
No. |
Part No. |
Description |
Version |
QTY. |
Remark |
|
1 |
GBT5783-M16X35-8.8-A3L |
HEXAGON BOLT |
1 |
||
|
2 |
GBT93-16-A0P |
STANDARD SPRING WASHER |
1 |
||
|
3 |
FT250.37.216 |
RETAINER RING |
1 |
||
|
4 |
FT250.37.214 |
DRIVING SHAFT BEARING COVER |
1 |
||
|
5 |
GBT9877.1-FB50X72X8D |
SEAL RING |
3 |
||
|
6 |
GBT276-6210 |
DEEP GROOVE BALL BEARING |
1 |
||
|
7 |
TE300.391-02 |
LEFT DRIVING SHAFT SLEEVE |
1 |
||
|
8 |
GBT6171-M12X1.25-10-A2L |
HEXAGON NUT, TYPE-1 |
8 |
||
|
9 |
GBT93-12-A0P |
STANDARD SPRING WASHER |
8 |
||
|
10 |
GBT899-AM12-M12X1.25X35-10.9-A 3L |
DOUBLE END STUDS |
8 |
||
|
11 |
GBT5783-M10X25-8.8-A3L |
HEXAGON BOLT |
4 |
||
|
12 |
GBT93-10-A0P |
STANDARD SPRING WASHER |
4 |
||
|
13 |
JBT7940.1-M10X1 |
STRAIGHT FORCED FILLING OIL CUP |
1 |
||
|
14 |
GBT3452.1-112X3.55G |
RUBBER O-SEAL RING |
1 |
||
|
15 |
FT250.37.242 |
OIL SEAL SPACER RING |
1 |
||
|
16 |
GBT9877.1-FB55X75X8D |
SEAL RING |
1 |
||
|
17 |
FT250.37.215 |
FLAT KEY |
1 |
||
|
18 |
TE300.391-01 |
DRIVING SHAFT |
1 |
||
|
19 |
FT250.37.218 |
BEARING RETAINER RING |
1 |
||
|
20 |
GBT276-6211 |
DEEP GROOVE BALL BEARING |
1 |
||
|
21 |
GBT893.1-100 |
CIRCLIPS FOR HOLE |
1 |
TE300.392 RIGHT HALF SHAFT ASSEMBLY

TE300.392 RIGHT HALF SHAFT ASSEMBLY
|
No. |
Part No. |
Description |
Version |
QTY. |
Remark |
|
1 |
GBT5783-M10X25-8.8-A3L |
HEXAGON BOLT |
4 |
||
|
2 |
GBT93-10-A0P |
STANDARD SPRING WASHER |
4 |
||
|
3 |
GBT6171-M12X1.25-10-A2L |
HEXAGON NUT, TYPE-1 |
8 |
||
|
4 |
GBT93-12-A0P |
STANDARD SPRING WASHER |
8 |
||
|
5 |
TE300.392-01 |
RIGHT DRIVING SHAFT SLEEVE |
1 |
||
|
6 |
GBT899-AM12-M12X1.25X35-10.9-A 3L |
DOUBLE END STUDS |
8 |
||
|
7 |
GBT5783-M16X35-8.8-A3L |
HEXAGON BOLT |
1 |
||
|
8 |
GBT93-16-A0P |
STANDARD SPRING WASHER |
1 |
||
|
9 |
FT250.37.216 |
RETAINER RING |
1 |
||
|
10 |
FT250.37.214 |
DRIVING SHAFT BEARING COVER |
1 |
||
|
11 |
GBT9877.1-FB50X72X8D |
SEAL RING |
3 |
||
|
12 |
GBT276-6210 |
DEEP GROOVE BALL BEARING |
1 |
||
|
13 |
JBT7940.1-M10X1 |
STRAIGHT FORCED FILLING OIL CUP |
1 |
||
|
14 |
FT250.37.215 |
FLAT KEY |
1 |
||
|
15 |
GBT3452.1-112X3.55G |
RUBBER O-SEAL RING |
1 |
||
|
16 |
FT250.37.242 |
OIL SEAL SPACER RING |
1 |
||
|
17 |
GBT9877.1-FB55X75X8D |
SEAL RING |
1 |
||
|
18 |
TE300.391-01 |
DRIVING SHAFT |
1 |
||
|
19 |
FT250.37.218 |
BEARING RETAINER RING |
1 |
||
|
20 |
GBT276-6211 |
DEEP GROOVE BALL BEARING |
1 |
||
|
21 |
GBT893.1-100 |
CIRCLIPS FOR HOLE |
1 |
TE250.401A STEERING WHEEL ASSEMBLY

TE250.401A STEERING WHEEL ASSEMBLY
|
No. |
Part No. |
Description |
Version |
QTY. |
Remark |
|
1 2 |
TE250.401A TE250.401A.1 |
STEERING WHEEL ASSEMBLY COVER OF STEERING WHEEL |
1 1 |
TE354.402 STEERING PIPE ASSEMBLY-1

TE354.402 STEERING PIPE ASSEMBLY-1
|
No. |
Part No. |
Description |
Version |
QTY. |
Remark |
|
1 |
FT254.40.028 |
HYDRAULIC STEERING MECHANISM ASSEMBLY |
1 |
||
|
2 |
JBT982-20 |
COMBINED SEAL GASKET |
9 |
||
|
3 |
TH354.402-03 |
SPACER BUSH |
1 |
||
|
4 |
TE354.402.1 |
REDIRECTOR OIL RETURN PIPE WELDMENT |
1 |
||
|
5 |
TH354.402-02 |
HOLLOW BOLT M20X1.5 |
1 |
||
|
6 |
Q67627 |
B-TYPE WORM TRANSMISSION HOSE CLAMP |
4 |
||
|
7 |
TE254.402C-01 |
OIL RETURN RUBBER HOSE |
1 |
||
|
8 |
FT254.40.102 |
HOLLOW BOLT |
3 |
||
|
9 |
TE354.402.2a |
SINGLE STEADY VALVE RETURN PIPE WELDMENT |
1 |
||
|
10 |
TE354.402-01a |
OIL RETURN RUBBER HOSE OF SINGLE PATH STA- BILIZER DIVERTER VALVE |
1 |
||
|
11 |
TE254.402F-04 |
CONNECTING JOINT |
1 |
||
|
12 |
FT254.40.030 |
SINGLE-WAY STABILIZER DIVERTER VALVE |
1 |
||
|
13 |
TE254.402F.1a |
OIL INLET PIPE OF REDIRECTOR |
1 |
||
|
14 |
GBT5782-M8X55-8.8-A2L |
HEXAGON BOLT |
3 |
||
|
15 |
GBT93-8-A0P |
STANDARD SPRING WASHER |
3 |
||
|
16 |
GBT6170-M8-8-A2L |
HEXAGON NUT, TYPE-1 |
3 |
TE354.402 STEERING PIPE ASSEMBLY-2

TE354.402 STEERING PIPE ASSEMBLY-2
|
No. |
Part No. |
Description |
Version |
QTY. |
Remark |
|
1 |
JBT982-20(2) |
COMBINED SEAL GASKET |
5 |
||
|
2 |
TH354.402-03(2) |
SPACER BUSH |
1 |
||
|
3 |
TE254.402F.5a |
REDIRECTOR LEFT OIL OUTLET PIPE WELDMENT |
1 |
||
|
4 |
TH354.402-02(2) |
HOLLOW BOLT M20X1.5 |
1 |
||
|
5 |
TE254.402F.6a |
REDIRECTOR RIGHT OIL OUTLET PIPE WELDMENT |
1 |
||
|
6 |
FT254.40.102(2) |
HOLLOW BOLT |
1 |
||
|
7 |
GBT6170-M8-8-A2L(2) |
HEXAGON NUT, TYPE-1 |
1 |
||
|
8 |
GBT93-8-A0P(2) |
STANDARD SPRING WASHER |
1 |
||
|
9 |
FT354.40C.121 |
DOUBLE PIPE CLAMP |
2 |
||
|
10 |
TE254.402F-02 |
OIL PIPE BRACKET2 |
1 |
||
|
11 |
GBT5782-M8X40-8.8-A2L |
HEXAGON BOLT |
1 |
||
|
12 |
GBT6173-M16X1.5-05-A3L |
HEXAGON THIN NUT |
2 |
||
|
13 |
TE354.402.4a |
STEERING OIL TUBE ASSEMBLY Ⅰ |
2 |
||
|
14 |
TE254.402F-01 |
OIL PIPE BRACKET1 |
1 |
