LOVOL TC2A604-007K Tractor Parts Catalogue 19
Foton TC2A604-007K Wheeled Tractor
TC02482150000K Harness Installation Assembly, Body
|
No. |
Part code and specification |
Part name |
Quantity |
Remark |
|
TC02482150000K |
Harness installation assembly, body |
1 |
||
|
1 |
GB/T 818-M6×25-4.8-A2L |
Cross recessed pan head screw |
2 |
|
|
2 |
TC02482150002K |
Central electric box assembly |
1 |
|
|
3 |
GB/T 97.1-6-A0P |
Plain washer |
2 |
|
|
4 |
GB/T 93-6-A0P |
Standard spring washer |
2 |
|
|
5 |
TB450.482.6 |
Oil amount sensor |
1 |
|
|
6 |
TB450.482.4 |
Left rocker switch |
1 |
|
|
7 |
TB450.482.2 |
Starting relay |
1 |
|
|
8 |
TC02482150001K |
Body harness assembly |
1 |
|
|
9 |
TB450.482N.4 |
Right rocker switch assembly |
1 |
|
|
10 |
GB/T 818-M4×10-4.8-A2L |
Cross recessed pan head screw |
5 |
|
|
11 |
GB/T 93-4-A0P |
Standard spring washer |
5 |
175
Foton TC2A604-007K Wheeled Tractor
TB550.483 Harness Installation Assembly, Front Lamp


176
Foton TC2A604-007K Wheeled Tractor
TB550.483 Harness Installation Assembly, Front Lamp
|
No. |
Part code and specification |
Part name |
Quantity |
Remark |
|
TB550.483 |
Harness Installation Assembly, Front Lamp |
1 |
||
|
1 |
TB550.483.1 |
Front lamp harness assembly |
1 |
|
|
2 |
GB/T 6170-M6-8-A2L |
Type 1 hex nut |
3 |
|
|
3 |
GB/T 93-6-A0P |
Standard spring washer |
3 |
|
|
4 |
GB/T 97.1-6-A0P |
Flat washer |
3 |
|
|
5 |
FT65.48.340 |
Horn assembly |
1 |
|
|
6 |
GB/T 5783-M6×16-8.8-A2L |
Hex bolt |
1 |
|
|
7 |
GB/T 97.1-8-A0P |
Flat washer |
2 |
|
|
8 |
GB/T 93-8-A0P |
Standard spring washer |
2 |
|
|
9 |
GB/T 5783-M8×16-8.8-A2L |
Hex bolt |
2 |
|
|
10 |
GB/T 818-M5×14-4.8-A2L |
Cross recessed pan head screw |
1 |
|
|
11 |
TB400.483-01 |
Harness buckle |
1 |
|
|
12 |
GB/T 97.1-5-A0P |
Flat washer |
1 |
|
|
13 |
GB/T 93-5-A0P |
Standard spring washer |
1 |
|
|
14 |
GB/T 6170-M5-8-A2L |
Type 1 hex nut |
1 |
|
|
15 |
FT65.48.097 |
Harness fixing clip (2) |
6 |
|
|
16 |
TB550.483.2 |
Front lamp assembly |
1 |
177
Foton TC2A604-007K Wheeled Tractor
TC02484080000K Harness Installation Assembly, Rear Lamp

178
Foton TC2A604-007K Wheeled Tractor
TC02484080000K Harness Installation Assembly, Rear Lamp
|
No. |
Part code and specification |
Part name |
Quantity |
Remark |
|
TC02484080000K |
Harness installation assembly, rear lamp |
1 |
||
|
1 |
FT65.48.094 |
Wire through ring (2) |
2 |
|
|
2 |
TC02484020003 |
Rear work lamp assembly |
2 |
|
|
3 |
TB550.484.4 |
Rear taillamp assembly |
2 |
|
|
4 |
GB/T 818-M5×35-4.8-A1L |
Cross recessed countersunk head screw |
3 |
|
|
5 |
GB/T 93-5-A0P |
Standard spring washer |
3 |
|
|
6 |
GB/T 97.1-5-A0P |
Plain washer |
3 |
|
|
7 |
TD900.484.2 |
Rear trailer socket |
1 |
|
|
8 |
FT65.48.093 |
Wire through ring (1) |
2 |
|
|
9 |
GB/T 6170-M5-8-A2L |
Hexagon nut, style 1 |
3 |
|
|
10 |
TC02484060001K |
Air pressure alarm |
1 |
|
|
11 |
TC02484070001K |
Rear lamp harness assembly |
1 |
|
|
12 |
TA600.486-01 |
Harness fastener |
2 |
|
|
13 |
TB550.484.2 |
Brake lamp switch |
2 |
|
|
14 |
FT300.48C.211 |
Brake switch installation plate |
1 |
179
Foton TC2A604-007K Wheeled Tractor
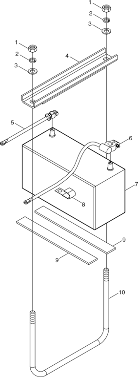
TB450.485A Battery Installation Assembly(007)


180
Foton TC2A604-007K Wheeled Tractor
TB450.485A Battery Installation Assembly(007)
|
No. |
Part code and specification |
Part name |
Quantity |
Remark |
|
TB450.485A |
Battery Installation Assembly |
1 |
||
|
1 |
GBT6170-M8-8-A2L |
Hex nut, style 1 |
2 |
|
|
2 |
GBT93-8-A0P |
Standard spring washer |
2 |
|
|
3 |
GBT97.1-8-A0P |
Flat washer |
2 |
|
|
3.1 |
TG1204.485-02 |
Battery press plate |
1 |
|
|
3.2 |
TB400.485A.2 |
Battery bonding |
1 |
|
|
4 |
TB400.485A.1 |
Power source wire assembly |
1 |
|
|
5 |
FT450.48.010 |
Maintenance free lead acid battery |
1 |
|
|
6 |
TB450.485.2 |
Harness fixing clamp |
1 |
|
|
7 |
TB450.485.1 |
Battery shock absorbing mat |
2 |
|
|
8 |
TG1204.485-01 |
Battery U-shape pull rod |
1 |
|
|
9 |
Q67405200 |
Plastic hoop belt |
1 |
181
Foton TC2A604-007K Wheeled Tractor
TC02487010000K Compound Instrument Assembly

182
Foton TC2A604-007K Wheeled Tractor
TC02487010000K Compound Instrument Assembly
|
No. |
Part code and specification |
Part name |
Quantity |
Remark |
|
1 |
TC02487010000K TC02487010000K |
Compound instrument assembly Compound instrument assembly |
1 1 |
183
Foton TC2A604-007K Wheeled Tractor
TB550.489B Preheating device assembly

184
