LOVOL TC2A604-007K Tractor Parts Catalogue 15
Foton TC2A604-007K Wheeled Tractor
TC02451090000K Driver’s Cab Assembly-1
|
No. |
Part code and specification |
Part name |
Quantity |
Remark |
|
TC02451090000K |
Driver’s cab assembly |
1 |
||
|
1 |
TC02451090001K |
Driver’s cab subassembly |
1 |
|
|
2 |
GBT5783-M12X65-8.8-A2L |
Hexagon head bolt |
4 |
|
|
3 |
GBT96.1-12-A0P |
Large washer |
4 |
|
|
4 |
GBT97.1-12-A0P |
Plain washer |
4 |
|
|
5 |
GBT93-12-A0P |
Standard spring washer |
4 |
|
|
6 |
GBT6170-M12-8-A3L |
Hexagon nut, style 1 |
4 |
|
|
7 |
GBT5783-M10X30-8.8-A3L |
Hexagon head bolt |
6 |
|
|
8 |
GBT97.1-10-A0P |
Plain washer |
10 |
|
|
9 |
GBT93-10-A0P |
Standard spring washer |
10 |
|
|
10 |
TB600.45L-69 |
Instrument panel seal strip |
1 |
|
|
11 |
GBT5783-M6X16-8.8-A2L |
Hexagon head bolt |
6 |
|
|
12 |
GBT93-6-A0P |
Standard spring washer |
6 |
|
|
13 |
GBT97.1-6-A0P |
Plain washer |
6 |
|
|
14 |
TB600.45L-02 |
Instrument panel assembly |
1 |
|
|
15 |
GBT6170-M8-8-A2L |
Hexagon nut, style 1 |
2 |
|
|
16 |
GBT97.1-8-A0P |
Plain washer |
2 |
|
|
17 |
GBT93-8-A0P |
Standard spring washer |
2 |
|
|
18 |
GBT5783-M8X20-8.8-A2L |
Hexagon head bolt |
2 |
|
|
19 |
TB400.474H.2 |
Bonnet air spring |
2 |
|
|
20 |
GBT5783-M10X65-8.8-A2L |
Hexagon head bolt |
4 |
135
Foton TC2A604-007K Wheeled Tractor
TC02451090000K Driver’s Cab Assembly-2



136
Foton TC2A604-007K Wheeled Tractor
TC02451090000K Driver’s Cab Assembly-2
|
No. |
Part code and specification |
Part name |
Quantity |
Remark |
|
TC02451090000K |
Driver’s cab assembly |
1 |
||
|
TC02451090001K |
Driver’s cab subassembly |
1 |
||
|
1 |
TB600.45L-05a |
Top cover |
1 |
|
|
2 |
TB600.45N-01a |
Inner top liner |
1 |
|
|
3 |
TB600.45L-30 |
Inner decoration button |
14 |
|
|
4 |
TB600.45.4 |
Left rear-view mirror assembly |
1 |
|
|
4.1 |
TB600.45.4-01 |
Rear-view mirror |
1 |
|
|
4.2 |
TB600.45.4-02 |
Left rear-view mirror bracket |
1 |
|
|
4.3 |
GBT93-8-A0P |
Standard spring washer |
1 |
|
|
4.4 |
GBT5781-M8X20-4.8-A2L |
Hexagon head bolt |
1 |
|
|
5 |
TB600.45L-23 |
Front windshield glass |
1 |
|
|
6 |
TB600.45L-31 |
Glass backing block |
4 |
|
|
7 |
TB600.45L-24 |
Left front lower window glass |
1 |
|
|
8 |
TB600.45L-25 |
Right front lower window glass |
1 |
|
|
9 |
TB600.45.5 |
Right rearview mirror assembly |
1 |
|
|
9.1 |
TB600.45.4-01 |
Rearview mirror |
1 |
|
|
9.2 |
TB600.45.5-01 |
Right rearview mirror bracket |
1 |
|
|
9.3 |
GBT93-8-A0P |
Standard spring washer |
1 |
|
|
9.4 |
GBT5781-M8X20-4.8-A2L |
Hexagon head bolt |
1 |
|
|
10 |
TB600.45P.1.1 |
Driver’s cab weldment |
1 |
|
|
11 |
TB600.45L-70 |
Dome rubber pad |
4 |
|
|
12 |
TB600.45L-29 |
Cabin hook |
2 |
|
|
13 |
TB600.45M.1-01 |
Driver’s cab mark plate |
1 |
|
|
14 |
GBT12618-4X16 |
Mushroom head break mandrel blind rivet |
4 |
137
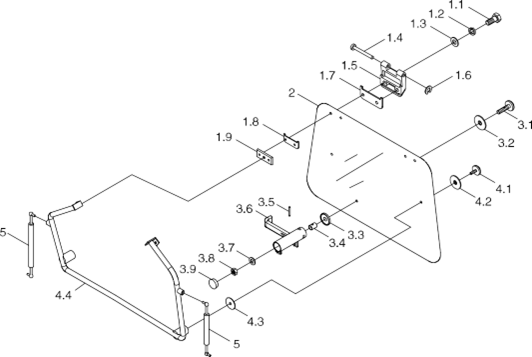
Foton TC2A604-007K Wheeled Tractor
TC02451090000K Driver’s Cab Assembly-3



138
Foton TC2A604-007K Wheeled Tractor
TC02451090000K Driver’s Cab Assembly-3
|
No. |
Part code and specification |
Part name |
Quantity |
Remark |
|
TC02451090000K |
Driver’s cab assembly |
1 |
||
|
TC02451090001K |
Driver’s cab subassembly |
1 |
||
|
TB600.45L.4 |
Rear window assembly |
1 |
||
|
1 |
TB600.45.6.2 |
Rear window hinge |
2 |
|
|
1.1 |
GBT5781-M6X25-4.8-A2L |
Hex bolt |
2 |
|
|
1.2 |
GBT93-6-A0P |
Standard spring washer |
2 |
|
|
1.3 |
GBT97.1-6-A0P |
Flat washer |
2 |
|
|
1.4 |
TB600.45.6.2-05 |
Rear window hinge shaft |
1 |
|
|
1.5 |
TB600.45.6.2-01 |
Rear window hinge seat |
1 |
|
|
1.6 |
TB600.45.6.2-06 |
Clip spring |
1 |
|
|
1.7 |
TB600.45.6.2-04 |
Rear window hinge outer pad |
1 |
|
|
1.8 |
TB600.45.6.2-03 |
Rear window hinge inner pad |
1 |
|
|
1.9 |
TB600.45.6.2-02 |
Rear window hinge cover |
1 |
|
|
2 |
TB600.45L-22 |
Rear windshield |
1 |
|
|
3 |
TB600.45.6.1 |
Rear window locking body assembly |
1 |
|
|
3.1 |
TB600.45.6.1-06 |
M12 bolt rod |
1 |
|
|
3.2 |
TB600.45.6.1-03 |
Rear window locking inner pad, B flat |
1 |
|
|
3.3 |
TB600.45.6.1-02 |
Rear window locking outer pad, A convex |
1 |
|
|
3.4 |
TB600.45.6.1-05 |
Clamping sleeve |
1 |
|
|
3.5 |
TB600.45.6.1-07 |
Pin shaft |
1 |
|
|
3.6 |
TB600.45.6.1-01 |
Rear window locking body |
1 |
|
|
3.7 |
GBT97.1-12-A0P |
Flat washer |
1 |
|
|
3.8 |
GBT6170-M12-8-A3L |
Type 1 hex nut |
1 |
|
|
3.9 |
TB600.45.6.1-04 |
Rear cover |
1 |
|
|
4 |
TB600.45.6.3 |
Rear window handle weldment |
1 |
|
|
4.1 |
TB600.45.6.3-02 |
M8 bolt rod |
2 |
|
|
4.2 |
TB600.45.6.3-03 |
Rear window handle inner pad, B flat |
2 |
|
|
4.3 |
TB600.45.6.3-04 |
Rear window handle outer pad, A convex |
2 |
|
|
4.4 |
TB600.45.6.3-01 |
Rear window handle weldment |
1 |
|
|
5 |
TB600.45L-09 |
Rear window gas spring |
2 |
|
|
6 |
TB600.45L-17 |
Rear windshield glass rubber strip |
1 |
139
Foton TC2A604-007K Wheeled Tractor
TC02451090000K Driver’s Cab Assembly-4



140
Foton TC2A604-007K Wheeled Tractor
TC02451090000K Driver’s Cab Assembly-4
|
No. |
Part code and specification |
Part name |
Quantity |
Remark |
|
TC02451090000K |
Driver’s cab assembly |
1 |
||
|
TC02451090001K |
Driver’s cab subassembly |
1 |
||
|
TB600.45L.5 |
Left door assembly |
1 |
||
|
TB600.45L.6 |
Right door assembly |
1 |
||
|
1 |
TB600.45L-13 |
Left door glass rubber strip |
1 |
|
|
1 |
TB600.45L-14 |
Right door glass rubber strip |
1 |
|
|
2 |
TB600.45L.5-05 |
Door armrest inner pad |
1 |
|
|
3 |
TB600.45.9.1 |
Left door hinge |
2 |
|
|
3 |
TB600.45.10.1 |
Right door hinge |
2 |
|
|
3.1 |
GBT5781-M10X25-4.8-A3L |
Hexagon head bolt |
4 |
|
|
3.2 |
GBT93-10-A0P |
Standard spring washer |
4 |
|
|
3.3 |
GBT97.1-10-A0P |
Plain washer |
4 |
|
|
3.4 |
TB600.45.9.1-06 |
Upper hinge inner plate |
1 |
|
|
3.4 |
TB600.45.9.1-07 |
Left lower hinge inner plate |
1 |
|
|
3.5 |
TB600.45.9.1-05 |
Hinge inner plate |
2 |
|
|
3.6 |
TB600.45.9.1-03 |
Left upper hinge outer pad |
1 |
|
|
3.6 |
TB600.45.9.1-04 |
Left lower hinge outer pad |
1 |
|
|
3.7 |
TB600.45.9.1-02 |
Hinge shaft |
2 |
|
|
3.8 |
TB600.45.9.1-01 |
Hinge |
2 |
|
|
3.9 |
TB600.45.9.1-08 |
Hinge bolt |
2 |
|
|
4 |
TB600.45L-18 |
Left door glass |
1 |
|
|
4 |
TB600.45L-19 |
Right door glass |
1 |
|
|
5 |
TB600.45.9-05 |
Door air spring |
1 |
|
|
6 |
TB600.45.10-04 |
Right door lock body fixing plate |
1 |
|
|
7 |
TB600.45.9-08 |
Lock box pad |
1 |
|
|
8 |
TB600.45.9-06 |
Lock large pad |
1 |
|
|
9 |
TB600.45.10-03 |
Right door lock assembly |
1 |
|
|
9 |
TB600.45.9-04 |
Left door lock assembly |
1 |
|
|
10 |
TB600.45.9-07 |
Lock small pad |
1 |
|
|
11 |
TB600.45L.5-06 |
Door armrest outer pad |
1 |
141
Foton TC2A604-007K Wheeled Tractor
TC02451090000K Driver’s Cab Assembly-5

142
Foton TC2A604-007K Wheeled Tractor
TC02451090000K Driver’s Cab Assembly-5
|
No. |
Part code and specification |
Part name |
Quantity |
Remark |
|
TC02451090000K |
Driver’s cab assembly |
1 |
||
|
TC02451090001K |
Driver’s cab subassembly |
1 |
||
|
1 |
FT650.48.085 |
Right armrest signal lamp assembly |
1 |
|
|
2 |
FT650.48.084 |
Left armrest signal lamp assembly |
1 |
|
|
3 |
TB600.45L.2 |
Left side window assembly |
1 |
|
|
3 |
TB600.45L.3 |
Right side window assembly |
1 |
|
|
3.1 |
TB600.45L-16 |
Right side window glass strip |
1 |
|
|
3.2 |
TB600.45L-20 |
Left side window glass |
1 |
|
|
3.2 |
TB600.45L-21 |
Right side window glass |
1 |
|
|
3.3 |
TB600.45L.2.1 |
Side window hinge chain unit |
2 |
|
|
3.3.1 |
GBT819.1-M8X20-4.8-A2L |
Cross recessed countersunk head screw |
1 |
|
|
3.3.2 |
TB600.45L.2.1-01 |
Side window hinge chain |
1 |
|
|
3.3.3 |
TB600.45L.2.1-02 |
Side window hinge chain pad |
1 |
|
|
3.3.4 |
TB600.45L.2.1-04 |
Plastic nut gasket |
1 |
|
|
3.3.5 |
TB600.45L.2.1-03 |
M8 plastic nut |
1 |
|
|
3.4 |
TB600.45L.2.2 |
Left side window open handle |
1 |
|
|
3.4 |
TB600.45L.3.1 |
Right side window open handle |
1 |
|
|
3.4.1 |
TB600.45L.2.2-01 |
Left side window handle |
1 |
|
|
3.4.1 |
TB600.45L.3.1-01 |
Right side window handle |
1 |
|
|
3.4.2 |
GBT819.1-M8X20-4.8-A2L |
Cross recessed countersunk head screw |
2 |
|
|
3.4.3 |
TB600.45L.2.2-03 |
Side window lock seat |
1 |
|
|
3.4.4 |
TB600.45L.2.2-02 |
Side window handle pad |
1 |
|
|
3.4.5 |
TB600.45L.2.1-04 |
Plastic nut pad |
2 |
|
|
3.4.6 |
TB600.45L.2.1-03 |
M8 plastic nut |
2 |
|
|
4 |
FT650.48.082 |
Dome lamp assembly |
4 |
|
|
5 |
TB600.45L-53 |
Wire through ring |
4 |
|
|
6 |
TB600.45L-60 |
Rear wiper assembly |
1 |
|
|
7 |
TB600.45L.10 |
Heater installation assembly |
1 |
|
|
8 |
TB450.486A.1 |
Dome lamp harness assembly |
1 |
|
|
9 |
TB600.45L-11 |
Front wiper assembly |
1 |
|
|
10 |
TB600.45L-67 |
Dome lamp |
1 |
|
|
11 |
TB600.45L-90 |
Four-function rocker switch |
1 |
143
Foton TC2A604-007K Wheeled Tractor
TC02451090000K Driver’s Cab Assembly-5(extension)

144
