LOVOL TC2A604-007K Tractor Parts Catalogue 11
Foton TC2A604-007K Wheeled Tractor
TB450.802A Gas holder installation assembly
|
No. |
Part code and specification |
Part name |
Quantity |
Remark |
|
TB450.802A |
Gas holder installation assembly |
1 |
||
|
1 |
TB450.802A.2 |
Bracket weldment assembly |
2 |
|
|
2 |
FT300.80.033 |
Water drainage valve assembly |
1 |
|
|
3 |
FT300.80.034 |
Safety valve assembly |
1 |
|
|
4 |
TB450.802A.1 |
Gas holder weldment |
1 |
|
|
5 |
GB/T 5783-M8×20-A2L |
Bolt |
10 |
|
|
6 |
GB/T 93-8-A0P |
Standard spring washer |
10 |
|
|
7 |
GB/T 97.1-8-A0P |
Flat washer |
14 |
|
|
8 |
GB/T 6170-M8-A2L |
Nut |
4 |
95
Foton TC2A604-007K Wheeled Tractor
TB550.803Q Air transfer pipeline assembly

96
Foton TC2A604-007K Wheeled Tractor
TB550.803Q Air transfer pipeline assembly
|
No. |
Part code and specification |
Part name |
Quantity |
Remark |
|
1 2 3 4
5 6 |
TB550.803Q TB450.803.2 FT300.80.103 TB550.803Q.1 FT300.80.101a
GB/T 97.1-12-A0P GB/T 5783-M12×25-A3L |
Air transfer pipeline assembly Air brake hose assembly Straight pipe joint Air compressor outlet pipe assembly Clip
Washer Bolt |
1 1 1 1 1
1 1 |
97
Foton TC2A604-007K Wheeled Tractor
FT300.53.001 Traction Equipment Assembly


98
Foton TC2A604-007K Wheeled Tractor
FT300.53.001 Traction Equipment Assembly
|
No. |
Part code and specification |
Part name |
Quantity |
Remark |
|
FT300.53.001 |
Traction equipment assembly |
1 |
||
|
1 |
FT300.53.106 |
Traction pin |
1 |
|
|
2 |
FT300.56.029 |
Lock pin assembly |
2 |
|
|
3 |
FT300.53.108a |
Traction frame |
1 |
|
|
4 |
FT65.53.103 |
Elastic lock pin |
2 |
|
|
5 |
FT300.53.101a |
Connecting pin |
2 |
|
|
6 |
FT300.53.102 |
Traction pin |
1 |
|
|
7 |
FT300.53.103 |
Supporting sleeve |
1 |
99
Foton TC2A604-007K Wheeled Tractor
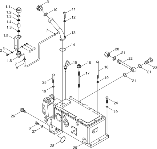
TB504.551A Lifter Assembling Assembly-1(013)

100
Foton TC2A604-007K Wheeled Tractor
TB504.551A Lifter Assembling Assembly-1(013)
|
No. |
Part code and specification |
Part name |
Quantity |
Remark |
|
TB504.551A |
Lifter assembling assy |
1 |
||
|
1 |
FT300.55B.016c |
Breather assembly |
1 |
|
|
1.1 |
FT700.55D.136 |
Breather cover |
1 |
|
|
1.2 |
GBT893.1-26 |
Hole circlip |
1 |
|
|
1.3 |
FT650.40.167 |
Base plate |
2 |
|
|
1.4 |
FT700.55D.109 |
Breather filter element |
1 |
|
|
1.5 |
FT300.55B.164 |
Respirator bracket |
1 |
|
|
1.6 |
FT300.55B.027a |
Connecting pipe weldment, breather |
1 |
|
|
2 |
GBT5783-M10X20-8.8-A3L |
Hexagon head bolt |
2 |
|
|
3 |
GBT97.1-10-A0P |
Flat washer |
4 |
|
|
4 |
GBT93-10-A0P |
Standard spring washer |
2 |
|
|
5 |
GBT6170-M10-8-A3L |
Hexagon nut , Style 1 |
2 |
|
|
6 |
GBT5783-M8X30-10.9-A2L |
Hexagon head bolt |
2 |
|
|
7 |
Q67512 |
Worm driven hose hoop, type A |
2 |
|
|
8 |
FT300.55B.169 |
Connecting hose 2, breather |
1 |
|
|
9 |
TA700.55A.7-01a |
Oil filler screw cap |
1 |
|
|
10 |
JBT982-33 |
Compound seal gasket |
1 |
|
|
11 |
GBT70.1-M8X25-8.8-A2L |
Hexagon socket head cap screw |
2 |
|
|
12 |
GBT93-8-A0P |
Standard spring washer |
2 |
|
|
13 |
FT300.55B.026a |
Oil filler pipe weldment |
1 |
|
|
14 |
GBT3452.1-32.5X1.80G |
|
1 |
|
|
15 |
FT300.55B.022a |
Dipstick cluster |
1 |
|
|
16 |
SPL-CO-M12-10-F3 |
Hexagon flange nut |
2 |
|
|
17 |
TB300.55-01 |
Double-headed stud M12×250 |
2 |
|
|
18 |
FT300.55B.136 |
Bolt M12×235 |
2 |
|
|
19 |
TB404.312B-01 |
Washer |
7 |
|
|
20 |
FT300.55B.121a |
Delivery pipe nut |
1 |
|
|
21 |
JBT982-22 |
Compound seal gasket |
3 |
|
|
22 |
FT300.55B.024 |
Drain pipe welding assembly |
1 |
|
|
23 |
FT300.58.101 |
Hollow bolt |
1 |
|
|
24 |
GBT5783-M12X40-10.9-A3L |
Hexagon head bolt |
3 |
|
|
25 |
GBT5783-M12X100-10.9-A3L |
Hexagon head bolt |
2 |
101
Foton TC2A604-007K Wheeled Tractor
TB504.551A Lifter Assembling Assembly-1(013)(extension)

102
Foton TC2A604-007K Wheeled Tractor
TB504.551A Lifter Assembling Assembly-1(013)
|
No. |
Part code and specification |
Part name |
Quantity |
Remark |
|
26 27 28 29 |
GBT16674.1-M12X35-10.9-A2L TB300.55-02 GBT3452.1-103X2.65G TB504.551A.1a |
Hexagon flange bolt Washer Rubber O-ring Lifter assembly |
4 2 1 1 |
103
Foton TC2A604-007K Wheeled Tractor
TB504.551A Lifter Assembling Assembly-2(013)

104

