HELI CPYD15C-KU1H single fuel hydraulic forklift parts catalog 07
|
H1H24-40201 01 Front wheel assembly |
|||||||
|
H1H24-40201 01 前轮总成 |
|||||||
|
序号 No. |
零部件代号 Part No. |
版本 Edition |
名称 Part name |
数量 Q’ty |
备注 Remark |
||
|
1 |
H1H24-42001 |
01 |
Rear rim assembly |
前轮辋 |
1 |
||
|
2 |
Z3200-60032 |
00 |
Tire |
实心轮胎 |
1 |
||
|
2 |
Z3200-60032B |
00 |
Tire |
实心轮胎 |
1 |
No trace |
无痕迹 |
|
2 |
Z3230-60032 |
00 |
Tyre 18x6x12 1/8 |
轮胎 18x6x12 1/8 |
1 |
||
|
2 |
Z3230-60032B |
00 |
No-marking tyre |
无痕迹轮胎 18x6x12 1/8 |
1 |
No trace |
无痕迹 |
|
H1H24-40301 00 Rear wheel |
|
H1H24-40301 00 后轮总成 |
|
|
|
H1H24-40301 00 Rear wheel |
|||||||
|
H1H24-40301 00 后轮总成 |
|||||||
|
序号 No. |
零部件代号 Part No. |
版本 Edition |
名称 Part name |
数量 Q’ty |
备注 Remark |
||
|
1 |
H1H24-43001 |
00 |
Rear wheel hub |
后轮毂 |
1 |
||
|
2 |
Z3230-50010 |
00 |
Tyre 14X5X10 |
轮胎(无花纹) 14X5X10 |
1 |
||
|
2 |
Z3230-50010B |
00 |
Traceless tyres (no pattern) 14X5X10 |
无痕迹轮胎(无花纹) 14X5X10 |
1 |
No trace |
无痕迹 |
|
2 |
Z3200-50010 |
00 |
Tyre 14X5X10 |
轮胎(有花纹) 14X5X10 |
1 |
||
|
2 |
Z3200-50010B |
00 |
Traceless tyres (patterned) 14X5X10 |
无痕迹轮胎(有花纹) 14X5X10 |
1 |
No trace |
无痕迹 |
|
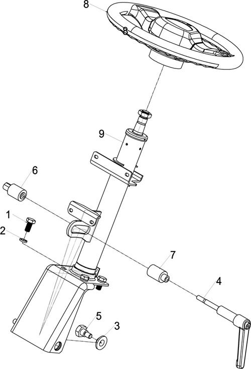
G2KE4-10001 05 Steering system |
|
G2KE4-10001 05 转向系统 |
|
|
|
G2KE4-10001 05 Steering system |
|||||||
|
G2KE4-10001 05 转向系统 |
|||||||
|
序号 No. |
零部件代号 Part No. |
版本 Edition |
名称 Part name |
数量 Q’ty |
备注 Remark |
||
|
1 |
B0330-10020 |
00 |
Bolt |
螺栓 M10x20 |
4 |
GB5783-86 |
GB5783-86 |
|
2 |
B5050-00010 |
00 |
Washer |
垫圈 10 |
4 |
GB93-87 |
GB93-87 |
|
3 |
G27Z4-12011 |
01 |
Washer |
垫圈 |
2 |
||
|
4 |
H2MD4-10301 |
01 |
Lever |
手柄总成 |
1 |
||
|
5 |
G27Z4-12001 |
01 |
Bolt |
螺栓 |
2 |
||
|
6 |
KM914-12011 |
04 |
Nut |
螺母 |
1 |
||
|
7 |
KM914-12031 |
02 |
Spacer |
套管 |
1 |
||
|
8 |
H2MD4-10401 |
01 |
Wheel assembly |
方向盘总成 |
1 |
Normal with HELI |
标配带 HELI 字样 |
|
8 |
H2MD4-10501 |
00 |
The wheel assembly(without “HELI”) |
方向盘总成(无 heli 字样) |
1 |
Option Neutral Packing |
选用中性包装 |
|
8 |
H2MD4-10601 |
00 |
Wheel assembly |
方向盘总成 |
1 |
Option Without knob |
选用无手柄球 |
|
9 |
H2MD4-10101 |
04 |
Column |
转向管柱总成 |
1 |
||
|
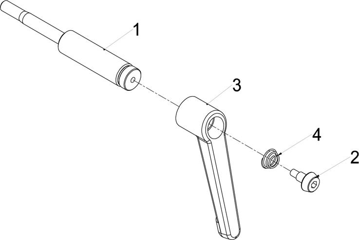
H2MD4-10301 01 Lever |
|
H2MD4-10301 01 手柄总成 |
|
|
|
H2MD4-10301 01 Lever |
|||||||
|
H2MD4-10301 01 手柄总成 |
|||||||
|
序号 No. |
零部件代号 Part No. |
版本 Edition |
名称 Part name |
数量 Q’ty |
备注 Remark |
||
|
1 |
H2MD4-12071 |
02 |
Bolt |
锁紧螺栓 |
1 |
||
|
2 |
G27Z4-12031C |
00 |
Nut |
螺母 |
1 |
||
|
3 |
G27Z4-12031A |
02 |
Knob,lever |
手柄 |
1 |
||
|
4 |
G27Z4-12031D |
00 |
Spring |
螺旋弹簧 |
1 |
||
|
H2MD4-10101 04 Column |
|
H2MD4-10101 04 转向管柱总成 |
|
空白页 Blank Page |
|
H2MD4-10101 04 Column |
|||||||
|
H2MD4-10101 04 转向管柱总成 |
|||||||
|
序号 No. |
零部件代号 Part No. |
版本 Edition |
名称 Part name |
数量 Q’ty |
备注 Remark |
||
|
1 |
B4413-00016 |
00 |
Nut |
螺母 M16x1.5 |
1 |
GB6173-86 |
GB6173-86 |
|
2 |
B6150-00020 |
00 |
Snap ring |
挡圈 20 |
1 |
GB894.1-86 |
GB894.1-86 |
|
3 |
B8432-05008 |
00 |
Screw |
螺钉 M5X8 |
2 |
GB75-85 |
GB75-85 |
|
4 |
Z-61904 |
00 |
Bearing |
轴承 61904 |
1 |
GB/T276-94 |
GB/T276-94 |
|
5 |
B1932-03008 |
00 |
Screw M3x8 |
螺钉 M3x8 |
2 |
GB73-85 |
GB73-85 |
|
6 |
G27Z4-12371 |
01 |
Spacer |
隔套 |
1 |
||
|
7 |
G27Z4-12381 |
01 |
Conductive ring |
导电圈 |
1 |
||
|
8 |
G27Z4-12391 |
01 |
Wearing |
支承圈 |
1 |
||
|
9 |
G27Z4-12411 |
01 |
Grommet |
喇叭线套 |
1 |
||
|
10 |
H2MD4-12061 |
01 |
Transmission shaft |
传动轴 |
1 |
||
|
11 |
H2MD4-10201 |
04 |
Bracket |
转向机架 |
1 |
||
|
12 |
H9DA6-43581 |
00 |
Bracket |
L 形支架 |
2 |
||
|
H1H24-30001 01 Steering axle |
|
H1H24-30001 01 横置油缸转向桥 |
|
|
|
H1H24-30001 01 Steering axle |
|||||||
|
H1H24-30001 01 横置油缸转向桥 |
|||||||
|
序号 No. |
零部件代号 Part No. |
版本 Edition |
名称 Part name |
数量 Q’ty |
备注 Remark |
||
|
1 |
H1H24-32001 |
01 |
Axle assembly |
铸造转向桥体 |
1 |
||
|
2 |
H1H24-30201 |
01 |
Steering cylinder |
转向油缸总成 |
1 |
||
|
3 |
H1H24-32051 |
01 |
Link |
连杆 |
2 |
||
|
4 |
H1H24-32031 |
01 |
Pin,king |
右转向节 |
1 |
||
|
5 |
H1H24-32041 |
01 |
Pin,king |
左转向节 |
1 |
||
|
6 |
24234-32181 |
03 |
King Pin,steering knuckle |
转向节主销 |
2 |
||
|
7 |
22574-32102 |
00 |
Ring seal |
骨架密封圈 |
2 |
||
|
8 |
Z-30208 |
00 |
Bearing 30208 |
轴承 30208 |
2 |
GB/T297-94 |
GB/T297-94 |
|
9 |
Z-30206 |
00 |
Bearing 30206 |
轴承 30206 |
2 |
GB/T297-94 |
GB/T297-94 |
|
10 |
G15X4-32111 |
00 |
Washer |
垫圈 |
2 |
GB97.1-85 |
GB97.1-85 |
|
11 |
24234-32311 |
00 |
Nut M24X2 |
开槽螺母 M24X2 |
2 |
||
|
12 |
B3010-05045 |
00 |
Pin 5×45 |
销 5×45 |
2 |
GB91-86 |
GB91-86 |
|
13 |
22194-32361 |
01 |
Hub cover |
轮毂盖 |
2 |
||
|
14 |
Z-942/25 |
00 |
Bearing |
轴承 |
4 |
GB290-82 |
GB290-82 |
|
15 |
20114-30091 |
01 |
Steering knuckle shim |
转向节调整垫 |
4 |
||
|
16 |
B5050-00014 |
00 |
Washer |
垫圈 14 |
4 |
GB93-87 |
GB93-87 |
|
17 |
B0330-14045 |
00 |
Bolt M14x45 |
螺栓 M14x45 |
4 |
GB5783-86 |
GB5783-86 |
|
18 |
Q700B06 |
01 |
Fitting |
直通式滑油嘴 |
4 |
ZBT33001.1 -88 |
ZBT33001.1 -88 |
|
19 |
G27Z4-32011 |
00 |
Pin M12x30 |
紧定螺钉 M12x30 |
2 |
||
|
20 |
B4123-00012 |
00 |
Nut |
螺母 M12 |
2 |
GB6170-86 |
GB6170-86 |
|
21 |
Z-198905 |
00 |
Bearing |
平面轴承 |
2 |
GB301-95 |
GB301-95 |
|
22 |
Q701B90 |
00 |
Fitting |
弯颈式滑脂嘴 90° |
4 |
||
|
23 |
24234-32241 |
00 |
O-ring |
O 型圈,24.8*4.3 |
2 |
||
|
24 |
24234-32231 |
01 |
Iron shell oil seal |
铁壳油封 |
4 |
||
|
25 |
A21B4-32281 |
00 |
Adjusting pad |
调整垫 |
4 |
||
|
26 |
K2TJ4-32061 |
01 |
Cushion |
减震块 |
2 |
||
|
27 |
K2TJ4-32071 |
00 |
Support |
支架 |
2 |
||
|
28 |
H24C4-32061 |
02 |
Bearing |
关节轴承 |
4 |
||
|
29 |
A7V94-32021 |
00 |
Link pin |
连杆销 |
4 |
||
|
30 |
B0530-08016 |
00 |
Bolt M8x1x16 |
螺栓 M8x1x16 |
4 |
GB5786-86 |
GB5786-86 |
|
31 |
B5050-00008 |
00 |
Washer |
垫圈 8 |
4 |
GB93-87 |
GB93-87 |
|
H1H24-30001 01 Steering axle |
|
H1H24-30001 01 横置油缸转向桥 |
|
|








