YTO LX604/LX654/LX704/LX754/LX804/LX904 Tractor Parts Catalogue 03

|
序号 No. |
零件名称 Part |
零件代号 DrawingNo. |
数量 Qty. |
序号 No. |
零件名称 Part |
零件代号 DrawingNo. |
数量 Qty. |
|
1 |
离合器分离推力轴承 |
5136682/1.26.215 |
1 |
16 |
扇形板 |
SZ804.21.303 |
1 |
|
2 |
主离合器分离套筒 |
5147787/1.26.214 |
1 |
17 |
开口销 3.2×16-Zn.D |
GB/T97.1-2002 |
1 |
|
3 |
螺母 M8-Zn.D |
GB/T6170-2000 |
3 |
18 |
螺栓 M10×1.25×25 |
GB/T5786-2000 |
2 |
|
4 |
垫圈 8-Zn.D |
GB/T7244-1987 |
3 |
19 |
下拉杆合件 |
SZ700.21.031 |
1 |
|
5 |
分离套筒滑动支座 |
5148155/1.26.243B |
1 |
20 |
螺母 M12-Zn.D |
GB/T6170-2000 |
1 |
|
分离套筒滑动支座 |
SZ804.21.701① |
1 |
21 |
分离软轴调节螺母 |
5104884SZ/1.26.206E |
1 |
|
|
6 |
螺柱 AM8-M8×28-8.8 |
GB/T899-1988 |
3 |
22 |
分离软轴调节连接叉 |
SZ804.21.507 |
1 |
|
7 |
平垫圈 8-Zn.D |
GB/T97.1-2002 |
1 |
23 |
弹 簧 |
5102356/1.26.522 |
1 |
|
8 |
开口销 2×12 |
GB/T91-2000 |
1 |
24 |
联接叉销轴 |
8808026003/1.26 |
1 |
|
9 |
上拉杆合件 |
SZ804.21.050 |
1 |
25 |
分离叉轴合件 |
LY1054.21.014 |
1 |
|
9.1 |
上拉杆 |
SZ804.21.501 |
1 |
26 |
主离合器分离叉 |
4993814/1.26.213 |
1 |
|
9.2 |
连接叉 |
SZ804.21.306 |
3 |
27 |
离合器分离叉螺钉 |
4968813/1.26.225 |
1 |
|
9.3 |
销轴 B6×24 |
GB/T 882-86 |
3 |
28 |
调整螺钉 |
SZ804.21.307 |
1 |
|
9.4 |
垫圈 6-Zn.D |
GB/T97.1-85 |
3 |
29 |
挡圈 22 |
11067075/12245 |
1 |
|
9.5 |
开口销 2×16 |
GB/T91-2000 |
3 |
30 |
垫圈 22.5×38×2.5 |
4997848/1.26.033 |
1 |
|
10 |
分离叉弹簧 |
44011615/1.26.224 |
2 |
31 |
螺栓 M8×18-Zn.D |
GB/T5783-2000 |
4 |
|
11 |
螺母 M10-Zn.D |
GB/T6170-2000 |
1 |
32 |
主离合器踏板支座合件 |
5120392/1.26.020 |
1 |
|
12 |
垫圈 10-Zn.D |
GB/T93-1987 |
3 |
33 |
踏板传动杆 |
5120396/1.26.037 |
1 |
|
13 |
垫圈 10-Zn.D |
GB/T97.1-2002 |
2 |
34 |
踏板合件 |
SZ804.21.040 |
1 |
|
14 |
支 板 |
SZ804.21.305-1 |
1 |
35 |
踏板座衬套 |
5110544/1.26.035A |
2 |
|
15 |
销 |
SZ804.21.304 |
1 |
36 |
油杯 M8×1 |
GB/T1152-1995 |
2 |
注:①装 LX954.37.101 壳体时用。

|
序号 No. |
零件名称 Part |
零件代号 DrawingNo. |
数量 Qty. |
序号 No. |
零件名称 Part |
零件代号 DrawingNo. |
数量 Qty. |
|
1 |
挡圈 D=22 |
11067075/12245 |
1 |
21 |
分离软轴调节螺母 |
5104884/1.26.206E |
1 |
|
2 |
垫圈 22.5×38×2.5 |
4997848/1.26.033 |
1 |
22 |
分离软轴调节连接叉 |
SZ804.21.507 |
1 |
|
3 |
踏板座衬套 |
5110544/1.26.035A |
2 |
23 |
螺栓 M10×1.25×25 |
GB/T5785-2000 |
2 |
|
4 |
螺栓 M8×18-Zn.D |
GB/T5783-2000 |
4 |
24 |
垫圈 10 |
GB/T93-1987 |
2 |
|
5 |
垫圈 8 |
GB/T7244-1987 |
8 |
25 |
软轴托架 |
5126321/1.26.233 |
1 |
|
6 |
主离合器踏板支座合件 |
885120392/1.26.020 |
1 |
26 |
离合器分离叉螺钉 |
4968813/1.26.225 |
1 |
|
7 |
踏板传动杆 |
5120396/1.26.037 |
1 |
27 |
分离叉轴焊合件 |
8A5119155SZ/1.26.224A |
1 |
|
8 |
离合器踏板焊合件 |
SZ804.21.040 |
1 |
28 |
油杯 M8×1 |
GB/T1152-1995 |
2 |
|
9 |
销 2×12 |
GB/T91-2000 |
3 |
29 |
螺母 M12-Zn.D |
GB/T6170-2000 |
2 |
|
10 |
垫圈 6 |
GB/T97.1-1985 |
3 |
30 |
调节螺钉 |
SZ804.21.307 |
1 |
|
11 |
销轴 B6×20 |
GB/T882-1986 |
2 |
31 |
弹簧 |
5102356/1.26.522 |
1 |
|
12 |
主离合器操纵软轴 |
LY1054.21.013 |
1 |
32 |
联接叉销轴 |
8808026003/1.26 |
1 |
|
13 |
螺柱 AM8-M8×28-8.8 |
GB/T899-1988 |
3 |
||||
|
14 |
分离套筒滑动支座 |
LY1054.37.104 |
1 |
||||
|
15 |
垫圈 8-Zn.D |
GB/T7244-1987 |
3 |
||||
|
16 |
螺母 M8-Zn.D |
GB/T6170-2000 |
3 |
||||
|
17 |
主离合器分离叉 |
4993814/1.26.213 |
1 |
||||
|
18 |
分离叉弹簧 |
44011615/1.26.224 |
2 |
||||
|
19 |
主离合器分离套筒 |
1004.21A.101 |
1 |
||||
|
20 |
离合器分离推力轴承 |
5136682/1.26.215 |
1 |

|
序号 No. |
零件名称 Part |
零件代号 DrawingNo. |
数量 Qty. |
序号 No. |
零件名称 Part |
零件代号 DrawingNo. |
数量 Qty. |
|
1 |
副离合器操纵手柄总成 |
5128770/1.26.506 |
1 |
8 |
分离叉弹簧 |
44011615/1.26.224 |
2 |
|
1.01 |
副离合器手柄按钮总成 |
5131448/1.26.521 |
1 |
9 |
轴承6015.2Z(GB278 轴承 |
GB/T276 |
1 |
|
1.02 |
手 柄 |
885128431/1.67.220 |
1 |
80115) |
|||
|
1.03 |
副离合器操纵手柄合件 |
8A5128449/1.26.502 |
1 |
10 |
副离合器分离推盘 |
4993817/1.26.530 |
1 |
|
1.04 |
手柄按钮弹簧 |
5105729/1.67.253 |
1 |
5106564/1.26.530B① |
1 |
||
|
1.05 |
限位爪控制杆 |
5128713SZ/1.26.508 |
1 |
11 |
副离合器叉轴合件 |
SZ804.21.060A |
1 |
|
1.06 |
挡圈 6 |
GB/T894.1-1986 |
1 |
12 |
主离合器分离叉 |
4993814/1.26.213 |
1 |
|
1.07 |
停车限位爪 |
5110155/1.67.223 |
1 |
13 |
副离合器软轴回位弹簧 |
5102356/1.26.522 |
1 |
|
1.08 |
限位爪销轴 |
5131437/1.67.260 |
1 |
14 |
离合器分离叉螺钉 |
4968813/1.26.225 |
1 |
|
1.09 |
限位爪铆钉 |
4985127/1.67.227 |
1 |
15 |
副离合回位弹簧调整板 |
5145535/1.26.581 |
1 |
|
1.10 |
副离合器手柄扇形板 |
SZ804.21.161 |
1 |
16 |
垫圈 16-Zn.D |
GB/T93-1987 |
2 |
|
1.11 |
停车制动操纵杆销轴 |
4988275/1.67.208 |
1 |
17 |
螺栓 M16×1.5×35 |
GB/T5786-2000 |
2 |
|
1.12 |
挡圈 14 |
GB/T894.1-1986 |
2 |
18 |
开口销 2×12-Zn.D |
GB/T91-2000 |
1 |
|
1.13 |
副离合器操纵手柄支座 |
8A5128809/1.26.542 |
1 |
19 |
平垫圈 6-Zn.D |
GB/T97.1-2002 |
1 |
|
2 |
副离合器软轴销 |
4998004/1.26.504 |
1 |
20 |
副离合器分离软轴合件 |
5126568/1.26.507B |
1 |
|
3 |
软轴环形螺母 |
5126325/1.26.518 |
1 |
21 |
分离软轴调节螺母 |
5104884/1.26.206E |
1 |
|
4 |
软轴后支架合件 |
5126322/1.26.512A |
1 |
22 |
分离软轴调节连接叉 |
SZ804.21.507 |
1 |
|
5 |
垫圈 8-Zn.D |
GB/T7244-1987 |
4 |
23 |
销轴 B6×20-Zn.D |
GB/T882-1986 |
1 |
|
6 |
螺母 M8-Zn.D |
GB/T6170-2000 |
4 |
||||
|
7 |
副离合器分离轴承座 |
4993816/1.26.514 |
1 |
||||
|
LY1054.21.101① |
1 |
①LX954 用

|
序号 No. |
零件名称 Part |
零件代号 DrawingNo. |
数量 Qty. |
序号 No. |
零件名称 Part |
零件代号 DrawingNo. |
数量 Qty. |
|
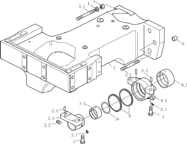
1 |
螺栓 M18×1.5×65 |
14272034/10357/04 |
4 |
||||
|
2 |
前桥摆销前支座合件 |
5140452/1.21.138A |
1 |
||||
|
2.1 |
油环 Z 1/8 in |
YTQ016-87 |
2 |
||||
|
2.2 |
黄油安全阀 0.5~1 |
13411117/14649 |
1 |
||||
|
2.3 |
前桥摆销前支座 |
5140451/1.21.138 |
1 |
||||
|
2.4 |
定位销 10 |
10837710/12506 |
4 |
||||
|
2.5 |
前桥摆销前衬套 |
5101112/1.21.194 |
1 |
||||
|
3.1 |
前托架固定螺柱 |
885151253/1.21.126 |
4 |
||||
|
3.2 |
前托架固定螺柱 |
5151252/1.21.126 |
2 |
||||
|
4 |
垫圈 16×34×4.4 |
11200274/10187 |
6 |
||||
|
5 |
螺母 M16×1.5 |
10790524/10112 |
6 |
||||
|
6 |
空心定位销 |
5130081/1.21.193 |
2 |
||||
|
7 |
前托架 |
885143444SZ/1.21.115 |
1 |
||||
|
804C-2.30.101① |
1 |
||||||
|
SZ904.30.501② |
|||||||
|
8 |
前桥摆销后支座合件 |
5140454/1.21.139A |
1 |
||||
|
8.1 |
前桥摆销后衬套 |
5129385/1.21.195 |
1 |
||||
|
8.2 |
前桥摆销后支座 |
5140453/1.21.139 |
1 |
||||
|
9 |
油封 99×115×7.5 |
5140455/1.21.142 |
2 |
||||
|
10 |
O 形密封圈 53×5.3 |
GB/T3452.1-2000 |
1 |
① LX954 用;②装二级平衡发动机用。

|
序号 No. |
零件名称 Part |
零件代号 DrawingNo. |
数量 Qty. |
序号 No. |
零件名称 Part |
零件代号 DrawingNo. |
数量 Qty. |
|
1 |
前托架 |
MG604.30.101 |
1 |
||||
|
2 |
堵塞 |
1.48.044/590353 |
8 |
||||
|
3 |
前托架固定螺栓 |
1.26.126/5151252 |
4 |
||||
|
4 |
螺母 M16×1.5 |
10790524/10112 |
6 |
||||
|
5 |
垫圈 16×34×4.4 |
11200274/10187 |
6 |
||||
|
6 |
空心定位销 |
1.21.193/5130081 |
2 |
||||
|
7 |
前托架固定螺栓 |
LX1004.30.502 |
2 |
||||
|
8 |
螺栓 |
GB/T5785-2000 |
4 |
||||
|
M18×1.5×75-10.9- |
|||||||
|
Zn.D |

|
序号 No. |
零件名称 Part |
零件代号 DrawingNo. |
数量 Qty. |
序号 No. |
零件名称 Part |
零件代号 DrawingNo. |
数量 Qty. |
|
前桥总成 |
5142228/10 |
1 |
4 |
螺塞 M22×1.5 |
10305171/14530 |
2 |
|
|
SZ704.31.001 ① |
5 |
半轴轴承座 |
4996755/1.40.038 |
2 |
|||
|
1 |
前桥壳体合件 |
5144522/11 |
1 |
6 |
O 形密封圈80×2.62 |
4966231/1.40.023 |
1 |
|
1.1 |
前桥壳体 |
5144521/11 |
1 |
7 |
螺母 M12×1.25 |
14048814/10128 |
2 |
|
1.2 |
定位销 10×20 |
4988170/1.40.021 |
2 |
8 |
限制螺钉 |
5100194/1.40.045 |
2 |
|
1.3 |
定位销 5×15 |
4966244/1.41.016 |
1 |
M12×1.25×55 |
|||
|
1.4 |
前桥摆销 |
5140017/11 |
1 |
||||
|
2 |
前减磨环 |
5140456/1.40.032 |
1 |
||||
|
3 |
矫形截面密封圈 |
JB982-77 |
2 |
||||
|
22×28×1.5 |
注:①LX604/654 用。

|
序号 No. |
零件名称 Part |
零件代号 DrawingNo. |
数量 Qty. |
序号 No. |
零件名称 Part |
零件代号 DrawingNo. |
数量 Qty. |
|
1 |
右转向节合件 |
5142231/12 |
1 |
6 |
限位螺栓 |
5126628/1.40.211 |
2 |
|
1.1 |
转向节衬套 |
5104199/1.04.228 |
2 |
M10×1.25×30 |
|||
|
1.2 |
右转向节 |
5142232/12 |
1 |
7 |
主销球铰副 |
5119699/1.40.240 |
4 |
|
2 |
螺栓 M12×1.25×30 |
14274534/10352/04 |
12 |
8 |
密封圈 |
5121471/1.40.232 |
4 |
|
3 |
油杯 M10×1 |
GB 1152-79 |
4 |
9 |
左转向节合件 |
5142229/12 |
1 |
|
4 |
转向节主销 |
5137239/12 |
4 |
9.1 |
左转向节 |
5142230/12 |
1 |
|
5 |
调整垫片 0.10mm |
5137456/12 |
按需 |
10 |
油封 165×190×17 |
8A5137109/12 |
2 |
|
调整垫片 0.15mm |
5137457/12 |
按需 |
11 |
螺母 |
5142020/12 |
2 |
|
|
调整垫片 0.20mm |
5137458/12 |
按需 |
12 |
前轮毂轴承 |
5136951/12 |
4 |
|
|
调整垫片 0.25mm |
5137459/12 |
按需 |
95×35×20 |
||||
|
调整垫片 0.30mm |
5137460/12 |
按需 |
13 |
带定位销的前轮毂 |
8A5142014/13 |
2 |
|
|
13.1 |
前驱动轮毂 |
8A5142013/13 |
2 |
||||
|
13.2 |
定位销 12×20 |
4985063/1.21.067 |
2 |
