LOVOL TL2A354-001K Tractor Parts Catalogue 17

TE250.455A DRIVER CAB INSTALLATION ASSEMBLY
|
No. |
Part No. |
Description |
Version |
QTY. |
Remark |
|
TE250.455A |
驾驶室装配总成 |
||||
|
1 |
TE250.455A.1(2) |
DRIVER’S CAB ASSEMBLY |
1 |
||
|
1.10 |
TE250.455.18(2) |
WIRING HARNESS |
2 |
||
|
1.11 |
TE250.455.19(2) |
WIND INTER GATE |
2 |
||
|
1.12 |
TE250.455.20(2) |
WIND OUTPUT GATE |
5 |
||
|
1.13 |
TE250.455.21(2) |
HOT AIR SWITCH |
1 |
||
|
1.14 |
TE250.455.22(2) |
HEATERPIPE |
2 |
||
|
1.15 |
TE250.455.23(2) |
RUBBER WASHER |
4 |
||
|
1.16 |
TE250.455.24(2) |
HOSE |
2 |
||
|
1.17 |
TE250.455.25(2) |
INSTALLATION SEAT |
2 |
||
|
1.18 |
TE250.455.28(2) |
PROCESS HOLE COVER |
2 |
||
|
1.19 |
TE250.455.32(2) |
SIGN MARK |
1 |
||
|
1.20 |
TE250.455.33(2) |
SIGN MARK 0148 |
1 |
||
|
1.21 |
TB600.45L.1-35(2) |
BELT |
2 |
||
|
1.22 |
TB600.45L.2-06(2) |
SIDE WINDOW WASHER |
8 |
||
|
1.23 |
TB600.45L-70(2) |
RUBBER WASHER |
4 |
||
|
1.24 |
FT300.45.992(2) |
PROCESSHOLECOVER |
2 |
||
|
1.25 |
TB600.45L-68(2) |
SHADOW CURTAIN |
1 |
||
|
1.26 |
TB600.45L-29(2) |
HOOK |
2 |
||
|
1.27 |
TB600.45L.1-29(2) |
HOOK SCREW |
2 |
||
|
1.28 |
TE250.455.31(2) |
FLAT WASHER |
8 |
TE250.455A DRIVER CAB INSTALLATION ASSEMBLY (cont’d.)
|
No. |
Part No. |
Description |
Version |
QTY. |
Remark |
|
1.29 |
TE250.455.34(2) |
FLAT WASHER |
2 |
||
|
1.30 |
TE250.455.35(2) |
FLAT WASHER |
2 |
||
|
1.31 |
TB600.45L-30(2) |
UPHOLSTERY TOP BUTTON |
16 |
||
|
1.32 |
TB600.45-05(2) |
SUPPORTING PLATE ASSEMBLY |
2 |
||
|
1.33 |
TE250.455.17(2) |
SPONGE |
2 |
||
|
1.34 |
TE250.455A.1.1(2) |
DRIVER’S CAB WELDMENT ASSEMBLY |
1 |
||
|
1.35 |
TE250.455A.1.3(2) |
3-GANG PADDLE SWITCH |
1 |
||
|
1.36 |
TE250.455.29(2) |
SIDE WINDOW INTER MAT |
2 |
||
|
1.37 |
TB600.45L-54(2) |
LEFT RIGHT RUBBER BUSH |
2 |
||
|
1.38 |
TB600.45L-31 |
GLASS MAT BLOCK |
4 |
||
|
1.39 |
TE250.455-01 |
LEFT FRONT LOWER WINDOW GLASS |
1 |
||
|
1.40 |
TE250.455-02 |
RIGHT FRONT LOWER WINDOW GLASS |
1 |
||
|
1.41 |
TE250.455-04a |
FRONT WINDSHIELD |
1 |
||
|
1.42 |
TE250.455.10-01a |
RIGHT DOOR GLASS |
1 |
||
|
1.43 |
TE250.455.10-04 |
RIGHT DOOR GLASS SEAL STRIP |
1 |
||
|
1.44 |
TE250.455.6-01a |
REAR WINDOW GLASS |
1 |
||
|
1.45 |
TE250.455.6-04 |
REAR WINDOW GLASS SEAL STRIP |
1 |
||
|
1.46 |
TE250.455.7-01a |
LEFT SIDE WINDOW GLASS |
1 |
||
|
1.47 |
TE250.455.7-02 |
GLASS SEAL STRIP OF LEFT SIDE WINDOW |
1 |
||
|
1.48 |
TE250.455.8-02 |
RIGHT SIDE WINDOW GLASS SEAL STRIP |
1 |
||
|
1.49 |
TE250.455.8-01a |
RIGHT WINDOW GLASS |
1 |
TE250.455A DRIVER CAB INSTALLATION ASSEMBLY (cont’d.)
|
No. |
Part No. |
Description |
Version |
QTY. |
Remark |
|
1.50 |
TE250.455.9-01a |
LEFT DOOR GLASS |
1 |
||
|
1.51 |
TE250.455.9-02 |
SEAL STRIP OF DOOR GLASS |
1 |
||
|
2 |
TE250.453-08(2) |
DRIVER’S CAB PLUG COVER |
2 |
||
|
3 |
GBT5783-M12X30-8.8-A3L(2) |
HEXAGON BOLT |
14 |
||
|
4 |
GBT848-12-A0P(2) |
SMALL WASHER |
14 |
||
|
5 |
GBT97.1-12-A0P(2) |
FLAT WASHER |
14 |
||
|
6 |
GBT93-12-A0P(2) |
STANDARD SPRING WASHER |
14 |
||
|
7 |
GBT6170-M12-8-A3L(2) |
HEXAGON NUT, TYPE-1 |
14 |
||
|
8 |
TG1254.451-10(2) |
PROCESS HOLE COVER |
12 |
||
|
9 |
FT650.48.084(2) |
LEFT RAIL LAMP ASSEMBLY |
1 |
||
|
10 |
FT650.48.085(2) |
RIGHT RAIL LIGHT ASSEMBLY |
1 |
||
|
1.01 |
TB600.45.11(2) |
FRONT SCRAPER ASSEMBLY |
1 |
||
|
1.02 |
TB600.45L-60(2) |
REAR SCRAPER ASSEMBLY |
1 |
||
|
1.03 |
TE250.455.10a(2) |
RIGHT DOOR ASSEMBLY |
1 |
||
|
1.04 |
TE250.455.4(2) |
LEFT REAR MIRROR ASSEMBLY |
1 |
||
|
1.05 |
TE250.455.5(2) |
RIGHT REAR MIRROR ASSEMBLY |
1 |
||
|
1.06 |
TE250.455.6a(2) |
REAR WINDOW ASSEMBLY |
1 |
||
|
1.07 |
TE250.455.7a(2) |
LEFT SIDE WINDOW ASSEMBLY |
1 |
||
|
1.08 |
TE250.455.8a(2) |
RIGHT WINDOW ASSEMBLY |
1 |
TE250.455A DRIVER CAB INSTALLATION ASSEMBLY (cont’d.)
|
No. |
Part No. |
Description |
Version |
QTY. |
Remark |
|
1.09 11 |
TE250.455.9a(2) FT650.48.082(2) |
LEFT DOOR ASSEMBLY TOP LIGHT ASSEMBLY |
1 4 |
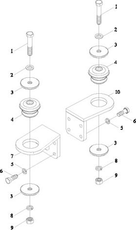
TE254.457 FRONT CONNECTING ASSEMBLY

TE254.457 FRONT CONNECTING ASSEMBLY
|
No. |
Part No. |
Description |
Version |
QTY. |
Remark |
|
1 |
GBT5783-M16X90-8.8-A2L |
HEXAGON BOLT |
2 |
||
|
2 |
GBT97.1-16-A0P |
FLAT WASHER |
2 |
||
|
3 |
TE254.457-01 |
RETAINER RING |
4 |
||
|
4 |
TE254.457.3 |
SHOCK ABSORBER |
2 |
||
|
5 |
GBT93-14-A0P |
STANDARD SPRING WASHER |
8 |
||
|
6 |
GBT5783-M14X40-8.8-A3L |
HEXAGON BOLT |
8 |
||
|
7 |
TE254.457.1 |
LEFT FRONT INSTALLATION BRACKET WELDMENT |
1 |
||
|
8 |
GBT93-16-A0P |
STANDARD SPRING WASHER |
2 |
||
|
9 |
GBT6170-M16-8-A3L |
HEXAGON NUT, TYPE-1 |
2 |
||
|
10 |
TE254.457.2 |
RIGHT FRONT INSTALLATION BRACKET WELDMENT |
1 |
TE354.458 REAR CONNECTING ASSEMBLY

TE354.458 REAR CONNECTING ASSEMBLY
|
No. |
Part No. |
Description |
Version |
QTY. |
Remark |
|
1 |
GBT5783-M16X90-8.8-A2L |
HEXAGON BOLT |
2 |
||
|
2 |
GBT97.1-16-A0P |
FLAT WASHER |
2 |
||
|
3 |
TE254.457-01 |
RETAINER RING |
4 |
||
|
4 |
TE254.457.3 |
SHOCK ABSORBER |
2 |
||
|
5 |
GBT93-12-A0P |
STANDARD SPRING WASHER |
8 |
||
|
6 |
GBT5783-M12X30-8.8-A3L |
HEXAGON BOLT |
8 |
||
|
7 |
TE354.458.1 |
LEFT REAR INSTALLATION BRACKET WELDMENT |
1 |
||
|
8 |
GBT93-16-A0P |
STANDARD SPRING WASHER |
2 |
||
|
9 |
GBT6170-M16-8-A3L |
HEXAGON NUT, TYPE-1 |
2 |
||
|
10 |
TE354.458.2 |
RIGHT REAR INSTALLATION BRACKET WELDMENT |
1 |
TE250.471C BONNET INSTALLATION ASSEMBLY

TE250.471C BONNET INSTALLATION ASSEMBLY
|
No. |
Part No. |
Description |
Version |
QTY. |
Remark |
|
1 |
GBT882-B12X50 |
PIN SHAFT |
2 |
||
|
2 |
GBT97.1-12-A0P |
WASHER |
2 |
||
|
3 |
GBT91-4X20-A0P |
PIN |
2 |
||
|
4 |
GBT5783-M10X30-8.8-A3L |
BOLT |
3 |
||
|
5 |
GBT93-10-A0P |
WASHER |
6 |
||
|
6 |
GBT97.1-10-A0P |
WASHER |
9 |
||
|
7 |
TE250.471C.1 |
HINGE WELDMENT |
1 |
||
|
8 |
TE250.471C.2 |
FIXING BRACKET WELDMENT |
1 |
||
|
9 |
GBT6170-M10-8-A3L |
NUT |
3 |
||
|
10 |
GBT5783-M10X35-8.8-A3L |
BOLT |
3 |
||
|
11 |
FT250.47C.230 |
BONNET SEAL STRIP |
1 |
||
|
12 |
GBT6170-M6-8-A2L |
NUT |
3 |
||
|
13 |
GBT93-6-A0P |
WASHER |
2 |
||
|
14 |
GBT97.1-6-A0P |
WASHER |
2 |
||
|
15 |
FT250B.47.302 |
LEFT FRONT GRID |
1 |
||
|
16 |
FT250B.47.303 |
RIGHT FRONT GRID |
1 |
||
|
17 |
TE250.471C.4 |
BONNET WELDMENT |
1 |
||
|
18 |
GBT97.1-5-A0P |
WASHER |
18 |
||
|
19 |
GBT93-5-A0P |
WASHER |
18 |
||
|
20 |
GBT6172.1-M5-A2L |
HEXAGON THIN NUT |
18 |
||
|
21 |
FT250B.47.301 |
FRONT GRID |
1 |
||
|
22 |
GBT818-M6X16-4.8-A2L |
CROSS SCREW |
2 |
