LOVOL TD1SA904-013K Tractor Parts Catalogue 30
TS06501020000 MAIN OIL TANK INSTALLATION ASSEMBLY

TS06501020000 MAIN OIL TANK INSTALLATION ASSEMBLY
|
No. |
Part No. |
Description |
Version |
QTY. |
Remark |
|
TS06501020000 |
MAIN OIL TANK INSTALLATION ASSEMBLY |
1 |
|||
|
1 |
TS06501020013 |
MAIN OIL TANK BELT WELDMENT |
2 |
||
|
2 |
GBT6170-M10-10-A3L |
HEXAGON NUT, TYPE-1 |
4 |
||
|
3 |
FT800A.50.209 |
MAIN OIL TANK BELT RUBBER STRIP |
2 |
||
|
4 |
TS06501020001 |
MAIN OIL TANK ASSEMBLY |
1 |
||
|
4.1 |
TS06501020002 |
MAIN OIL TANK WELDMENT |
1 |
||
|
4.2 |
TS09580010005 |
O-RING 13.3X2.2-M16X1.5 |
1 |
||
|
4.3 |
FT65.50.226 |
OIL DISCHARGING SCREW PLUG |
1 |
||
|
4.4 |
TD800.501A.1.1 |
OIL TANK COVER |
1 |
||
|
4.5 |
FT300.50.015 |
FILTER MESH ASSEMBLY |
1 |
||
|
4.5. 1 |
FT300.50.152 |
FILTER MESH |
1 |
||
|
4.5. 2 |
FT300.50.151 |
FILTER MESH FRAMEWORK |
1 |
||
|
4.5. 3 |
FT300.50.153 |
FILTER MESH |
1 |
||
|
4.6 |
Q67627 |
B-TYPE WORM TRANSMISSION HOSE CLAMP |
2 |
||
|
4.7 |
TD800.501A.1-01 |
BREATH RUBBER PIPE |
1 |
||
|
4.8 |
Q67405300 |
PLASTIC FASTENING STRIP |
3 |
||
|
5 |
GBT5783-M10X20-8.8-A3L |
HEXAGON BOLT |
4 |
||
|
6 |
GBT93-10-A0P |
WASHER |
4 |
||
|
7 |
GBT5783-M16X30-8.8-A3L |
HEXAGON BOLT |
2 |
||
|
8 |
GBT93-16-A0P |
WASHER |
2 |
||
|
9 |
FT800A.50.207 |
WASHER |
1 |
||
|
10 |
TS06501020004 |
MAIN OIL TANK FRONT BRACKET WELDMENT |
1 |
||
|
11 |
TD800.502-01 |
OIL TANK RUBBER WASHER |
2 |
TS06501020000 MAIN OIL TANK INSTALLATION ASSEMBLY (cont’d.)
|
No. |
Part No. |
Description |
Version |
QTY. |
Remark |
|
12 |
TD800.501-05 |
OIL TANK SHORT RUBBER GASKET |
2 |
||
|
13 |
TS06501020007 |
UPPER BRACKET WELDMENT |
1 |
||
|
14 |
TS06501020010 |
LOWER BRACKET WELDMENT |
1 |
TS06502020000 AUXILIARY OIL TANK INSTALLATION ASSEMBLY

TS06502020000 AUXILIARY OIL TANK INSTALLATION ASSEMBLY
|
No. |
Part No. |
Description |
Version |
QTY. |
Remark |
|
TS06502020000 |
AUXILIARY OIL TANK INSTALLATION ASSEMBLY |
1 |
|||
|
1 |
Q67657 |
B-TYPE WORM TRANSMISSION HOSE CLAMP |
4 |
||
|
2 |
TS06502020014 |
MAIN/ASSISTANT OIL TANK CONNECTING PIPE |
1 |
||
|
3 |
TS06502020013 |
RUBBER CONNECTING PIPE |
2 |
||
|
4 |
TS17385010002 |
BREATHER |
1 |
||
|
5 |
GBT6170-M10-8-A3L |
HEXAGON NUT, TYPE-1 |
4 |
||
|
6 |
TD800.502-02 |
AUXILIARY OIL TANK FASTENING TIE RUBBER STRIP |
2 |
||
|
7 |
TS06502020010a |
AUXILIARY OIL TANK ASSEMBLY |
1 |
||
|
7.1 |
TC03501080021 |
OIL TANK ONE-WAY VALVE ASSEMBLY |
1 |
||
|
7.2 |
FT65.50.226 |
OIL DISCHARGING SCREW PLUG |
1 |
||
|
7.3 |
TS06502020015 |
AUXILIARY OIL TANK WELDMENT |
1 |
||
|
7.4 |
TS09580010005 |
O-RING |
1 |
||
|
8 |
TD800.502-01 |
OIL TANK RUBBER WASHER |
4 |
||
|
9 |
TS06502020003 |
AUXILIARY OIL BANK BACK BRACKET WELDMENT |
1 |
||
|
10 |
GBT5789-M10X16-8.8-A3L |
HEXAGON FLANGE NUT |
4 |
||
|
11 |
TD800.502.2 |
AUXILIARY OIL TANK BRACKET WELDMENT |
1 |
||
|
12 |
TS06502020016 |
BREATH RUBBER PIPE |
1 |
||
|
13 |
TS06502010020 |
BREATH BRACKET WELDMENT |
1 |
||
|
14 |
Q67516 |
A-TYPE WORM TRANSMISSION HOSE CLAMP |
2 |
||
|
15 |
TG3S488010002 |
TIE |
2 |
||
|
16 |
GBT5789-M8X20-8.8-A2L |
HEXAGON FLANGE NUT |
2 |
||
|
17 |
TS17385010002 |
BREATHER |
1 |
TD800.503A OIL INLET/OUTLET PIPE ASSEMBLY

TD800.503A OIL INLET/OUTLET PIPE ASSEMBLY
|
No. |
Part No. |
Description |
Version |
QTY. |
Remark |
|
TD800.503A |
OIL INLET/OUTLET PIPE ASSEMBLY |
1 |
|||
|
1 |
Q67627 |
B-TYPE WORM TRANSMISSION HOSE CLAMP |
2 |
||
|
2 |
FT700.50G.121 |
OIL RETURN PIPE |
1 |
||
|
3 |
FT65.50.106 |
HOLLOW BOLT |
2 |
||
|
4 |
JBT982-14 |
COMBINED SEAL GASKET |
4 |
||
|
5 |
FT800A.50.162 |
OIL PIPE JOINT |
1 |
||
|
6 |
FT800A.50P.081 |
OIL CONVEYING PIPE ASSEMBLY |
1 |
||
|
7 |
GBT5783-M8X30-8.8-A2L |
HEXAGON BOLT |
2 |
||
|
8 |
GBT97.1-8-A0P |
FLAT WASHER |
2 |
||
|
9 |
GBT93-8-A0P |
STANDARD SPRING WASHER |
2 |
||
|
10 |
GBT6170-M8-8-A2L |
HEXAGON NUT, TYPE-1 |
2 |
||
|
11 |
TD800.503A-01 |
INSTALLATION BRACKET |
1 |
||
|
12 |
FT800A.50.061a |
FUEL FILTER ASSEMBLY |
1 |
||
|
13 |
TD800.503J.1 |
OIL CONVEYING PIPE ASSEMBLY |
1 |
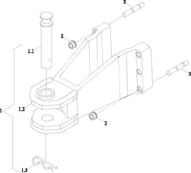
FT800.53.001 TOW MECHANISM ASSEMBLY

FT800.53.001 TOW MECHANISM ASSEMBLY
|
No. |
Part No. |
Description |
Version |
QTY. |
Remark |
|
FT800.53.001 |
TOW EQUIPMENT ASSEMBLY |
1 |
|||
|
1 |
FT800.53.010 |
TOW EQUIPMENT ASSEMBLY |
1 |
||
|
1.1 |
FT800.53.102 |
POTHOOK PIN |
1 |
||
|
1.2 |
FT800.53.101 |
TOW BRACKET |
1 |
||
|
1.3 |
FT800.53.111 |
SPRING LOCK PIN |
1 |
||
|
2 |
SPL-CO-M16-F3 |
HEXAGON NUT |
6 |
||
|
3 |
GBT899-GM16-M16X75-10.9-A3L |
DOUBLE END STUDS |
6 |
