YTO X704 Tractor Parts Catalogue Optional model 11
37 Auxiliary gearbox & central drive (optional shuttle shift & 11″ clutch)
|
No. |
Part Name |
Part No. |
Qty. |
No. |
Part Name |
Part No. |
Qty. |
|
29 |
Bolt M12×1.25×30 |
14274534/10357/04 |
12 |
||||
|
30 |
Screw M10×1.25×16 |
14359920/10356 |
1 |
||||
|
32 |
Shifting sleeve |
88512580/1.32.116 |
1 |
||||
|
33 |
Spacer, driven gear |
5128016/1.32.161 |
1 |
||||
37 Additional shuttle shift (optional, matching 11″ clutch)

37 Additional shuttle shift (optional, matching 11″ clutch)
|
No. |
Part Name |
Part No. |
Qty. |
No. |
Part Name |
Part No. |
Qty. |
|
1 |
Main clutch shaft unit with additional reducer |
5125579/1.32.308A |
1 |
15 |
Bolt M12×1.25×25 |
GB/T5786-2000 |
1 |
|
2 |
Retainer ring 65 |
GB/T894.1-1986 |
2 |
16 |
Washer, locking plate |
5117562/1.32.338A |
1 |
|
4 |
Reversing driven gear |
885121042/1.34.115 |
1 |
17 |
Washer 12 |
GB/T 854-1988 |
1 |
|
5 |
Driving shaft, additional reducer |
885121039/1.28.101B |
1 |
18 |
O-sealing ring 2.62×26.64 |
14457980/14618 |
1 |
|
6 |
Bearing cap, driven shaft |
5117552/1.28.127 |
1 |
19 |
Spacer ring (RR), driven gear |
5117560/1.32.336 |
1 |
|
7 |
Space ring (RR), driven gear |
5117560/1.32.336 |
2 |
20 |
Bearing K323826 |
GB/T5946-1986 |
1 |
|
8 |
Needle bearing K323826 |
JB/T7918-97 |
4 |
21 |
Reversing idler shaft |
5117567/1.34.104 |
1 |
|
9 |
Reversing duplex gear |
885139362/1.34.120 |
1 |
22 |
Reversing idler |
885117569/1.34.117 |
1 |
|
10 |
Retainer, needle bearing |
5137228/1.32.379 |
2 |
23 |
Spacer ring, idler |
5117570/1.34.127 |
1 |
|
11 |
Shaft, driven gear |
885117557/1.32.322 |
1 |
24 |
Retainer ring 32 |
GB/T894.1-86 |
1 |
|
12 |
Spacer ring (FR), driven gear |
5117563/1.32.339 |
1 |
||||
|
13 |
O-ring2.62×26.64 |
14618/14457980 |
1 |
||||
|
14 |
Stop washer, shaft, driven gear |
5117561/1.32.338 |
1 |
37 Additional creeper gear (optional, matching 11″ clutch)

37 Additional creeper gear (optional, matching 11″ clutch)
|
No. |
Part Name |
Part No. |
Qty. |
No. |
Part Name |
Part No. |
Qty. |
|
1 |
Shaft unit, main clutch |
5125579/1.32.308A |
1 |
11 |
Shaft, driven gear |
885117557/1.32.322 |
1 |
|
2 |
Retainer ring 65 |
GB/T894.1-1986 |
2 |
12 |
Spacer ring (FR), driven gear |
5117563/1.32.339 |
1 |
|
4 |
Sliding gear |
885121041/1.32.321 |
1 |
13 |
O-ring2.62×26.64 |
14618/14457980 |
1 |
|
5 |
Driving shaft, additional reducer |
885121039/1.28.101B |
1 |
14 |
Stop washer, shaft, driven gear |
5117561/1.32.338 |
1 |
|
6 |
Bearing cap, driven shaft |
5117552/1.28.127 |
1 |
15 |
Bolt M12×1.25×25 |
GB/T5786-2000 |
1 |
|
7 |
Space ring (RR), driven gear |
5117560/1.32.336 |
2 |
16 |
Washer, locking plate |
5117562/1.32.338A |
1 |
|
8 |
Needle bearing K323826 |
JB/T7918-97 |
2 |
17 |
Washer 12 |
GB/T 854-1988 |
1 |
|
9 |
Driven gear |
885139361/1.32.320 |
1 |
||||
|
10 |
Retainer, needle bearing |
5137228/1.32.379 |
2 |
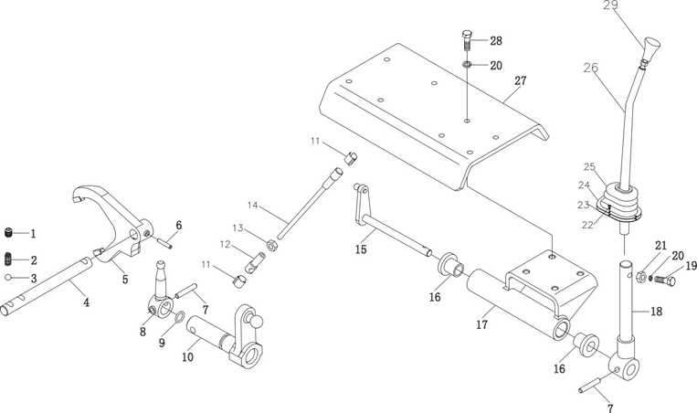
37 Additional shuttle shift or creeper gear control mechanism (optional)

37Additional shuttle shift or creeper gear control mechanism (optional)
|
No. |
Part Name |
Part No. |
Qty. |
No. |
Part Name |
Part No. |
Qty. |
|
1 |
Hexagon screw M10×1.25×15 |
SZ804.37B.509 |
1 |
16 |
Bushing, shaft, pedal, brake (RH) |
5110545/1.68.011A |
2 |
|
2 |
Spring |
884994342/1.29.031 |
1 |
17 |
Hinged support unit |
5126304/1.32.372 |
1 |
|
3 |
Steel ball 8.7312 G100b |
GB/T 308-2002 |
1 |
18 |
Extension rod unit (LWR), shift lever |
SZ804.37B.050 |
1 |
|
4 |
Slider, additional reducer |
5121674/1.32.342 |
1 |
19 |
Bolt M8×40-Zn.D |
GB/T5783-2000 |
1 |
|
5 |
Fork, additional reducer |
885121675/1.32.343 |
1 |
20 |
Washer 8 |
GB/T93-1987 |
9 |
|
6 |
Elastic cylindrical pin D=5×35 |
BZ/JHX-SZ |
1 |
21 |
Nut M8-Zn.D |
GB/T6175-2000 |
1 |
|
7 |
Elastic cylindrical pin D=8×35 |
BZ/JHX-SZ |
2 |
22 |
Tapping screw ST6.3×22-C-H |
GB/T845-1985 |
4 |
|
8 |
Shifting block |
5139275/1.32.345 |
1 |
23 |
Washer, retaining plate, dust cover |
8808087101/1.87.5 |
1 |
|
9 |
O-sealing ring 2.62×15.54 |
14457280/14618 |
1 |
24 |
Retaining plate, dust cover |
5130833/1.87.5 |
1 |
|
10 |
Rockshaft unit, control |
5139196 /1.32.362A |
1 |
25 |
Dust cover, joystick, reverser |
885132032/1.87.5 |
1 |
|
11 |
Clip 15 |
10125674-13130/03 |
2 |
26 |
Joystick weldment, reverser |
885130083-1/1.34.261C |
1 |
|
12 |
Cover, ball joint15 |
10124610-13130/01 |
2 |
27 |
Horizontal frame, side control |
5129404/1.32.370 |
1 |
|
13 |
Nut M10×1.25 |
GB/T6173-86 |
2 |
28 |
Bolt M8×20 |
GB/T5783-2000 |
8 |
|
14 |
Link unit |
5129408/1.32.385A |
1 |
29 |
Control lever, reverserl |
SZ804.37B.503① |
1 |
|
15 |
Small shaft weldment |
5139367/1.32.386A |
1 |
Handle, creeper gear |
SZ804.37F.501② |
1 |
|
|
Handle for high-speed models |
SZ804.37J.501③ |
1 |
37Gearbox assembly with synchro shuttle shift (matching 11″ clutch)

