YTO X704 Tractor Parts Catalogue Optional model 05
21 Clutch mechanism (optional 11″ clutch from Fittings Plant)
|
No. |
Part Name |
Part No. |
Qty. |
No. |
Part Name |
Part No. |
Qty. |
|
1 |
Clutch as spare part, 1lin/1lin |
5133399/1.25.000A① |
1 |
7 |
Oil seal 45×85×10 |
5144379/1.25.030 |
1 |
|
1.1 |
Driven disc assembly, main clutch |
8811V2540-3 |
1 |
8 |
Retainer ring 85 |
11062176/12246 |
1 |
|
1.2 |
Driven disc assembly, auxiliary clutch |
8811V2508 |
1 |
9 |
Bearing retainer 63×84.5×3 |
SZ804.21.702 |
1 |
|
1.3 |
Compressing disc, main clutch |
8811V2515-1 |
1 |
10 |
Bearing 6008.2RS |
GB/T276 |
1 |
|
1.4 |
Compressing disc, auxiliary clutch |
8811V2516 |
1 |
11 |
Bolt M8×95-Zn.D |
GB/T5782-2000 |
9 |
|
1.5 |
Auxiliary disengaging rod |
8811V2513A-2 |
1 |
12 |
Washer 8-Zn.D |
GB/T7244-1987 |
9 |
|
1.6 |
Main disengaging rod |
8811V2512A-1 |
1 |
13 |
Shaft, clutch, PTO |
5137585/1.25.351 |
1 |
|
2 |
Shaft unit, main clutch |
5125360/1.25.013A |
1 |
||||
|
3 |
Bearing 6209E(209) |
GB/T276 |
1 |
||||
|
4 |
Oil seal 25×31×7, shaft, main clutch |
4985295/1.28.174 |
1 |
||||
|
5 |
Retainer ring 85 |
11062176/12246 |
2 |
||||
|
6 |
Retainer ring 45 |
11069076/12245 |
2 |
Note: ① A mark CN24 can be seen on clutch housing.
21 Clutch mechanism (optional 11″ Shanghai clutch)
|
No. |
Part Name |
Part No. |
Qty. |
No. |
Part Name |
Part No. |
Qty. |
|
1 |
Shanghai clutch, 1lin/1lin |
118-00① |
1 |
5 |
Retainer ring 85 |
11062176/12246 |
2 |
|
1.1 |
Driven disc assembly, main clutch |
79-00 |
1 |
6 |
Retainer ring 45 |
11069076/12245 |
2 |
|
1.2 |
Driven disc assembly, auxiliary clutch |
80-00 |
1 |
7 |
Oil seal 45×85×10 |
5144379/1.25.030 |
1 |
|
1.3 |
Compressing disc, main clutch |
118-79 |
1 |
8 |
Retainer ring 85 |
11062176/12246 |
1 |
|
1.4 |
Compressing disc, auxiliary clutch |
118-77 |
1 |
9 |
Bearing retainer 63×84.5×3 |
SZ804.21.702 |
1 |
|
1.5 |
Lever, auxiliary disengaging rod |
118-67 |
1 |
10 |
Bearing 6008.2RS |
GB/T276 |
1 |
|
1.6 |
Lever, main disengaging rod |
118-53A-I |
1 |
11 |
Bolt M8×95-Zn.D |
GB/T5782-2000 |
12 |
|
1 |
Shanghai clutch, 1lin/1lin (Matching imported friction material) |
SZ904.21.011 |
1 |
12 |
Washer 8-Zn.D |
GB/T7244-1987 |
12 |
|
1.1 |
Driven disc assembly, main clutch |
79B-00 |
1 |
13 |
Shaft, clutch, PTO |
5137585/1.25.351 |
1 |
|
1.2 |
Driven disc assembly, auxiliary clutch |
80-00 |
1 |
||||
|
1.3 |
Compressing disc, main clutch |
118-79 |
1 |
||||
|
1.4 |
Compressing disc, auxiliary clutch |
118-77 |
1 |
||||
|
1.5 |
Lever, auxiliary disengaging rod |
118-67 |
1 |
||||
|
1.6 |
Lever, main disengaging rod |
118-53A-I |
1 |
||||
|
2 |
Shaft unit, main clutch |
5125360/1.25.013A |
1 |
||||
|
3 |
Bearing 6209E(209) |
GB/T276 |
1 |
||||
|
4 |
Oil seal 25×31×7, shaft, main clutch |
4985295/1.28.174 |
1 |
Note: ① A mark SH01 can be seen on clutch housing.
.. 31 ..
21 Clutch mechanism (optional imported 11″ LUK clutch, with shuttle shift or creeper gear)
|
No. |
Part Name |
Part No. |
Qty. |
No. |
Part Name |
Part No. |
Qty. |
|
1 |
LUK clutch, 11″ |
SZ904.21.010 |
1 |
7 |
Oil seal 45×85×10 |
5144379/1.25.030 |
1 |
|
1.1 |
Driven disc assembly, main clutch |
L-03028-0100-07 |
1 |
8 |
Retainer ring 85 |
11062176/12246 |
1 |
|
1.2 |
Driven disc assembly, auxiliary clutch |
L-03028-0836-01 |
1 |
9 |
Bearing retainer 63×84.5×3 |
SZ804.21.702 |
1 |
|
1.3 |
Compressing disc, main clutch |
L-02103-0730-60 |
1 |
10 |
Bearing 6008.2RS |
GB/T276 |
1 |
|
1.4 |
Compressing disc, auxiliary clutch |
L-02103-0729-00 |
1 |
11 |
Bolt M8×95-Zn.D |
GB/T5782-2000 |
12 |
|
1.5 |
Auxiliary disengaging rod assembly |
L-02615-0050-02 |
1 |
12 |
Washer 8-Zn.D |
GB/T7244-1987 |
12 |
|
1.6 |
Main disengaging rod assembly |
L-02615-0049-01 |
1 |
13 |
Shaft, clutch, PTO |
5137585/1.25.351 |
1 |
|
2 |
Shaft, main clutch, additional reducer |
5125579/1.32.308A |
1 |
||||
|
3 |
Bearing 6209E(209) |
GB/T276 |
1 |
||||
|
4 |
Oil seal 25×31×7, shaft, main clutch |
4985295/1.28.174 |
1 |
||||
|
5 |
Retainer ring 85 |
11062176/12246 |
2 |
||||
|
6 |
Retainer ring 45 |
11069076/12245 |
2 |
21 Clutch mechanism (11″ clutch from Fittings Plant, with shuttle shift or creeper gear)
|
No. |
Part Name |
Part No. |
Qty. |
No. |
Part Name |
Part No. |
Qty. |
|
1 |
Clutch as spare part, 1lin/1lin |
5133399/1.25.000A |
1 |
7 |
Oil seal 45×85×10 |
5144379/1.25.030 |
1 |
|
1.1 |
Driven disc assembly, main clutch |
8811V2540-3 |
1 |
8 |
Retainer ring 85 |
11062176/12246 |
1 |
|
1.2 |
Driven disc assembly, auxiliary clutch |
8811V2508 |
1 |
9 |
Bearing retainer 63×84.5×3 |
SZ804.21.702 |
1 |
|
1.3 |
Compressing disc, main clutch |
8811V2515-1 |
1 |
10 |
Bearing 6008.2RS |
GB/T276 |
1 |
|
1.4 |
Compressing disc, auxiliary clutch |
8811V2516 |
1 |
11 |
Bolt M8×95-Zn.D |
GB/T5782-2000 |
9 |
|
1.5 |
Auxiliary disengaging rod |
8811V2513A-2 |
1 |
12 |
Washer 8-Zn.D |
GB/T7244-1987 |
9 |
|
1.6 |
Main disengaging rod |
8811V2512A-1 |
1 |
13 |
Shaft, clutch, PTO |
5137585/1.25.351 |
1 |
|
2 |
Shaft, main clutch, additional reducer |
5125579/1.32.308A |
1 |
||||
|
3 |
Bearing 6209E(209) |
GB/T276 |
1 |
||||
|
4 |
Oil seal 25×31×7, shaft, main clutch |
4985295/1.28.174 |
1 |
||||
|
5 |
Retainer ring 85 |
11062176/12246 |
2 |
||||
|
6 |
Retainer ring 45 |
11069076/12245 |
2 |
.. 33 ..
21 Clutch mechanism (11″ Shanghai clutch, with shuttle shift or creeper gear)
|
No. |
Part Name |
Part No. |
Qty. |
No. |
Part Name |
Part No. |
Qty. |
|
1 |
Shanghai clutch, 1lin/1lin |
118-00 |
1 |
5 |
Retainer ring 85 |
11062176/12246 |
2 |
|
1.1 |
Driven disc assembly, main clutch |
79-00 |
1 |
6 |
Retainer ring 45 |
11069076/12245 |
2 |
|
1.2 |
Driven disc assembly, auxiliary clutch |
80-00 |
1 |
7 |
Oil seal 45×85×10 |
5144379/1.25.030 |
1 |
|
1.3 |
Compressing disc, main clutch |
118-79 |
1 |
8 |
Retainer ring 85 |
11062176/12246 |
1 |
|
1.4 |
Compressing disc, auxiliary clutch |
118-77 |
1 |
9 |
Bearing retainer 63×84.5×3 |
SZ804.21.702 |
1 |
|
1.5 |
Lever, auxiliary disengaging rod |
118-67 |
1 |
10 |
Bearing 6008.2RS |
GB/T276 |
1 |
|
1.6 |
Lever, main disengaging rod |
118-53A-I |
1 |
11 |
Bolt M8×95-Zn.D |
GB/T5782-2000 |
12 |
|
1 |
Shanghai clutch, 1lin/1lin(Matching imported friction material) |
SZ904.21.011 |
1 |
12 |
Washer 8-Zn.D |
GB/T7244-1987 |
12 |
|
1.1 |
Driven disc assembly, main clutch |
79B-00 |
1 |
13 |
Shaft, clutch, PTO |
5137585/1.25.351 |
1 |
|
1.2 |
Driven disc assembly, auxiliary clutch |
80-00 |
1 |
||||
|
1.3 |
Compressing disc, main clutch |
118-79 |
1 |
||||
|
1.4 |
Compressing disc, auxiliary clutch |
118-77 |
1 |
||||
|
1.5 |
Lever, auxiliary disengaging rod |
118-67 |
1 |
||||
|
1.6 |
Lever, main disengaging rod |
118-53A-I |
1 |
||||
|
2 |
Shaft, main clutch, additional reducer |
5125579/1.32.308A |
1 |
||||
|
3 |
Bearing 6209E(209) |
GB/T276 |
1 |
||||
|
4 |
Oil seal 25×31×7, shaft, main clutch |
4985295/1.28.174 |
1 |
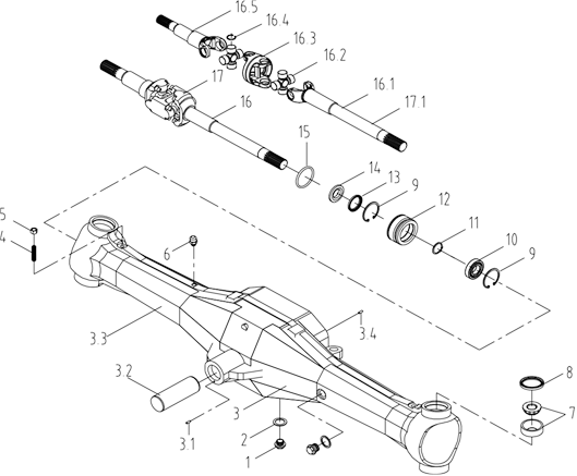
31 Front axle assembly (double cylinder, optional)

31 Front axle assembly (double cylinder, optional)
|
No. |
Part Name |
Part No. |
Qty. |
No. |
Part Name |
Part No. |
Qty. |
|
Front axle assembly |
SZ804.31B.001 |
1 |
13 |
Oil seal FB 40×62×10 |
5136002/1.41.538 |
2 |
|
|
1 |
Plug M22×1.5 |
10305114/14530 |
2 |
14 |
Collar, oil seal, half axle |
4996762/1.41.537 |
2 |
|
2 |
Composite seal washer22 |
JB 982-77 |
2 |
15 |
O-sealing ring 80×2.62 |
4966231/1.40.023 |
2 |
|
3 |
Axle housing unit |
20101010044 |
1 |
16 |
Cardan shaft assembly (RH) |
8A5142040/20 |
1 |
|
3.1 |
Dowel pin 5×15 |
4966244/1.41.016 |
1 |
16.1 |
Long fork shaft (RH) |
8A5142040-1/20 |
1 |
|
3.2 |
Rocking pin, front axle |
11/5140017 |
1 |
16.2 |
Spider |
8A5142040-4/20 |
2 |
|
3.3 |
Axle housing |
30101030013 |
1 |
16.3 |
Double fork |
8A5142040-2/20 |
1 |
|
3.4 |
Dowel pin 10×20 |
4988170/1.40.021 |
2 |
16.4 |
Retainer ring |
885142040-6/20 |
8 |
|
4 |
Limit screwM12×1.25×55 |
5100194/1.40.045 |
2 |
16.5 |
Short fork shaft |
8A5142040-3/20 |
1 |
|
5 |
Nut M12×1.25 |
14048814/10128 |
2 |
17 |
Cardan shaft assembly (LH) |
8A5142043/20 |
1 |
|
6 |
Breather plug assembly |
13413290/24628 |
1 |
17.1 |
Long fork shaft (LH) |
8A5142043-1/20 |
1 |
|
7 |
Ball pivot pair, kingpin |
5119699/1.40.240 |
4 |
||||
|
8 |
Sealing ring |
5121471/1.40.232 |
4 |
||||
|
9 |
Retainer ring 35 |
11068376/12245 |
2 |
||||
|
10 |
Bearing 6007 (35×62×14) |
GB/T 276-1994 |
2 |
||||
|
11 |
Retainer ring 62 |
11061076/12246 |
4 |
||||
|
12 |
Bearing seat, half axle |
4996755/1.40.038 |
2 |
Note: Parts except left and right long fork shafts belong to left and right universal drive shaft assemblies respectively and their quantities equal to those of individual assemblies.
