LOVOL TS6A904-011K Tractor Parts Catalogue 15
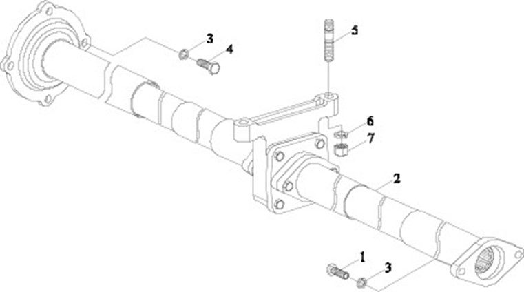
TD904.422 TRANSFER CASE TRANSMISSION SHAFT AND COVER ASSEMBLY-1

TD904.422 TRANSFER CASE TRANSMISSION SHAFT AND COVER ASSEMBLY-1
|
No. |
Part No. |
Description |
Version |
QTY. |
Remark |
|
TD904.422 |
TRANSFER CASE TRANSMISSION SHAFT AND COVER ASSEMBLY |
1 |
|||
|
1 |
GBT5783-M10X30-8.8-A3L |
HEXAGON BOLT |
2 |
||
|
2 |
TD904.422.1 |
TRANSFER CASE TRANSMISSION SHAFT AND BONNET INSTALLATION |
1 |
||
|
3 |
GBT93-10-A0P |
STANDARD SPRING WASHER |
6 |
||
|
4 |
GBT5783-M10X25-8.8-A3L |
HEXAGON BOLT |
4 |
||
|
5 |
GBT899-AM16-M16X1.5X50-8.8-A3L |
DOUBLE END STUDS |
2 |
||
|
6 |
GBT93-16-A0P |
STANDARD SPRING WASHER |
2 |
||
|
7 |
GBT6176-M16X1.5-10 |
HEXAGON NUT, TYPE-2 |
2 |
TD904.422 TRANSFER CASE TRANSMISSION SHAFT AND COVER ASSEMBLY-2

TD904.422 TRANSFER CASE TRANSMISSION SHAFT AND COVER ASSEMBLY-2
|
No. |
Part No. |
Description |
Version |
QTY. |
Remark |
|
TD904.422 |
TRANSFER CASE TRANSMISSION SHAFT AND COVER ASSEMBLY |
1 |
|||
|
TD904.422.1 |
TRANSFER CASE TRANSMISSION SHAFT AND BONNET INSTALLATION |
1 |
|||
|
1 |
FT804.42.016 |
OUTER SLEEVE WELDMENT |
1 |
||
|
2 |
FT804.42.123b |
SPLINE BUSH |
3 |
||
|
3 |
GBT879.1-3.5X40 |
SPRING COLUMN PIN |
3 |
||
|
4 |
FT804.42.130b |
FRONT TRANSMISSION SHAFT |
1 |
||
|
5 |
GBT3452.1-46.2X3.55G |
RUBBER O-SEAL RING |
4 |
||
|
6 |
FT804.42.015 |
INNER SLEEVE WELDMENT-2 |
1 |
||
|
7 |
FT804A.42.129 |
SUPPORT SEAT |
1 |
||
|
8 |
JBT7940.1-M10X1 |
STRAIGHT FORCED FILLING OIL CUP |
1 |
||
|
9 |
GBT5783-M10X30-8.8-A3L |
HEXAGON BOLT |
8 |
||
|
10 |
GBT93-10-A0P |
STANDARD SPRING WASHER |
8 |
||
|
11 |
GBT9877.1-FB30X52X7D |
SEAL RING |
2 |
||
|
12 |
FT804.42.128 |
RUBBER RING |
1 |
||
|
13 |
GBT276-6006 |
DEEP GROOVE BALL BEARING |
1 |
||
|
14 |
FT804.42.127 |
SUPPORT SEAT COVER |
1 |
||
|
15 |
FT804.42.014 |
INNER SLEEVE WELDMENT-1 |
1 |
||
|
16 |
FT804.42.125b |
MIDDLE TRANSMISSION SHAFT |
1 |
||
|
17 |
FT804.42.011 |
OUTER SLEEVE WELDMENT |
1 |
||
|
18 |
GBT879.1-6X40 |
SPRING COLUMN PIN |
3 |
||
|
19 |
TD800.311C.1-01 |
DUSTPROOF CAP OF OIL CUP |
1 |
TS06423010000 TRANSFER CASE CONTROL ASSEMBLY
TS06423010000 TRANSFER CASE CONTROL ASSEMBLY
|
No. |
Part No. |
Description |
Version |
QTY. |
Remark |
|
TS06423010000 |
TRANSFER CASE CONTROL ASSEMBLY |
1 |
|||
|
1 |
GBT879.1-5X32 |
SPRING COLUMN PIN |
2 |
||
|
2 |
GBT879.1-8X32 |
SPRING COLUMN PIN |
2 |
||
|
3 |
TS06423010012 |
TRANSFER CASE ROCKER WELDMENT |
1 |
||
|
4 |
GBT882-B10X30-A3L |
PIN SHAFT |
2 |
||
|
5 |
FT300.43.108 |
PULL ROD FRONT FORK |
2 |
||
|
6 |
GBT6170-M10-8-A3L |
HEXAGON NUT, TYPE-1 |
1 |
||
|
7 |
TS06423010007 |
PULL ROD |
1 |
||
|
8 |
GBT97.1-10-A3L |
FLAT WASHER |
2 |
||
|
9 |
GBT91-3.2X30-A0P |
SPLIT PIN |
2 |
||
|
10 |
TS06423010008 |
ROTARY SHAFT BRACKET ASSEMBLY |
1 |
||
|
11 |
TS04423010001 |
TRANSFER CASE CONTROL HANDLE |
1 |
||
|
12 |
GBT6172.1-M10-04-A3L |
HEXAGON THIN NUT |
1 |
||
|
13 |
TS06423010001 |
TRANSFER CASE CONTROL ROD WELDMENT |
1 |
||
|
14 |
GBT823-M6X12-4.8-A2L |
SCREW |
2 |
||
|
15 |
TS04423010013 |
PRESSURE PLATE |
1 |
||
|
16 |
TS04423010012 |
SEAL GASKET |
1 |
||
|
17 |
GBT93-8-A3L |
STANDARD SPRING WASHER |
4 |
||
|
18 |
GBT6170-M8-8-A2L |
HEXAGON NUT, TYPE-1 |
4 |
||
|
19 |
TS06423010005 |
ROCKER WELDMENT |
1 |
||
|
20 |
FT804.42B.160 |
SPACER BUSH |
1 |
||
|
21 |
GBT894.1-20 |
CIRCLIP FOR SHAFT |
1 |
TS06433010000 TRAVELLING BRAKE CONTROL MECHANISM ASSEMBLY-1

TS06433010000 TRAVELLING BRAKE CONTROL MECHANISM ASSEMBLY-1
|
No. |
Part No. |
Description |
Version |
QTY. |
Remark |
|
TS06433010000 |
TRAVELLING BRAKE CONTROL MECHANISM ASSEMBLY |
1 |
|||
|
1 |
TS06433010010 |
BRAKE OIL TANK ASSEMBLY |
1 |
||
|
2 |
GBT93-8-A0P |
STANDARD SPRING WASHER |
1 |
||
|
3 |
GBT5783-M8X16-8.8-A3L |
HEXAGONHEADBOLT,FULLTHREAD |
1 |
||
|
4 |
Q673B115 |
STEEL STRIP ELASTIC HOOP |
2 |
||
|
5 |
TS06433010005 |
OIL CONVEYING HOSE |
2 |
||
|
6 |
FT800.43.115 |
OIL PIPE JOINT SCREW |
4 |
||
|
7 |
JBT982-12 |
COMBINED SEAL GASKET |
8 |
||
|
8 |
GBT5783-M10X30-8.8-A3L |
HEXAGON BOLT |
3 |
||
|
9 |
GBT93-10-A0P |
STANDARD SPRING WASHER |
3 |
||
|
10 |
FT800A.43C.018 |
BRAKE PUMP ASSEMBLY |
1 |
||
|
11 |
TG1204.433-04 |
CLAMP RING |
2 |
||
|
12 |
GBT97.1-10-A0P |
FLAT WASHER |
3 |
||
|
13 |
TD800.43-01 |
PEDAL RETURN SPRING |
2 |
||
|
14 |
GBT6170-M10-8-A3L |
HEXAGON NUT, TYPE-1 |
4 |
||
|
15 |
TS06433010008 |
SUPPORT SHAFT WELDMENT |
1 |
||
|
16 |
FT800.43.103 |
ADJUSTING SCREW |
2 |
||
|
17 |
TS10433010006 |
RIGHT BRAKE ROCKER UNIT |
1 |
||
|
17.1 |
FT800A.43.065 |
BRAKE CONNECTING LOCK ROD WELDMENT |
1 |
||
|
17.2 |
TS10433010005 |
RIGHT BRAKE ROCKER WELDMENT |
1 |
||
|
17.3 |
GBT879.1-5X16 |
SPRING COLUMN PIN |
1 |
||
|
17.4 |
TG1654.212B.1-01 |
SLEEVE |
2 |
TS06433010000 TRAVELLING BRAKE CONTROL MECHANISM ASSEMBLY-1 (cont’d.)
|
No. |
Part No. |
Description |
Version |
QTY. |
Remark |
|
18 |
FT800A.43.401 |
LOCK PIN |
1 |
||
|
19 |
TS10433010004 |
LEFT BRAKE ROCKER UNIT |
1 |
||
|
19.1 |
TS10433010003 |
LEFT BRAKE ROCKER WELDMENT |
1 |
||
|
19.2 |
TG1654.212B.1-01 |
SLEEVE |
1 |
||
|
20 |
FT800.43.030 |
ADJUSTING SCREW UNIT |
2 |
||
|
20.1 |
FT800.43.103 |
ADJUSTING SCREW |
1 |
||
|
20.2 |
FT800.43.210 |
CUSHIONSLEEVE |
1 |
||
|
21 |
TF1004.433-01 |
NYLON SPACER BUSH |
4 |
||
|
22 |
GBT894.1-30 |
CIRCLIP FOR SHAFT |
1 |
||
|
23 |
JBT7940.1-M8X1 |
STRAIGHT FORCED FILLING OIL CUP |
1 |
||
|
24 |
TD800.311C.1-01 |
DUSTPROOF CAP OF OIL CUP |
1 |
TS06433010000 TRAVELLING BRAKE CONTROL MECHANISM ASSEMBLY-2

TS06433010000 TRAVELLING BRAKE CONTROL MECHANISM ASSEMBLY-2
|
No. |
Part No. |
Description |
Version |
QTY. |
Remark |
|
TS06433010000 |
TRAVELLING BRAKE CONTROL MECHANISM ASSEMBLY |
1 |
|||
|
1 |
FT800A.43C.230 |
SEAL SLEEVE |
2 |
||
|
2 |
FT800A.43C.012b |
RIGHT BRAKE SHORT OIL PIPE ASSEMBLY |
1 |
||
|
3 |
FT800A.43C.011b |
LEFT BRAKE SHORT OIL PIPE ASSEMBLY |
1 |
||
|
4 |
FT800A.43.315 |
STRAIGHT JOINT BODY |
2 |
||
|
5 |
GBT5783-M8X40-8.8-A2L |
HEXAGON BOLT |
1 |
||
|
6 |
FT800A.43C.229 |
DOUBLE-HOLE PIPE CLIP |
2 |
||
|
7 |
GBT97.1-8-A0P |
FLAT WASHER |
1 |
||
|
8 |
GBT93-8-A0P |
STANDARD SPRING WASHER |
1 |
||
|
9 |
GBT6170-M8-8-A2L |
HEXAGON NUT, TYPE-1 |
1 |
||
|
10 |
TS06433010001 |
RIGHT BRAKE LONG OIL PIPE ASSEMBLY |
1 |
||
|
11 |
TS06433010002 |
LEFT BRAKE LONG OIL PIPE ASSEMBLY |
1 |
||
|
12 |
F600190 |
CLAMP |
2 |
||
|
12.1 |
GBT6170-M8-8-A2L |
HEXAGON NUT, TYPE-1 |
1 |
||
|
12.2 |
GBT93-8-A0P |
STANDARD SPRING WASHER |
1 |
||
|
12.3 |
GBT95-8-A0P |
FLAT WASHER |
1 |
||
|
12.4 |
F600209 |
SINGLE HOLE PIPE CLAMP 2 |
2 |
||
|
12.5 |
GBT5783-M8X40-8.8-A2L |
HEXAGON BOLT |
1 |
||
|
13 |
FT800A.43.335 |
OIL PIPE LOCKING PLATE |
1 |
||
|
14 |
TS06433010009 |
OIL PIPE LOCKING PLATE |
1 |
||
|
15 |
FT800.43.015 |
BRAKE ASSEMBLY |
1 |
TS06433010000 TRAVELLING BRAKE CONTROL MECHANISM ASSEMBLY-3

TS06433010000 TRAVELLING BRAKE CONTROL MECHANISM ASSEMBLY-3
|
No. |
Part No. |
Description |
Version |
QTY. |
Remark |
|
TS06433010000 |
TRAVELLING BRAKE CONTROL MECHANISM ASSEMBLY |
1 |
|||
|
FT800.43.015 |
BRAKE ASSEMBLY |
1 |
|||
|
1 |
TD950.43.5-04 |
DEFLATION SCREW |
2 |
||
|
2 |
TD950.43.5-05 |
DUSTPROOF COVER |
2 |
||
|
3 |
GBT3452.1-10.0X1.80G |
RUBBER O-SEAL RING |
2 |
||
|
4 |
FT800.43.130 |
JOINT BODY |
2 |
||
|
5 |
JBT982-16 |
COMBINED SEAL GASKET |
2 |
||
|
6 |
FT800.43.173 |
SPRING |
12 |
||
|
7 |
FT800.43.153b |
RIGHT BRAKE CYLINDER |
1 |
||
|
8 |
JBT982-10 |
COMBINED SEAL GASKET |
2 |
||
|
9 |
TG1204.431-08 |
HEX SCREW |
2 |
||
|
10 |
FT800.43.149 |
SEAL RING |
2 |
||
|
11 |
FT800.43.150 |
O-SEAL RING |
2 |
||
|
12 |
GBT119.1-10m6X22-A0P |
COLUMN PIN |
6 |
||
|
13 |
FT800.43.151 |
BRAKE PISTON |
2 |
||
|
14 |
FT800.43.027 |
FRICTION PIECE UNIT |
2 |
||
|
15 |
FT800.43.147b |
LEFT BRAKE CYLINDER HOUSING |
1 |
TS06435010000 PARKING BRAKE CONTROL MECHANISM ASSEMBLY

