YTO LX604/LX654/LX704/LX754/LX804/LX904 Tractor Parts Catalogue 17
|
序号 No. |
零件名称 Part |
零件代号 DrawingNo. |
数量 Qty. |
序号 No. |
零件名称 Part |
零件代号 DrawingNo. |
数量 Qty. |
|
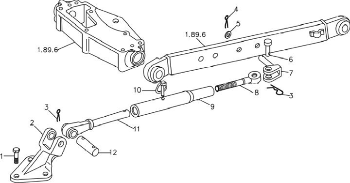
1 |
快换接头支座总成 |
SZ804.56.060 |
1 |
14 |
关节轴承 U25 |
GB 304-6 |
2 |
|
2 |
销 3.2×22 |
GB/T91-2000 |
1 |
15 |
球铰隔套 |
5116246/1.89.624A |
2 |
|
3 |
垫圈 12 |
GB/T97.1-2002 |
1 |
16 |
螺母 M10×1.25 |
SZ804.56.113 |
2 |
|
4 |
斜撑钩止动弹簧 |
5140549/1.82.067 |
1 |
17 |
下拉杆挡圈 |
5111643/1.89.657 |
2 |
|
5 |
上拉杆挂钩合件 |
SZ04.56.026 |
1 |
18 |
螺母 M10×1.25×55 |
SZ804.56.013-2 |
2 |
|
6 |
上拉杆前连接销总成 |
5120672/1.83.669 |
1 |
19 |
力调节传感轴 |
SZ804.56.114A |
1 |
|
7 |
开口销 |
4400766/1.82.945 |
7 |
20 |
O 形密封圈 15.08×2.62 |
5130456/1.89.657 |
1 |
|
8 |
上拉杆总成 |
5143960/1.89.611A |
1 |
21 |
力调节传感轴衬套 |
SZ804.56.104 |
1 |
|
8.1 |
上拉杆前螺杆总成 |
5143009/1.89.611A |
1 |
22 |
定位销 15×22 |
GB/T6170-2000 |
2 |
|
8.2 |
上拉杆调节螺管总成 |
4952515/1.89.662A |
1 |
23 |
力调节长立杆合件 |
SZ804.56.016 |
1 |
|
8.3 |
上拉杆后螺杆总成 |
5143010/1.89.663A |
1 |
24 |
挡圈 10 |
SZ804.56.038 |
2 |
|
9 |
上拉杆后销 |
822483/1.82.967 |
1 |
25 |
带球立杆 |
5119529/1.21.071 |
1 |
|
10 |
锁销总成 |
4967704/1.82.941A |
3 |
26 |
定位销 15×22 |
GB/T6173-2000 |
1 |
|
11 |
右下拉杆总成 |
85131564/1.89.605 |
2 |
27 |
滚轮销 |
5109172/1.89.635 |
2 |
|
11.1 |
下拉杆前端头 |
5111640/1.89.638 |
2 |
28 |
滚 轮 |
5109156/1.89.632 |
1 |
|
11.2 |
球头 |
5102994/1.82.961 |
2 |
29 |
力调节传感叉合件 |
885123964/1.89.627 |
1 |
|
11.3 |
下拉杆 |
5131565/1.89.636 |
2 |
29.1 |
力调节传感叉 |
885123963/1.89.627 |
1 |
|
11.4 |
下拉杆后球座 |
4997103/1.89.639 |
2 |
29.2 |
滚针轴承 14×20×12 |
5109160/1.82.536 |
2 |
|
11.5 |
球头 |
822441/1.89.961 |
2 |
30 |
六角头螺塞 M22×1.5 |
10305174/14530 |
1 |
|
12 |
弯杆 |
5116243/1.89.622 |
1 |
31 |
矩形截面密封圈 |
10263460/14607 |
1 |
|
13 |
堵塞 25 |
4997756/1.89.698 |
1 |
22×28×1.5 |
|
序号 No. |
零件名称 Part |
零件代号 DrawingNo. |
数量 Qty. |
序号 No. |
零件名称 Part |
零件代号 DrawingNo. |
数量 Qty. |
|
32 |
弯杆支座 |
124562/1.89.616 |
1 |
49 |
弯 板 |
5141301/1.89.636 |
1 |
|
33 |
螺栓 16×1.5×115 |
B5785-86 |
7 |
50 |
右提升杆总成 |
5138257/1.89.608 |
1 |
|
34 |
弯杆油封总成 |
SZ804.56.023 |
2 |
50. 01 |
右提升杆连接销 |
5141302/1.89.659 |
1 |
|
35 |
球关节轴隔套 |
5116245/1.89.623A |
2 |
50. 02 |
外套管合件 |
5141304/1.89.653 |
1 |
|
36 |
左右提升杆上连接销 22 |
5111643/1.89.657 |
2 |
50. 03 |
调节拉杆内管总成 |
5130443/1.89.652 |
1 |
|
×84 |
50. 04 |
推力球轴承 30×47×11 |
GB 301-84 |
1 |
|||
|
37 |
右提升杆手柄紧固带 |
5136887/1.89.694 |
1 |
50. 05 |
右提升杆调节杆 |
5130442/1.89.651 |
1 |
|
38 |
手柄头 |
5130460/1.89.665A |
1 |
50. 06 |
O 形密封圈 29.82×2.62 |
14458180/14618 |
1 |
|
39 |
螺栓 M6×14 |
10902124/10312 |
2 |
50. 07 |
销 5×26 |
13907470/12215 |
2 |
|
40 |
垫圈 6 |
GB/T7244-1987 |
2 |
50. 08 |
右提升杆铰链 |
885130446/1.89.652A |
1 |
|
41 |
右提升杆调节手柄 |
5130458/1.89.665 |
1 |
50. 09 |
O 形密封圈 15.54×2.62 |
14457280/14618 |
1 |
|
42 |
销 5×22 |
13907270/12215 |
1 |
50. 10 |
右提升杆主动齿轮垫圈 |
4999029/1.89.659 |
1 |
|
43 |
球轴套的球座 |
5110722/1.29118 |
2 |
50. 11 |
右提升杆主动齿轮 |
5130441/1.89.650 |
1 |
|
44 |
右提升杆调节球头 |
5130480/1.89.696 |
1 |
50. 12 |
右提升杆主连接叉总成 |
5139390/1.89.656A |
1 |
|
45 |
右提升杆调节手柄支架 |
5132741/1.89.695 |
1 |
50. 13 |
齿轮室总成 |
513939/1.89.648A |
1 |
|
46 |
垫圈 10 |
GB/T93-1987 |
2 |
50. 14 |
螺栓 M10×1.25×55 |
GB/T5785-2000 |
4 |
|
47 |
螺栓 M10×1.25×5 |
GB/T5786-2000 |
2 |
50. 15 |
黄油安全阀 |
13410911/14649 |
1 |
|
48 |
左提升杆总成 |
5123277/1.89.609A |
1 |
50. 16 |
右提升杆下连接叉总成 |
5130453/1.89.654A |
1 |
|
48.1 |
左提升杆上连接叉总成 |
5132084/1.89.656A |
1 |
||||
|
48.2 |
提升杆下连接叉总成 |
5119729/1.89.647A |
1 |
||||
|
48.3 |
直头油杯 M10×1 |
13407214/14639 |
3 |

|
序号 No. |
零件名称 Part |
零件代号 DrawingNo. |
数量 Qty. |
序号 No. |
零件名称 Part |
零件代号 DrawingNo. |
数量 Qty. |
|
限位拉杆总成 |
5123273/1.89.913 |
2 |
6 |
限位杆后销 |
5103861/1.89.956 |
2 |
|
|
1 |
螺栓 M18×1.5×50 |
GB/T5786-2000 |
6 |
7 |
限位杆固定销合件 |
5123274/1.89.958A |
2 |
|
2 |
限位杆支座 |
SZ804.56.118 |
2 |
8 |
限位杆后段 |
5103856/1.89.951 |
2 |
|
3 |
销 6.3×40-Zn |
GB/T91-2000 |
4 |
9 |
限位杆套管总成 |
5103857/1.89.952 |
2 |
|
4 |
开尾锁紧销 |
5112606/1.89.961 |
2 |
10 |
限位杆锁销总成 |
5103862/1.89.959A |
2 |
|
5 |
提升杆下销垫圈 |
562106/1.89.962A |
2 |
11 |
限位杆前段总成 |
5103858/1.89.950A |
2 |
|
28.5×45×4 |
12 |
限位杆前销 |
5125861/1.89.955 |
2 |


|
序号 No. |
零件名称 Part |
零件代号 DrawingNo. |
数量 Qty. |
序号 No. |
零件名称 Part |
零件代号 DrawingNo. |
数量 Qty. |
|
1 |
快换接头支座总成 |
ME700.56.011-1 |
1 |
12 |
下拉杆支承座合件 |
SZ804.56.020-1 |
1 |
|
2 |
销 3×25 |
GB/T 91-2000 |
1 |
13 |
螺栓 M16×1.5×45 |
GB/T 5785-2000 |
7 |
|
3 |
垫圈 12 |
GB/T 97.1-2002 |
1 |
14 |
螺栓 M10×55-Zn·D |
GB/T 5785-2000 |
2 |
|
4 |
斜撑钩止动弹簧 |
5140549/1.82.067 |
1 |
15 |
螺母 M10-Zn·D |
GB/T 889.2-86 |
2 |
|
5 |
上拉杆挂钩(运输使用) |
SZ804.56.026 |
1 |
16 |
下拉杆挡圈 |
SZ804.56.113 |
2 |
|
6 |
上拉杆前连接销总成 |
5120672/1.89.669 |
1 |
17 |
定位销 15×22 |
5119529/1.21.071 |
2 |
|
7 |
开口销 |
567406/1.89.945 |
3 |
18 |
提升杆总成 |
ME700.56.013 |
2 |
|
8 |
上拉杆总成 |
ME700.56.012 |
1 |
18.1 |
提升杆下连接叉 |
SZ804.56.038 |
2 |
|
8.1 |
上拉杆前螺杆总成 |
ME700.56.018 |
1 |
18.2 |
左右提升杆上连接销 |
5111643/1.89.657 |
2 |
|
8.2 |
上拉杆调节螺管总成 |
ME700.56.019 |
1 |
18.3 |
提升杆上连接叉 |
ME700.56.107 |
2 |
|
8.3 |
上拉杆后螺杆总成 |
ME700.56.020 |
1 |
18.4 |
螺母 M30-Zn.D |
GB 6170-2000 |
2 |
|
9 |
上拉杆后销 |
822483/1.82.967 |
1 |
18.5 |
提升杆调节螺管总成 |
ME700.56.022 |
2 |
|
10 |
锁销总成 |
4967704/1.82.941A |
1 |
||||
|
11 |
下拉杆总成 |
ME700.56.014 |
2 |

|
序号 No. |
零件名称 Part |
零件代号 DrawingNo. |
数量 Qty. |
序号 No. |
零件名称 Part |
零件代号 DrawingNo. |
数量 Qty. |
|
1 |
限位杆支座 |
SZ804.56.118 |
2 |
5.3 |
限位杆套管总成 |
ME700.56.023 |
2 |
|
2 |
螺栓M18×1.5×50-Zn.D |
GB/T 5786-2000 |
6 |
5.4 |
限位杆后销 |
885103861/1.89.956 |
2 |
|
3 |
限位杆前销 |
5125861/1.89.955 |
2 |
5.5 |
限位杆后段 |
ME700.56.112 |
2 |
|
4 |
销 6.3×40 |
GB/T 91-2000 |
4 |
5.6 |
限位杆后销合件 |
5123274/1.89.958A |
2 |
|
5 |
限位杆总成 |
ME700.56.015 |
2 |
6 |
开尾锁紧销 |
5112606/1.89.961 |
2 |
|
5.1 |
限位杆前段总成 |
5103858/1.89.950A |
2 |
7 |
提升杆下销垫圈 |
562106/1.89.962 |
2 |
|
5.2 |
限位杆锁销总成 |
5103862/1.89.959A |
2 |

|
序号 No. |
零件名称 Part |
零件代号 DrawingNo. |
数量 Qty. |
序号 No. |
零件名称 Part |
零件代号 DrawingNo. |
数量 Qty. |
|
分配器总成 |
SZ804.57B.001① |
1 |
20 |
下降速度控制阀调节旋 钮 螺母 M10×1.25 挡 圈 主控制阀总成 螺栓 M12×1.25×20 密封垫圈 12灵敏度调节销圆柱销 3×16 O 形圈 8.75×1.8 螺塞 M6 螺塞 M10 带回油阀分配器壳体合件 回油阀弹簧回油阀螺塞 下降速度控制阀调节螺 杆 O 形圈 6.9×1.8 挡 圈 |
5120798/1.82.476 |
1 |
|
|
SZ804.57. 001-1(选装)② |
|||||||
|
1 |
灵敏度调节杠杆手柄头 |
5120762/1.82.433 |
1 |
21 |
6173-86 |
1 |
|
|
2 |
定位弹簧 |
5120761/1.82.431 |
1 |
22 |
GB 5117726/1.82.454 |
2 |
|
|
3 |
钢球 7.938 |
GB 308-84 |
1 |
23 |
5117723/1.82.446A |
1 |
|
|
4 |
灵敏度调节手柄 |
5117736/1.82.438 |
1 |
24 |
14360524/10356 |
1 |
|
|
5 |
灵敏度调节螺塞 |
5120760/1.82.437 |
1 |
25 |
JB 1002-77 |
1 |
|
|
6 |
密封垫圈 22×28×1 |
JB 1002-77 |
1 |
26 |
5117735/1.82.436 |
1 |
|
|
7 |
调节手柄扇形板 |
5120763/1.82.435 |
1 |
27 |
14161770/12213 |
1 |
|
|
8 |
O 形圈 26.5×1.8 |
GB/T3452.1-2000 |
1 |
28 |
GB/T3452.1-2000 |
1 |
|
|
9 |
灵敏度控制阀 |
5117731/1.82.471A |
1 |
29 |
10269150/14545 |
3 |
|
|
10 |
挡圈 12 |
13420376/12248 |
1 |
30 |
10269350/14545 |
2 |
|
|
11 |
弹簧垫圈 |
5122030/1.2.494 |
1 |
31 |
5117743/1.82.401A |
1 |
|
|
12 |
先导阀弹簧 |
5115469/1.82.497 |
1 |
||||
|
13 |
O 形圈 30×2.65 |
GB/T3452.1-2000 |
1 |
32 |
5117729/1.82.448 |
1 |
|
|
14 |
灵敏度调节阀螺塞 |
5122029/1.82.493 |
1 |
33 |
5117734/1.82.455 |
1 |
|
|
15 |
主控制阀弹簧 |
4973361/1.82.444 |
1 |
34 |
5117741/1.82.474 |
1 |
|
|
16 |
主控制阀座 |
5117725/1.82.490 |
1 |
||||
|
17 |
O 形圈 25×1.8 |
GB/T3452.1-2000 |
1 |
35 |
GB/T3452.1-2000 |
1 |
|
|
18 |
先导阀 |
5117732/1.82.492 |
1 |
36 |
5120771/1.82.479 |
1 |
|
|
19 |
O 形密封圈 17×2.65 |
GB/T3452.1-2000 |
5 |
注: ①带灵敏度。②不带灵敏度。
|
序号 No. |
零件名称 Part |
零件代号 DrawingNo. |
数量 Qty. |
序号 No. |
零件名称 Part |
零件代号 DrawingNo. |
数量 Qty. |
|
37 |
钢球 3/16in |
GB 308-84 |
1 |
45 |
单向阀上支承 |
5148907/1.82.432 |
1 |
|
38 |
圆柱销 4×14 |
14163670/12213 |
1 |
46 |
单向阀座 |
4951476/1.82.464 |
1 |
|
39 |
下降速度控制阀 |
5120770/1.82.472 |
1 |
47 |
弹 簧 |
44018852/1.80.766 |
1 |
|
40 |
弹 簧 |
596854/1.29.641 |
1 |
48 |
单向阀下支承 |
5148905/1.82.432A |
1 |
|
41 |
安全阀总成 |
5117739/1.82.451 |
1 |
49 |
钢球 17/32in |
GB 308-84 |
1 |
|
42 |
螺栓 M8×1.25×30-Zn |
GB/T5783-2000 |
4 |
50 |
O 形圈 20×2.65 |
GB/T3452.1-2000 |
1 |
|
43 |
垫圈 8 |
GB/T7244-1987 |
4 |
51 |
挡 圈 |
4958830/1.82.429 |
1 |
|
44 |
O 形圈 20×2.65 |
GB/T3452.1-2000 |
2 |
52 |
单向阀出油接头 |
5131278/1.82.430 |
1 |


